Bed side tables
User Manual
Invacare® Accessories
Invacare® Pausa (L865), Invacare® Kauma (L872), Invacare® Baya (L870)
| L865 | L872 | L870 | |
| 10 kg | 10 kg | 10 kg |
Safety
CAUTION!
- Check that the product has been delivered in perfect condition before you use it.
- If you are unsure about usage, adjustment or maintenance of the product, contact your Invacare distributor.
- Do not exceed the maximum load, shown on the product label.
- Do not use or store the product outdoors.
- Periodically check stability and rigidity of the product and, where applicable, that the screws are tightened.
Cleaning and disinfection
- Remove any dirt or dust using a soft, damp cloth.
- Use soap and water to remove stubborn stains.
- Dry with a soft cloth.
- For disinfection in hospital environments, follow the hygiene specialist’s recommendations.
Warranty information
Terms and conditions of the warranty are part of the general terms and conditions particular to the individual countries in which this product is sold.
Contact information for your local Invacare office is located at the end of this manual.
Assembly
Invacare®Pausa (L865)

- Attach the two feet on castors A under the frame B using 2 screws.
- Insert hand screw C into the upper section of the frame B.
- Slide the square tube of the tray support D into the vertical section of the frame B, so that the tray support is located above the frame base.
- Loosen hand screw E and slide the tray F on the tray support.
- Adjust the tray to the desired inclination and tighten hand screw E.
- Adjust the height of the tray and tighten hand screw C.
Invacare®Kauma (L872)

CAUTION!
The height adjustment system is controlled by a spring.
– Follow the instructions in this paragraph carefully and in the indicated order.
- Install the rack B on the base A:
a. Insert the two large screws in the two-hole plate, and insert the two small cylinders.
b. Place this assembly below the castor base and tighten the screws through the base into the rack.
Make sure, the tray is located above the base. - Install the tray C by sliding it onto its support and fix it using two 8×15 screws.
- Install the adjustment system:
Carefully unscrew the small black screw above the red label and replace it with the small grey screw supplied with the table.
DO NOT remove the screw covered by the red label.
Adjusting the height
- To raise the tray, pull it upwards.
- To lower the tray, press the black lever.
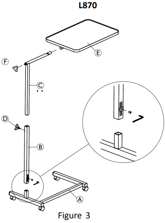
Invacare®Baya (L870)

- Install the square tube B on the base A using an Allen key.
- Instal the tray E on the tray holder tube and lock it with hand screw F.
- Slide the tray holder C into the square tube B.
Make sure, the tray is located above the base. - Adjust the height of the tray and tighten hand screw D.
This manual MUST be given to the user of the product.
BEFORE using this product, read this manual and save for future reference.
Invacare Sales Companies
| Ireland: Invacare Ireland Ltd, Unit 5 Seatown Business Campus Seatown Road, Swords, County Dublin Tel : (353) 1 810 7084 Fax: (353) 1 810 7085 [email protected] www.invacare.ie | United Kingdom: Invacare Limited Pencoed Technology Park, Pencoed Bridgend CF35 5AQ Tel: (44) (0) 1656 776 222 Fax: (44) (0) 1656 776 220 [email protected] www.invacare.co.uk |
| Danmark: Invacare A/S Sdr. Ringvej 37 DK-2605 Brøndby Tel: (45) (0)36 90 00 00 Fax: (45) (0)36 90 00 01 [email protected] www.invacare.dk | Nederland: Invacare BV Galvanistraat 14-3 NL-6716 AE Ede Tel: (31) (0)318 695 757 Fax: (31) (0)318 695 758 [email protected] www.invacare.nl |
© 2017 Invacare Corporation. All rights reserved. Republication, duplication or modification in whole or in part is prohibited without prior written permission from Invacare. Trademarks are identified by ™ and ®. All trademarks are owned by or licensed to Invacare Corporation or its subsidiaries unless otherwise noted.
Invacare Portugal, Lda
Rua Estrada Velha 949
4465-784 Leça do Balio
Portugal
Making Life’s Experiences Possible®

















