PROFI COOK PC-LW 1214 Digital Spoon Scale 
Safety Instructions
Read the operating instructions carefully before putting the appliance into operation and keep the instructions including the warranty, the receipt and, if possible, the box with the internal packing. If you give this appliance to other people, please also pass on the operating instructions.
- This appliance is meant for weighing food only. It is not suitable for weighing medication. Do not use the appliance for any other purposes.
- The appliance is not intended for commercial use.
- Keep the appliance away from heat, direct sunlight and moisture.
- Turn the appliance off when not in use, for cleaning or in case of failure.
- Do not operate a damaged appliance.
- Do not repair the appliance by yourself. Please contact authorized personel
- Do only use original parts.
- This appliance can be used by children aged from 8 years and above if they have been given supervision or instruction concerning the safe use of the appliance understand the hazards involved.
- Store the appliance out of the reach of children. Children may not play with the appliance.
- In order to ensure your children’s safety, please keep all packaging (plastic bags, boxes, polystyrene etc.) out of their reach.
WARNING:
Do not allow small children to play with the plastic foil. There is a danger of suffocation!
Handling of Batteries
WARNING:
- Do not expose batteries to excessive heat such as sunlight, fire or similar. There is a risk of explosion!
- In case of battery leakage, make sure not to rub the liquid into your eyes or mucous membranes. In case of contact, wash your hands and rinse your eyes with clear water. Seek medical attention if any discomfort persists.
CAUTION:
- Batteries can leak battery acid. If the appliance is not in use for a long period of time, remove the batteries.
- Different battery types or new and used batteries must not be used together.
- Do not dispose of batteries along with domestic waste. Return used batter-ies to the relevant collection facilities or your retailer.
- Non-rechargeable batteries are not to be recharged.
- Always insert batteries in the correct direction.
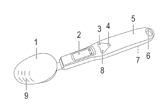
Overview of the Components
- Weighing spoon
- Display
- Button (on / off / TARE)
- Button (HOLD)
- Handle
- Suspension eye
- Battery compartment
- Button (MODE)
- Measuring scale
Insert or Replace Batteries
(Batteries not included in delivery)
- Open the battery compartment on the back of the appliance by using a suitable Phillips screwdriver.
- Insert 2 batteries 1.5 V, type LR03 / AAA. Pay attention to the correct polarity, as shown on the battery compartment.
- Close the battery compartment by replacing the cover and tightening the screw.
Usage
NOTE:
- Once “Lo” appears on the display, the batteries must be replaced.
- If the display shows “0 – Ld “, the appliance is overloaded.
- Hold the appliance horizontally and calmly in your hand.
- Switch on the appliance with the
button. All segments appear briefly on the display. Once 0.0 appears in the display, you can weigh the desired foods. - Use the
button to toggle between grams (g) and ounces (oz). - If you press the
button, the weight indication remains on the display, even if you remove the food. The word “HOLD” also appears in the display. - Press the
button if you want to weigh more food. 0.0 appears again in the display. - The appliance switches off automatically after approx. 90 seconds. To switch off the appliance manually, press and hold the
button for approx. 2 seconds.
Cleaning
CAUTION:
- Do not immerse the appliance in water.
- Do not use sharp or abrasive cleaning agents.
- Wipe the handset with a slightly damp cloth.
- You can take out the measuring spoon for cleaning. To do this, pull it off the handset and clean it in a warm rinsing bath. Let the measuring spoon dry before placing it back again.
Storage
- We recommend that you keep the appliance in its original packaging if you do not intend to use it for long periods.
- Always keep the appliance out of the reach of children in a well-ventilated and dry place.
Technical Data
Model:…………………………………………………………………………………… PC-LW 1214
Net weight:………………………………………………………………………………approx. 70 g
Max. weight load:………………………………………………………………………………. 300 g
Battery:………………………………………………….. 2 × 1.5 V, Type MICRO / AAA / LR03
The right to make technical and design modifications in the course of continuous product development remains reserved.
This appliance has been tested according to all relevant current CE guidelines, such as electromagnetic compatibility, and is manufactured according to the latest safety regulations.
Disposal
Meaning of the “Dustbin” Symbol
- Remove the batteries from the battery compartment.
- Dispose of the used batteries at the relevant collection bin or at your dealer’s. Batteries do not belong in household waste!
- Do not dispose of the appliance with household waste at the end of its service life. Bring it to an official collection point for recycling. By doing so, you help protect the environment.
PROFI COOK PC-LW 1214 Digital Spoon Scale 



















