
HTZSAFE HB 4040S Wireless Alarm

Configuration List
| Wireless Alarm Receiver | 1 piece (includes 1 power adapter) |
| Solar&Wireless Photoelectric Beam Sensor | 1 pair (includes 1 set of installation accessories) |
| English Manual | 1 piece |
Note: The alarm system has been programmed already, please operate the system according to part 3 of the manual;
If you want to add additional HTZSAFE sensors to the system, please operate the system according to part 4 of the manual or contact us directly;
After-sale Service
After-sale Service E-mail: [email protected]
System Components And Usage
Indicator Light: Will be red if power is on; Will flash if on setting mode

Speaker: Will alarm for several seconds if the sensor is triggered
Backup Battery Compartment:4 pieces of AA 1.5V batteries (can keep the wireless alarm receiver working continuously for 100 hours if AC power is off)
Power: power jack(DC5V)
ON/OFF: power switch(turn on/off the wireless alarm receiver) set button(add/delete the sensors of the wireless alarm receiver)
Tone: Choose the ring tones(total of 35 ring tones optional)
Volume: Press and hold the“ON/OFF” button first, and then press the“Tone” button to adjust the alarm volume, total 4 volume levels.
Solar & Wireless Photoelectric Beam Sensor
Bubble Level: easy to know the beams to be installed horizontally Infrared Beam: used to detect the intruder
Calibration Hole: easy to align with another beam sensor if the beams apart far away
Solar Panel: charge the battery of the beam sensor even on cloudy or rainy days
LCD Display: easy to know how well the beam sensor be aligned with each other
ON/OFF: turn on/off the solar beam sensor
Charge Jack: pull out the red plug to charge the solar beam sensor by DC5V-12V power adapter if the battery of the beam sensor goes flat Screw Hole: used to fix the installation accessories
Opration Instructions
Step 1 Charge the solar beam sensors before use
Method 1: charge the solar beam sensors with sunlight for a whole day
Method 2: pull out the red plug to charge the solar beam sensors for 4 hours by the DC5V-12Vpower adapter(the power adapter of the alarm receiver is available)please insert the red plug back to the charge jack after charging.
Step2: Turn on the Solar&Wireless Photoelectric Beams: Press the ON/OFF button 3 times(Both the transmitter and receiver)
Step 3 sure the beams are aligned with each other(bleep prompt and LCD display more than “100” means the beam sensors work properly, Please note: “100” is a reference value, different weather will get a different value and bigger value means better alignment)
Step 4 Power on the wireless alarm receiver with the power adapter
Step 5 Trigger the sensor (completely block all the 3 infrared beams with thick materials, such as books, and the wireless alarm receiver will alarm for several seconds)
Step 6 Press the “Tone” button to choose the ring tone for this sensor, there are 35 tones to choose from;
Step 7 Adjust the alarm volume. Press and hold the“ON/OFF” button first, and then press the“Tone” button to adjust the alarm volume, a total 4 volume levels adjustment.
Installation
Calibration
- Place the beam sensor at the same height.
- Ensure the beam sensor is vertical (the bubble of the horizontal pipe should be in the middle).
- Adjust the direction of the beam sensor to make them align with each other. Calibration Hole: used to find another device. LCD Display: used to know how well the beam sensor be aligned
with each other (the LCD Display will shut down in an hour). - keep prompt and LCD display more than “100” means the beam sensors work properly, Please note: “100” is a reference value, different weather will get different values and a bigger value means better alignment
- Tighten the screws to ensure the position and direction will not be moved easily.
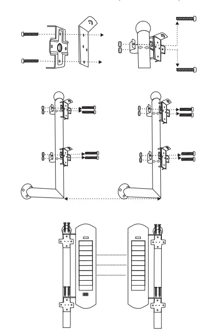
Installation method(with iron brackets)

Calibration
- Place the beam sensor at the same height.
- Ensure the beam sensor is vertical (the bubble of the horizontal pipe should be in the middle).
- Adjust the direction of the beam sensor to make them align with each other. Calibration Hole: used to find another device. LCD Display: used to know how well the beam sensor be aligned with each other (the LCD Display will shut down in an hour).
- keep prompt and LCD display more than “100” means the beam sensors work properly, Please note: “100” is a reference value, different weather will get different values and a bigger value means better alignment.
- Tighten the screws to ensure the position and direction will not be moved easily.
Step 9
Test and verify the alignment Block the infrared beams with thick materials(such as books)
- Block only the top 2 beams—No Alarm
- Block only the bottom 2 beams—No Alarm
- Block all 3 beams—Alarm The same way to test and verify another sensor
Other Settings
How to add extra sensors to the wireless alarm receiver (up to 32 sensors can be added to the receiver)
Step 1
Power on the wireless alarm receiver by the power adapter;
Step 2
Press and hold the “ON/OFF” button for 5 seconds and release the button when the indicator light flashes;
Step 3
Trigger the sensor (for example, trigger the solar& wireless photoelectric beam sensor)
Step 4
Trigger the sensor again to confirm the sensor has been added to the wireless alarm receiver already.
Step 5
Press the “Done ”button to choose the ring tone for this sensor, there are 35 tones to choose from
How to delete the sensors of the wireless alarm receiver
Step 1
Power on the wireless alarm receiver by the power adapter
Step 2
Press and hold both the “ON/OFF” button and “Tone” button for 10 seconds and release the buttons when you heard a long bleep; Note: all the sensors will be deleted by this operation;
How to adjust the alarm volume
Step 1
Power on the wireless alarm receiver by the power adapter
Step 2
Press and hold the“ON/OFF” button first, and then press the“Tone”button to adjust the alarm volume, the total 4 volume levels
How to change the ring tone for the sensors
Step 1
Power on the wireless alarm receiver by the power adapter
Step 2
Trigger the sensor first, and then press the “Tone” button to choose the ring tone for this sensor; the Same steps for other sensors have been added to the wireless alarm receiver already.
How to adjust the sensitivity of the solar beams
The sensitivity of the solar beams is divided into 2 types: 200ms(factory default) and 100ms Please follow up on the operation steps if you want to adjust the sensitivity of the beams to be 100ms
Step 1: Turn on the solar beams by pressing the ON/OFF button 3 times(both the transmitter and receiver)
Step 2: Press and hold the ON/OFF button for 10 seconds and release the button when you hear a beep prompt, and then press the ON/OFF button 6 times quickly(both the transmitter and receiver)
Note: if adjust the sensitivity of the beams back to factory default (200ms), press the ON/OFF button 5 times
Step 3: Make sure the solar beams are aligned with each other
Step 4: Press and hold the ON/OFF button for 10 seconds and release the button when you hear a beep prompt (only the receiver)
Step 5: Press the ON/OFF button 4 times(only the receiver) Step 6: Adjustment is successful when you heard 6 times bleep prompt
Technical Parameters

Wireless Alarm Receiver
Technical parameters
| Item | Technical Parameters |
| Working Voltage | DC5V |
| Working Current | Static Current 20mA; Alarming Current 300mA |
| Wireless Frequency | 433MHz FSK+FHSS |
| Backup Battery | 4 pieces AA 1.5V batteries(package is not included) |
Solar&Wireless Photoelectric Beam Sensor
| Item | Technical Parameters |
| Infrared Detection Range | 100m(300 feet) |
| Wireless Transmission Range | 1KM(3000 feet) |
| Beam Quantity | 3 |
| Wireless Frequency | 433MHz FSK+FHSS |
| Maximum Trigger Number In 24 Hours | ≤200 times |
| Working Voltage | 3.3V |
| Battery Type | Chargeable LiFePO4 Battery |
| Battery Capacity | Transmitter:500mAh,Receiver:500mAh |
| Static working Current | ≤0.5mA |
| Infrared Wavelength | 940nm±20nm |
| Solar Panel Output Current | 1800L UX illumination level: ≥2mA (Remarks: The outdoor illumination intensity on rainy days is about 2000L UX) |
| Working Temperature Range | -22°F to 158°F(-30℃ to 70℃) |
Solar & Wireless Photoelectric Beam Sensor
Wireless Alarm Receiver

















