HTZSAFE HB-T704 Wireless Alarm System User Manual
Note:
- The alarm system is pre-programmed , please proceed to part 2 of the manual for setup. (Or please search “HTZSAFE T704&805A SETUP“ on YouTube, there is a video for your reference)
- If you want to add additional HTZSAFE sensors to the system, program them according to part 3 of the manual or contact us directly. (Or please search “HTZSAFE T704 to 805A Connect “ on YouTube, there is a video for your reference)
System Components And Usage
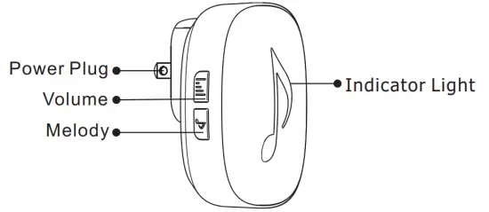
Plug-in Receiver

Power Plug:plug the receiver into an outlet
Volume: 4 adjustable volume levels
Melody: 35 optional classic melodies
Indicator Light: flashes for several seconds when the sensor is activated

Speaker: sounds for several seconds when the sensor is activated
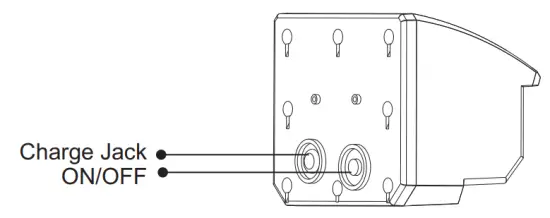
Solar Wireless Motion Sensor

Sensor Eye: detects heat movements
Solar Panel: charges the built-in battery of the sensor
Drain Hole: used to drain out the rainwater(please note the drain hole must be facing down when you install the sensor)

Charge Jack: used to connect the additional solar panel or DC 5V power adapter
ON/OFF: sensor on/off
ATTENTION PLEASE
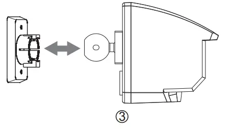
The KIT includes a USB charging cord without a AC adapter which is used to manually charge the solar sensor before use or after pro-longed low light conditions causing low battery. Please kindly connect the charging cord with your own USB plug(such as the direct USB outlet, the phone’s USB plug or computer’s USB, etc.).If needed,please charge the sensor for 4 hours with the USB charging cord as below:


Operation Instructions
Step 1
Plug the receiver into an outlet

The indicator light of the receiver will flash for 15 seconds meaning normal operation
Step 2
Turn on the Wireless Motion Sensor: Press the ON/OFF button 4 times

(bleep prompt meaning normal operation)
Step 3
Activate The Wireless Motion Sensor (wait about 30 seconds after you turn on the sensor)
1st method: press the ON/OFF button twice

(the light of the ON/OFF button will flash once meaning the motion sensor was activated and sent the wireless signal)
2nd method: Walk through in front of the sensor to acivate

(the light of the ON/OFF button will flash once meaning the motion sensor was activated and sent the wireless signal;then the motion sensor will automatically reset after a few seconds ready for next trigger)
Step 4
Press “Melody” once to choose the melody for this sensor, total 35 optional melodies.

Step 5
Same operation if you have the additional sensor,and please refer to part 3 of the manual for other settings.
Step 6
Installation
Wireless Motion Sensor


Installation Notes:

- Please fix the motion sensor tightly to ensure the position and the direction will not be moved easily by wind.

- Please point the sensor towards a open field (not towards the trees or bushes)

- please adjust the sensor a little down(never upwards)

- please point the sensor eye towards to the engine or exhaust pipe if detecting vehicles.(the working principle of the senor is detecting the movements with heat sources)
Other Settings
How to add additional sensors to the receiver
(up to 32 sensors can be added to one or multiple receivers)
Step 1
Plug the receiver into an outlet
Step 2
Press and hold the “Volume” button for 5 seconds and release the button when you hear a beep prompt and the indicator light flashes;

Step 3
Note:
Activate the sensor. please have the sensor close to the plug-in receiver when programming.

Step 4
Activate the sensor again to confirm the sensor has been added to the receiver already.
Step 5
Press”Melody”button to choose the melody for this sensor. total 35 optional melodies .
How to delete the sensors of the receiver
Step 1
Plug the receiver into an outlet
Step 2
Press and hold both the “Volume” button and “Melody” button for 10 seconds and release the buttons when you hear a long beep prompt;
Note: all the sensors will be deleted by this operation.

How to adjust the volume
Step 1
Plug the receiver into an outlet
Step 2
Press the “Volume” once to adjust the volume of the receiver. (total 4 adjustable volume levels)

How to change the melody for the sensors
(total 35 optional melodies,you can match a different melody for each sensor)
Step 1
Plug the receiver into an outlet
Step 2
Activate the sensor first,and then press the “Melody” button to choose the melody for this sensor Repeat steps for other sensors which have been added to the receiver already.
How to adjust the sensitivity of the sensor
The sensor has 3 adjustable sensitivities(Low,Medium,High)
Step 1
Turn off the sensor first
Press the ON/OFF button 3 times to turn off the sensor (it will long beep prompt)
Step 2
To select Low sensitivity—-turn on the sensor by pressing the ON/OFF button 3 times.
To select Medium sensitivity—-turn on the sensor by pressing the ON/OFF button 4 times.
To select High sensitivity—-turn on the sensor by pressing the ON/OFF button 5 times.
Technical Parameters
Plug-in Alarm Receiver

Technical parameters
| Item | Technical Parameters |
| Working Voltage | AC 110V-220V |
| Working Current | Static Current 20mA; Alarming Current 300mA |
| Wireless Frequency | 433MHz FSK+FHSS |
Wireless Motion Sensor

Technical parameters
| Item | Technical Parameters |
| Detection Range | Low sensitivity–25feet(7.5m) Mid sensitivity–30feet(9m) High sensitivity–50feet(15m) |
| Detection Angle | 15 |
| Wireless Transmission Range | 1/4 Mile(400m) |
| Wireless Frequency | 433MHz FSK+FHSS |
| Working Voltage | 3.3V |
| Battery Type | Chargeable LiFePO4 Battery |
| Battery Capacity | 500mAh |
| Working Current | Static: 1mA; Alarming:60mA |
| Solar Panel Output Current | > 100mA in Sunny days |
| Working Temperature Range | >-22°F to 158°F(-30℃ to 70℃) |
After-sale Service
Email : [email protected]






















