GODDESS RSC085GW8SFN Stainless Steel Down Freezer

SAFETY INFORMATION
- In the interest of your safety and to ensure the correct use, before installing and first using the appliance, read this user manual carefully, including its hints and warnings. To avoid unnecessary mistakes and accidents, it is important to ensure that all people using the appliance are thoroughly familiar with its operation and safety features. Save these instructions and make sure that they remain with the appliance if it is moved or sold, so that everyone using it through its life will be properly informed on appliance use and safety.
- For the safety of life and property keep the precautions of these user’s instructions as the manufacturer is not responsible for damages caused by omission.
Children and vulnerable people’s safety
- This appliance can be used by children aged from 8 years and above and persons with reduced physical, sensory or mental capabilities or lack of experience and knowledge if they have been given supervision or instruction concerning use of the appliance in a safe way and understand the hazards involved.
- Children aged from 3 to 8 years are allowed to load and unload refrigerating appliances.
- Children should be supervised to ensure that they do not play with the appliance.
- Cleaning and user maintenance shall not be made by children unless they are aged from 8 years and above and supervised.
- Keep all packaging well away from children. There is risk of suffocation.
- If you are discarding the appliance pull the plug out of the socket, cut the connection cable (as close to the appliance as you can) and remove the door to prevent playing children to suffer electric shock or to close themselves into it.
- If this appliance featuring magnetic door seals is to replace an older appliance having a spring lock (latch) on the door or lid, be sure to make that spring lack unusable before you discard the old appliance. This will prevent it from becoming a death trap for a child.
General safety
WARNING!
- Keep ventilation openings, in the appliance enclosure or in the built-in structure, clear of obstruction.
- Do not use mechanical devices or other means to accelerate the defrosting process, other than those recommended by the manufacturer.
- Do not damage the refrigerant circuit.
- Do not use other electrical appliances (such as ice cream makers) inside of refrigerating appliances, unless they are approved for this purpose by the manufacturer.
- Do not touch the light bulb if it has been on for a long period of time because it could be very hot. 1)
- When positioning the appliance, ensure the supply cord is not trapped or damaged.
WARNING!
Do not locate multiple portable socket-outlets portable power suppliers at the rear of the appliance.
- Do not store explosive substances such as aerosol cans with a flammable propellant in this appliance.
- The refrigerant isobutane (R600a) is contained within the refrigerant circuit of the appliance, a natural gas with a high level of environmental compatibility, which is nevertheless flammable.
- During transportation and installation of the appliance, be certain that none of the components of the refrigerant circuit become damaged.
- avoid open flames and sources of ignition
- thoroughly ventilate the room in which the appliance is situated
- It is dangerous to alter the specifications or modify this product in any way. Any damage to the cord may cause a short circuit, fire and/or electric shock.
- This appliance is intended to be used in household and similar applications such as:
staff kitchen areas in shops, offices and other working environments farm houses and by clients in hotels, motels and other residential type environments; bed and breakfast type environments; catering and similar non-retail applications.
WARNING!
Any electrical components(plug, power cord, compressor and etc.) must be replaced by a certified service agent or qualified service personnel. The light bulb supplied with this appliance is a “special use lamp bulb” usable only with the appliance supplied. This “special use lamp” is not usable for domestic lighting.1)
- Power cord must not be lengthened.
- Make sure that the power plug is not squashed or damaged by the back of the appliance. A squashed or damaged power plug may overheat and cause a fire.
- Make sure that you can come to the mains plug of the appliance.
- Do not pull the mains cable.
- If the power plug socket is loose, do not insert the power plug. There is a risk of electric shock or fire.
- You must not operate the appliance without the lamp.1)
- This appliance is heavy. Care should be taken when moving it.
- Do not remove nor touch items from the freezer compartment if you hands are damp/wet, as this could cause skin abrasions or frost/freezer burns.
- Avoid prolonged exposure of the appliance to direct sunlight.
Daily use
- Do not put hot on the plastic parts in the appliance.
- Do not place food products directly against the rear wall.
- Frozen food must not be re-frozen once it has been thawed out.2)
- Store pre-packed frozen food in accordance with the frozen food, manufacturer’s instructions.2)
- Appliance s manufacturer’s storage recommendations should be strictly adhered to. Refer to relevant instructions.
- Do not place carbonated of fizzy drinks in the freezer compartment as it creates pressure on the container, which may cause it to explode, resulting in damage to the appliance. 2)
- Ice lollies can cause frost burns if consumed straight from the appliance. 2)
To avoid contamination of food, please respect the following instructions:
- Opening the door for long periods can cause a significant increase of the temperature in the compartments of the appliance.
- Clean regular surfaces, that can come into contact with food and accessible drainage systems.
- Clean water tanks, if they have not been used for 48 h, flush the water system connected to a water supply, if water has not been drawn for 5 days (if they are presented in the appliance).
- Store raw meat and fish in suitable containers in the refrigerator, so that it is not in contact with or drip onto other food.
- Two-star frozen-food compartments (if they are presented in the appliance) are suitable for storing pre-frozen food, storing or makng ice cream and making ice cubes.
- One-, two- and three-star compartments (if they are presented in theAppliance) are not suitable for freezing of fresh food.
- If the refrigerating appliance is left empty for long periods, switch off, defrost, clean, dry, and leave the door open to prevent mould developing within the appliance.
Care and cleaning
- Before maintenance, switch off the appliance and disconnect the mains plug from the mains socket.
- Do not clean the appliance with metal objects.
- Do not use sharp objects to remove frost from the appliance. Use a plastic scraper. 2)
- Regularly examine the drain in the refrigerator for defrosted water. If necessary, clean the drain. If the drain is blocked, water will collect in te bottom of the appliance. 3)
- If there is a light in the compartment.
- If there is a freezer compartment.
- If there is a fresh-food storage compartment.
Installation
IMPORTANT!
For electrical connection carefully follow the instructions given in specific paragraphs.
- Unpack the appliance and check if there are damages on it. Do not connect the appliance if it is damaged. Report possible damages immediately to the place you bought it. In that case retain packing.
- It is advisable to wait at least four hours before connecting the appliance to allow the oil to flow back in the compressor.
- Adequate air circulation should be around the appliance, lacking this leads to overheating. To achieve sufficient ventilation follow the instructions relevant to installation.
- Wherever possible the spacers of the product should be against a wall to avoid touching or catching warm parts (compressor, con- denser) to prevent possible burn.
- The appliance must not be located close to radiators or cookers.
- Make sure that the mains plug is accessible after the installation of the appliance.
Service
- Any electrical work required to do the servicing of the appliance should be carried out by a qualified electrician or competent person.
- This product must be serviced by an authorized Service Center, and only genuine spare parts must be used.
Energy saving
- Don’t put hot food in the appliance;
- Don’t pack food close together as this prevents air circulating;
- Make sure food don’t touch the back of the compartment(s);
- If electricity goes off, don’t open the door(s);
- Don’t open the door(s) frequently;
- Don’t keep the door(s) open for too long time;
- Don’t set the thermostat on exceeding cold temperatures;
- All drawers, shelves and door compartments should be placed in their position for the lowest possible energy consumption.
Environment Protection
This appliance does not contain gasses that could damage the ozone layer, in either its refrigerant circuit or insulation materials. The appliance shall not be discarded together with the urban refuse and rubbish. The insulation foam contains flammable gases: the appliance shall be disposed of according to the appliance regulations obtained from your local authorities. Avoid damaging the cooling unit, especially the heat exchanger. The materials used on this appliance marked by the symbol are recyclable.
The symbol on the product or on its packaging indicates that this product may not be treated as household waste. Instead, it should be taken to the appropriate collection point for the recycling of electrical and electronic equipment. By ensuring
this product is disposed of correctly, you will help prevent potential negative consequences for the environment and human health, which could otherwise be caused by inappropriate waste handling of this product. For more detailed information about recycling of this product, please contact your local council, your household waste disposal service or the shop where you purchased the product.
Packaging materials
The materials with the symbol are recyclable. Dispose of the packaging in suitable collection containers to recycle it.
Disposal of the appliance
- Disconnect the mains plug from the mains
- Cut off the mains cable and discard
WARNING!
During using, service and disposal the appliance, please pay attention to symbols similar as the left side, which is located on the rear of the appliance (rear panel or compressor) and with yellow or orange color. It’s risk of fire warning symbol. There are flammable materials in refrigerant pipes and compressors. Please be far away fire source during using, service and disposal.
OVERVIEW

Note: Above picture is for reference only. Real appliance may be a little bit different.
REVERSE DOOR
Tool required:
Philips screwdriver, flat-bladed screwdriver, hexagonal spanner.
- Ensure the unit is unplugged and empty.
- To take the door off, it is necessary to tilt the unit backward. You should rest the unit on something solid so that it will not slip during the door reversing process.
- All parts removed must be saved to do the reinstallation of the door.
- Do not lay the unit flat as this may damage the coolant system. It’s better that 2 people handle the unit during assembly.
- Remove two screws at rear side of top cover.

- Remove top cover and place it aside.

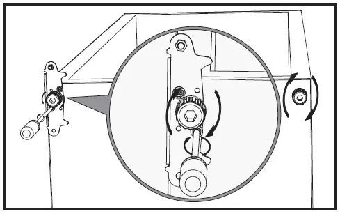
- Unscrew top hinge and then remove door and place it on a soft pad to avoid scratch.

- Unscrew bottom hinge of freezer door. Then remove the door and place it on a soft pad to avoid scratch.

- Move door holder from left side to right side.

- Move hinge hole cover from left side to right side.

- Rotate freezer door and place hinge side at left side. And then fix the door by holder.

- Unscrew bottom hinge. Then remove the adjustable feet from both side.

- Unscrew and remove the bottom hinge pin, turn the bracket over and replace it.

- Refit the bracket fitting the bottom hinge pin. Replace both adjustable feet.

- Detach the Fridge and the Freezer door gaskets and then attach them after rotating.

- Place the door back on. Ensure the door is aligned horizontally and vertically, so that the seals are closed on all sides before finally tightening the top hinge.

- Put the top cover and fix it with 2 screws on the back.

INSTALLATION
Install door external handle (if external handle is present)
Space Requirement
- Keep enough space of door open.
- Keep at least 50mm gap at two sides.

RSC085GW8SFN
| RSC085GW8SFN | ||
| A | 500 | mm |
| B | 560 | mm |
| C | 840 | mm |
| D | min=50 | mm |
| E | min=50 | mm |
| F | min=50 | mm |
| G | 855 | mm |
| H | 1110 | mm |
Leveling the unit
To do this adjust the two leveling feet at front of the unit. If the unit is not level, the doors and magnetic seal alignments will not be covered properly.
Positioning
Install this appliance at a location where the ambient temperature corresponds to the climate class indicated on the rating plate of the appliance. For refrigerating appliances with climate class:
- extended temperate: ‘this refrigerating appliance is intended to be used at ambient temperatures ranging from 10 °C to 32 °C (SN)
- temperate: ‘this refrigerating appliance is intended to be used at ambient temperatures ranging from 16 °C to 32 °C (N)
- subtropical: ‘this refrigerating appliance is intended to be used at ambient temperatures ranging from 16 °C to 38 °C (ST)
- tropical: ‘this refrigerating appliance is intended to be used at ambient temperatures ranging from 16 °C to 43 °C (T)
Location
The appliance should be installed well away from sources of heat such as radiators, boilers, direct sunlight etc. Ensure that air can circulate freely around the back of the cabinet. To ensure best performance, if the appliance is positioned below an overhanging wall unit, the minimum distance between the top of the cabi-net and the wall unit must be at least 100 mm. Ideally, however, the appliance should not be positioned below overhanging wall units. Accurate leveling is ensured by one or more adjust-able feet at the base of the cabinet. This refrigerating appliance is not intended to be used as a built-in appliance.
Electrical connection
- Before plugging in, ensure that the voltage and frequency shown on the rating plate correspond to your domestic power supply. The appliance must be earthed. The power supply cable plug is provided with a contact for this purpose. If the domestic power supply socket is not earthed, connect the appliance to a separate earth in compliance with current regulations, consulting a qualified electrician.
- The manufacturer declines all responsibility if the above safety precautions are not observed.This appliance complies with the E.E.C. Directives.
DAILY USE
First use/cleaning the interior
- Before using the appliance for the first time, wash the interior and all internal accessories with lukewarm water and some neutral soap so as to remove the typical smell of a brand new product, then dry thoroughly.
IMPORTANT!
Do not use detergents or abrasive powders, as these will damage the finish.
- Temperature Setting
- Plug on your appliance. The internal temperature is controlled by a thermostat. There are 8 settings:
- 1 is the warmest setting
- 7 is coldest setting
- 0 is off
- The appliance may not operate at the correct temperature if it is in particularly hot or if you open the door often.

Temperature setting recommendation
Impact on food storage
Storage time may be reduced if the appliance is set up differently. The best storage time in the refrigerator with the recommended setting follows:
| Food | Maximum storage time | How and where to store |
| Vegetables and fruits | 1 week | Vegetable bin |
| Meat and fish | 2-3 days | Wrap in plastic foil, bags, or in a meat container and store on the glass shelf |
| Fresh cheese | 3-4 days | On the designated door shelf |
| Butter and margarine | 1 week | On the designated door shelf |
| Bottled products e.g. milk and yoghurt | Until the expiry date recommended by the producer | On the designated door shelf |
| Eggs | 1 month | On the designated door shelf |
| Cooked food | 2 days | All shelves |
The best storage time in the freezer with the recommended setting follows:
| Meat and fish | Preparation | Maximum Storing time (month) | Thawing time in room temperature (hours) |
| Steak | Wrapping in a foil | 6-10 | 1-2 |
| Lamb meat | Wrapping in a foil | 6-8 | 1-2 |
| Veal roast | Wrapping in a foil | 6-10 | 1-2 |
| Veal cubes | In small pieces | 6-10 | 1-2 |
| Lamb cubes | In pieces | 4-8 | 2-3 |
| Minced meat | In packages without using spices | 1-3 | 2-3 |
| Giblets (pieces) | In pieces | 1-3 | 1-2 |
| Bologna sausage/ salami | Should be packaged even if it has membrane | Until thawed | |
| Chicken and turkey | Wrapping in a foil | 7-8 | 10-12 |
| Goose and Duck | Wrapping in a foil | 4-8 | 10 |
| Deer, Rabbit, Wild Boar | In 2.5 kg portions and as fillets | 9-12 | 10-12 |
| Freshwater fishes (Salmon, Carp, Crane, Siluroidea) | After cleaning the bowels and scales of the fish, wash and dry it; and if necessary, cut off the tail and head. | 2 | To the fullest thawing |
| Lean fish; bass, turbot, flounder | 4-8 | To the fullest thawing | |
| Fatty fishes (Tunny, Mackarel, bluefish, anchovy) | 2-4 | To the fullest thawing | |
| Shellfish | Cleaned and in bags | 4-6 | To the fullest thawing |
| Caviar | In its package, aluminium or plastic container | 2-3 | To the fullest thawing |
| Snails | In salty water, aluminum or plastic container | 3 | To the fullest thawing |
| Vegetables and Fruits | Preparation | Maximum Storing time (month) | Thawing time in room temperature (hours) | |
| Cauliflower | Take the leaves apart, cut the heart into pieces, and leave it in water with a little lemon juicefor a while | 10-12 | Can be used frozen | |
| String beans and beans | Wash and cut into small pieces and boil in water | 10-13 | Can be used frozen | |
| Beans, pea | Hull and wash and boil in water | 12 | Can be used frozen | |
| Mushrooms and asparagus | Wash and cut into small pieces. | 6-9 | Can be used frozen | |
| Cabbage | Cleaned and boil in water | 6-8 | 2 | |
| Eggplant | Cut to pieces of 2cm after washing | 10-12 | Separate the slices | |
| Corn | Clean and pack with its stem or as sweet corn | 12 | Can be used frozen | |
| Carrot | Clean and cut to slices and boil in water | 12 | Can be used frozen | |
| Pepper | Cut the stem, cut into two pieces, remove the core and boil in water | 8-10 | Can be used frozen | |
| Spinach | Washed and boil in water | 6-9 | 2 | |
| Apple and pear | Peel and slice | 8-10 | (in the fridge) 5 | |
| Apricot and Peach | Cut into two pieces and remove the stone | 4-6 | (in the fridge) 4 | |
| Strawberry and Blackberry | Wash and hull | 8-12 | 2 | |
| Cooked fruits | Adding 10 % of sugar in the container | 12 | 4 | |
| Plum, cherry, sourberry | Wash and hull the stems | 8-12 | 5-7 | |
| Maximum Storing time (months) | Thawing time in room temperature (hours) | Thawing time in oven (minutes) | ||
| Bread | 4-6 | 2-3 | 4-5 (220-225°C) | |
| Biscuits | 3-6 | 1-1,5 | 5-8 (190-200 °C) | |
| Pastry | 1-3 | 2-3 | 5-10 (200-225 °C) | |
| Pie | 1-1,5 | 3-4 | 5-8 (190-200 °C) | |
| Phyllo dough | 2-3 | 1-1,5 | 5-8 (190-200 °C) | |
| Pizza | 2-3 | 2-4 | 15-20 (200 °C) | |
Freezing fresh food
- The freezer compartment is suitable for freezing fresh food and storing frozen and deep-frozen food for a long time.
- Place the fresh food to be frozen in the bottom compartment (if the appliance contains more than one partition in the freezer).
- The maximum amount of food that can be frozen in 24 hours is specified on the rating plate.
Storing frozen food
- The freezer compartment is suitable for storing frozen food for a long time. When first starting-up or after a period out of use. Before putting the product in the compartment let the appliance be set in super freezing mode (if available on your appliance).
IMPORTANT!
In the event of accidental defrosting, for example the power has been off for longer than the value shown in the technical characteristics chart under “rising time” (see :“Time
of storage in case of the power interruption…), the defrosted food must be consumed quickly or cooked immediately and then re-frozen (after cooked).
Thawing
- Deep-frozen or frozen food, prior to be used, can be thawed in the freezer compartment or at room temperature, depending on the time available for this operation. Small pieces may even be cooked still frozen, directly from the freezer. In this case, cooking will take longer. This refrigerating appliance is not suitable for freezing foodstuffs.
Ice-cub
This appliance may be equipped with one or more trays for the production of ice-cubes.
Hints for storage of frozen food
To obtain the best performance from this appliance, you should:
- Make sure that the commercially frozen foodstuffs were adequately stored by the retailer;
- Be sure that frozen foodstuffs are transferred from the food store to the freezer in the shortest possible time;
- Not open the door frequently or leave it open longer than absolutely necessary.
- Once defrosted, food deteriorates rapidly and cannot be refrozen.
- Do not exceed the storage period indicated by the food manufacture.
Hints for fresh food refrigeration
To obtain the best performance:
- Do not store warm food or evaporating liquids in the refrigerator
- Do cover or wrap the food, particularly if it has a strong flavour
- Make (all types): wrap in polythene bags and place on the glass shelves above the vegetable drawer.
- For safety, store in this way only one or two days at the most.
- Cooked foods, cold dishes, etc…: these should be covered and may be placed on any shelf.
- Fruit and vegetables: these should be thoroughly cleaned and placed in the special drawer (Crisper – lower drawer in the refrigerator compartment).
Position different food in different compartments according to below table:
| Refrigerator compartments | Type of food |
| Door or balconies of fridge compartment | * Food with natural preservatives, such as jams, juices, drinks, condiments* Do not store perishable foods |
| Crisper drawer (salad drawer) | * Fruit, herbs and vegetables should be placed separately in the crisper bin* Do not store bananas, onions, potatoes, garlic in the refrigerator |
| Fridge shelf – bottom Chiller (box/drawer) | * Raw meat, poultry, fish (for short-term storage) |
| Fridge shelf – middle | * Dairy products, eggs |
| Fridge shelf – top | * Foods tha do not need cooking, such as ready-to-eat foods, deli meats, leftovers |
Recommended location of each type of food for long-term storage in different compartments of the freezer (if included in your appliance – and taking into account the actual number of drawers/shelves in the freezer):
| Refrigerator compartment | Type of food |
| Indoor freezer compartment | All frozen foods |
Accessories
- Movable shelves
- The walls of the refrigerator are equipped with a series of runners so that the shelves can be positioned as desired.

Positioning the door balconies
- To permit storage of food packages of various sizes, the door balconies can be removed. To make these adjustments proceed as follows: gradually pull the balcony in the direction of the arrows until it comes free.

Cleaning
For hygienic reasons the appliance interior, including interior accessories, should be cleaned regularly.
CAUTION!
The appliance may not be connected to the mains during cleaning. Danger of electrical shock! Before cleaning switch the appliance off and remove the plug from the mains, or switch off or turn out the circuit breaker or fuse. Never clean the appliance with a steam cleaner. Moisture could accumulate in electrical components, danger of electrical shock! Hot vapors can lead to damage of plastic parts. The appliance must be dry before it is placed back into service.
IMPORTANT!
Ethereal oils and organic solvents can attack plastic parts, e.g. lemon juice or the juice form orange peel, butyric acid, cleanser that contain acetic acid.
- Do not allow such substances to come into contact the appliance parts.
- Do not use any abrasive cleaners
- Remove the food from the freezer. Store them in a cool place, well covered.
- Switch the appliance off and remove the plug from the mains, or switch off or turn out the circuit breaker of fuse.
- Clean the appliance and the interior accessories with a cloth and lukewarm water. After cleaning wipe with fresh water and rub dry.
- After everything is dry place appliance back into service.
Clean drain hole
To avoid defrost water overflowing into the fridge, periodically clean the drain hole at back of fridge compartment. Use a cleaner to clean the hole as showed in right picture for example. Not included in the delivery of the appliance.
Replace the lamp
The internal light is a LED type. To replace the lamp, please contact qualified technician.
Defrosting of the freezer
The freezer compartment, however, will become progressively covered with frost. This should be removed. Never use sharp metal tools to scrape off frost from the evaporator as you could damage it. However, when the ice becomes very thick on the inner liner, complete defrosting should be carried out as fellows:
- Pull out the plug from the socket;
- Remove all stored food, wrap it in several layers of newspaper and put it in a cool place;
- Keep the door open, and place a basin underneath of the appliance to collect the defrost water;
- When defrosting is completed, dry the interior thoroughly
- Replace the plug in the power socket to run the appliance again.
TROUBLESHOOTING
CAUTION!
Before troubleshooting, disconnect the power supply. Only a qualified electrician of competent person must do the troubleshooting that is not in this manual.
IMPORTANT!
There are some sounds during normal use (compressor, refrigerant circulation). These sounds are not a reason for complaint!
| Problem | Possible cause | Solution |
| The appliance does not work | The temperature regulation knob is set at the number “0”. | Set the knob at another number to switch on the appliance. |
| The mains plug is not plugged in or is loose. | Insert mains plug. | |
| The fuse has blown or is defective (circuit breaker is OFF). | Check fuse, replace if necessary (switch ON the circuit breaker). | |
| Socket is defective | Mains malfunctions are to be corrected by an electrician. | |
| The food is too warm. | Temperature is not properly adjusted. | Please look in the initial Temperature Setting section. |
| Door was open for an extended period. | Open the door only as long as necessary. | |
| A large quantity of warm food was placed in the appliance within the last 24 hours. | Turn the temperature regulation to a colder setting temporarily. | |
| The appliance is near a heat source. | Please look in the installation location section. | |
| Appliance cools too much | Temperature is set too cold. | Turn the temperature regulation knob to a warmer setting temporarily. |
| Unusual noises | Appliance is not level. | Re-adjust the feet. |
| The appliance is touching the wall or other objects. | Move the appliance slightly. | |
| A component, e.g. a pipe, on the rear of the appliance is touching another part of the appliance or the wall. | If necessary, carefully bend the component out of the way. | |
| Water on the floor | Water drain hole is blocked. | See the Cleaning section. |
| Side panel is hot | Condenser is inside the panel. | It’s normal. |
| Cause | Cause Interior lighting LED flashes |
| Failure of fridge temperature sensor | 1x |
| Fridge door isn’t closed for more than 60s | 3x |
| Failure of temperature control knob | 4x |
If the malfunction shows again, contact the Service Center.
TECHNICAL DATA
- Technical information can be found on the type plate inside the appliance (or on its back side) and on the energy label.
- “Information Sheet” and “Directions for Use” can be downloaded at: www.goddess.cz.
- QR code on the energy label supplied with the appliance provides a web link to information concerning the specification of this appliance in the EU EPREL database.
- Keep the energy label together with user manual and all other documentation supplied with this appliance.
- The same information in the EPREL database can also be found at:
- https://eprel.ec.europa.eu.
- The model name (product number) can be found on the type plate of the appliance and also on the energy label supplied with the appliance.
- We reserve the right to change technical specifications.
CUSTOMER CARE AND SERVICE
- Always use original spare parts.
- When contacting our authorized service or information line, make sure you have the following information available: the model name (product number) and serial number (SN).
- This information can be found on the type plate (or on a separate label near it).
- The manufacturer reserves the right for change without prior notice.
- Original spare parts for particular selected components of the product are available at least 7 or 10 years from the launch of the last piece of the appliance on the market (depending on the type of the component).
- The manufacturer provides standard legal warranty for the appliance for a period of 24 months.
- For more information regarding service and purchase of spare parts, visit our website:
- www.etasince1943.com/support
WARNING:
DO NOT USE THIS PRODUCT NEAR WATER, IN WET AREAS TO AVOID FIRE OR INJURY OF ELECTRIC CURRENT. ALWAYS TURN OFF THE PRODUCT WHEN YOU DON’T USE IT OR BEFORE A REVISION. THERE AREN’T ANY PARTS IN THIS APPLIANCE THAT ARE REPARABLE BY THE CONSUMER. ALWAYS APPEAL TO A QUALIFIED AUTHORIZED SERVICE. THE PRODUCT IS UNDER A DANGEROUS TENSION.
Old electrical appliances, used batteries and accumulators disposal
This symbol appears on the product, on the product accessories or on the product packing means that the product must not be disposed of as household waste. When the product/ battery durability is over, please, deliver the product or battery (if it is enclosed) to the respective collection point, where the electrical appliances or batteries will be recycled. The places, where the used electrical appliances are collected, exist in the European Union and in other European countries as well. By proper disposal of the product, you can prevent possible negative impacts on the environment and human health, which might otherwise occur as a consequence of improper manipulation with the product or battery/ accumulator. Recycling of materials contributes to the protection of natural resources. Therefore, please, do not throw the old electrical appliances and batteries/ accumulators in the household waste. Information, about where it is possible to leave the old electrical appliances for free, is provided at your local authority, at the store where you have bought the product. Information, on where you can leave the batteries and accumulators for free, is provided to you at the store, at your local authority.


































![Whynter 8.3cu.ft Energy Star Digital Upright Stainless Steel Deep Freezer/refrigerator [udf-0831ss] Instruction Manual Whynter 8.3cu.ft Energy Star Digital Upright Stainless Steel Deep Freezer/refrigerator [udf-0831ss] Instruction Manual](https://static-data1.manualsee.com/1/img/326/18015/2020/12/00-90.jpg)
