cata INSB6032 60cm Induction Hot Plate

THIS APPLIANCE IS CONCEIVED FOR DOMESTIC USE ONLY. THE MANUFACTURER SHALL NOT IN ANY WAY BE HELD RESPONSIBLE FOR WHATEVER INJURIES OR DAMAGES ARE CAUSED BY INCORRECT INSTALLATION OR BY UNSUITABLE, WRONG OR ABSURD USE.
The manufacturer declares that this product meets all the essential requirements for low voltage electrical material set out in European directive 2014/35/EU and for electromagnetic compatibility as required by European directive 2014/30/EU.
PRECAUTIONS
- When the hob is in use keep all magnetizable objects away (credit cards, floppy disks, calculators and so on).
- Do not use any aluminium foil or place any foodstuffs wrapped in aluminium foil directly on the hob.
- Do not place any metal objects such as knives, forks, spoons and lids on the hob surface as they will heat up.
- When cooking in a non-stick pan without seasoning, do not exceed 1-2 minutes’ pre- heating time.
- When cooking food that may easily stick, start at a low power output level and then slowly increase while regularly stirring.
- After cooking is finished, switch off using the key provided (turn down to “0”), and do not rely on the pan sensor.
- If the surface of the hob is cracked, immediately disconnect the appliance from the mains to prevent the possibility of electric shock.
- Never use a steam cleaner to clean the hob.
- The appliance and accessible parts may be hot during operation.
- Take care to avoid touching the heating elements.
- Children less than 8 years of age should be kept at a safe distance unless continuously supervised.
- This appliance may be used by children aged 8 or over and by persons with reduced physical, sensory or mental capabilities or lack ofexperience and knowledge, if they are supervised and have received suitable instructions on safe use of the appliance and understand the dangers involved. Children must not play with the appliance. User maintenance and cleaning should not be carried out by children except under constant supervision.
- Cooking with grease or oil may be dangerous and cause a fire if left unattended. NEVER try to extinguish a fire with water. Rather, disconnect the appliance and then cover the flames with a cover or sheet, for example.
- The cooking process has to be supervised. A short term cooking process has to be supervised continuously.
- Unattended cooking on a hob with fat or oil can be dangerous and may result in a fire.
- Fire hazard: do not store elements on cooking surfaces.
- Only counter top protectors designed for use with the cooking appliance and listed in the manufacturer’s instructions should be used as suitable protection for the counter top incorporated in the appliance. Use of unsuitable protectors may cause accidents.
- Do not place or drop heavy objects on your hob.
- Do not use cookware with jagged edges. Do not drag cookware across the induction glass surface as this can scratch the glass.
- Persons with cardiac pacemakers or other electrical implants (such insulin pumps) must consult with their doctor or implant manufacturer before using this appliance to make sure that their implants will not be affected by the electromagnetic field.
- WARNING: Accessible parts will become hot when in use. To avoid burns and scalds children should be kept away.
- Insert in the fixed wiring a mean for disconnection from the supply mains having a contact separation in all poles that provide full disconnection under overvoltage category III conditions, in accordance with the wiring rules. The plug or omnipolar switch must be easily reached on the installed equipment.
- This appliance is not intended to be used via an external timer or a remote control system.
- The manufacturers decline any responsibility in the event of non-compliance with what is described above and the accident prevention norms not being respected and followed.
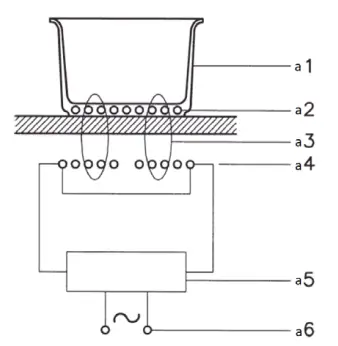
A Word on Induction Cooking (F1)

- a1 Cookware
- a2 Induced current
- a3 Magnetic field
- a4 Inductor
- a5 Electronic circuit
- a6 Electric power supply
Induction cooking is a safe, advanced, efficient, and economical cooking technology. It works by electromagnetic vibrations generating heat directly in the cookware, rather than indirectly through heating the glass surface. The glass becomes hot only because the cookware eventually warms it up. Induction cooking has the following characteristics.
- Minimal dispersion (high performance)
- Removing (or lifting) the cookware from the hob automatically stops the cooking zone.
- The electronic system permits flexibility and precision control.
Product Overview
Using your Induction Hob (F2)

- Timer
- Flexible Zone (only in some models)
- Power level slider
- Stop&GO
- ON/OFF
- Keylock / Connectivity (only in some models)
- Cooking functions
- Booster
To start cooking
- Touch the ON/OFF (5) for 3 seconds. After power on, the buzzer beeps once, all displays show “–“or “– –“, indicating that the induction hob has entered the state of standby mode.
- Place a suitable cookware on the cooking zone that you wish to use. Make sure the bottom of the cookware and the surface of the cooking zone are clean and dry.
- Set a power level between 1 and 9 by sliding along the “slider” (3) key, or just touch any point of the “slider” (3).
- If you don’t choose a power setting within 20 seconds, the induction hob will automatically switch off. You will need to start again at step 1.
You can modify the power setting at any time during cooking.
If the display flashes alternately with the power setting ![]()
This means that:
- The cookware is not placed on the correct cooking zone or,
- The cookware is not suitable for induction cooking or,
- The cookware is too small or not properly centred on the cooking zone.
No heating takes place unless there is a suitable cookware on the cooking zone.
The display will automatically turn off after 1 minute if no suitable cookware is placed on it. - When you have finished cooking
- Touch the power level slider (3) to decrease the power to “0” level.
- Beware of hot surfaces.
- Residual heat indicator
After switching off the cooking zone, the corresponding power display will indicate “H” until the temperature in the zone has dropped below the critical level. - Using the Booster (F2)
Booster function provides higher power for a maximum of 5 minutes. Thus you can get a more powerful and faster cooking. The function can work in any cooking zone. - Using the Booster to get higher power
Touch Booster key (8) of the desired cooking zone. The related power display will show “P.” and the zone will reach the maximum power.The Booster power will last for 5 minutes and then the zone will go back to the 9 power level. - Cancel the Boost function
Touch power level slider (3) to cancel the Booster function, then the cooking zone will revert to the power level that you wish. - Restrictions when using (F3)

The three zones were divided into two groups.- If you want to use Booster function, when you press the Booster key (6) the selected zone will be able to reach power level “P”. In the case where the power level of the other zone within the same group is also “P”, then the power of this zone will be automatically reduced to level 9.
- Using Cooking Functions
You can choose 3 handy cooking functions by pressing “Cooking functions” (7) each time moves from one function to the other.
Melt or defrost about 45-55 °C
Heating or keeping warm about 65-70 °C
Simmering, temperature close to boiling, useful for slow cooking (about
- Using the Pause function – Stop&Go (F2)

Pause function can be used at any time during cooking. It allows to stop the induction hob and come back to it keeping all the settings.- Make sure that the cooking zone is working.
- Touch the Stop&Go (4). All the cooking zone displays will show “=”. The operation of the induction hob will be deactivate except the Stop&Go (4), ON/OFF (5) and Keylock (6).
- To cancel the pause status, touch Stop&Go (4), then the cooking zones will go back to the power level which you set before.
- Flexible Zone function (only in some models) (F4)

- This area can be used as a single big zone or as two different zones, accordingly to the cooking needs anytime.
- The flexible zone area is made of two independent inductors that can be controlled separately. When working as a big single zone, the power level is the same in all the area. The part that is not covered by cookware will not heat.
- Important: Make sure to place the cookware centred on the single cooking zone. In case of big, oval, rectangular or elongated cookware make sure to place it centred on the big cooking zone, covering the centre of each single zone
- As a single big zone
To activate the flexible area as a single big zone, simply press the Flexible Zone key (2).- The flexible zone indicator next to the power lever indicator will be light up.
- The power setting works as any other normal area.
- If the cookware is moved from the front to the rear part (or viceversa), the flexible zone detects automatically the new position, keeping the same power.
- As two independent zones
To use the flexible zone as two different zones with different power settings, press the Flexible Zone key (2) again. - Keylock (child safety feature)
You can lock the keys to prevent unintended use (for example children accidentally turning the cooking zones on). - To lock the keys
Touch the Keylock for 3 seconds (6). The timer display will show “Lo“. - To unlock the keys
- Make sure the induction hob is turned on.
- Touch and hold the Keylock (6) for a while.
- You can now start using your induction hob.
When the hob is in the lock mode, all the keys are disabled except the ON/OFF (5) and Keylock (6). You can always turn the induction hob off with the ON/OFF (5) in an emergency, but you shall unlock the hob first in the next operation.
- Connectivity (only in some models)
This function automatically adjusts the suction power of the cooker hood according to the cooking power of the hob, at all times.
You can connect the hood to the hob only if both are prepared for it. To configure connectivity, carefully read the instruction manual supplied with the hood. - Over-Temperature Protection
A temperature sensor is monitoring the temperature inside the induction hob. When an excessive temperature is detected, the induction hob will stop operation automatically. - Detection of Small Articles
When undersized or non-magnetic cookware (e.g. aluminium), or some other small items (e.g. knife, fork, key) has been left on the hob, the hob will automatically go to standby mode in 1 minute. The fan will keep cooling down the induction hob for a further 1 minute. - Auto Shutdown Protection
Auto shut down is a safety protection function. It shuts down the cooking zone automatically if you ever forget to turn it off. The default maximum working time for each power level is shown in the table below:Power level 1~3 4~6 7~8 9 Default working timer (hour) 360 180 120 90 When the cookware is removed, the display shows the power level during 5s and then displays for 1 minute. After that it will display “
”, which means the surface of cook zone is hot. Please do not touch it. When the surface has cooled down to a safe temperature, it will display “-” for 1 minute, then the zone will automatically switch off - Using the Timer
Timer function can be used in two different ways:- You can use it as a minute minder. In this case, the timer will not turn any cooking zone off when the set time is up.
- You can set it to turn one cooking zone off after the set time is up.
You can set the timer up to 99 minutes. If the setting time exceeds 99 minutes, the timer will automatically return to 0 minutes.
- Using the Timer as a Minute Minder
- After selecting the cooking zone and the power level required (3), the dot next to power level indicator will flash for 5 seconds.
- When the dot stops flashing, touch the timer (1), you can realize the setting of timing from 1 to 99 minutes. Touch the key once if you want to increase/decrease the time by 1 minute. If you touch and hold the key, then the time will increase/decrease in steps of 10 minutes. To cancel the Timer, press both keys (1) at the same time.
- When the time is set, it will begin to count down immediately. The display will show the remaining time and the dot next to timer indicator will keep on flashing.
- Buzzer will bips and the timer indicator will turn off when the setting time finished.
- Setting the timer to turn one cooking zone off
- Select the relevant cooking zone by touching the power level slider (3) to set the power lever you required. The dot next to power level indicator will flash for 5 seconds.
- Before the dot stops flashing, touch the timer (1), you can realize the setting of timing from 1 to 99 minutes. Touch the key once if you want to increase/decrease the time by 1 minute. If you touch and hold the key, then the time will increase/decrease in steps of 10 minutes. To cancel the Timer, press both keys (1) at the same time.
- When the time is set, the timer indicator will flash for 5 seconds and the countdown will begin immediately. The display will show the remaining time.
- After that, if the indicator will keep on flashing meaning that the timer setting indicator shows the cooking zone remaining time until the timer expires; or else the indicator will keep on lighting until the timer expires.
- When cooking timer expires, the corresponding cooking zone will be automatically switched off and the display will show “H”. Other cooking zone will keep operating if they are turned on previously.
- When using “the timer as an alarm” and “the timer to switch off the zones” together, the timer setting indicator will show the remaining time of alarm as first priority. Press power level slider (3) of the cooking zone to show the remaining time of switch off timer.
- Power limitation (only in some models)
This function allows you to limit the maximum total power consumed by the hob.- Touch the ON/OFF key (5) to turn on the hob. The cooking zone displays will show «–».
- Touch the Keylock (6) and the Stop&Go (4) together for 5 seconds. The Timer display will show «5E». After 3 seconds «71» will appear, which equals 7100W. This is the power limit by default.
- Touch any of the Timer keys (1) to change the power limit. The display will show «28» for 2800W or «35» for 3500W.
- Touch the Stop&Go key (4) to validate and save the selected value.
- Hints and Tips
Problem Possible causes What to do The induction hob cannot be turned on. No power. Make sure the induction hob is connected to the power supply and that it is switched on. Check whether there is a power outage in your home or area.
If you’ve checked everything and the problem persists, call a qualified technician.
The touch keys are unresponsive. The keys are locked. Unlock the keys. See section ‘Using your induction hob for instructions. The touch keys are difficult to operate. There may be a slight film of water over the keys or you may be using the tip of your finger when touching the keys. Make sure the touch key area is dry and use the ball of your finger when touching the keys. The glass is being scratched. Rough-edged cookware. Unsuitable, abrasive scourer or cleaning products being used.
Use cookware with flat and smooth bases. See ‘Choosing the right cookware’. Some cookware make crackling or clicking noises. This may be caused by the construction of your cookware (layers of different metals vibrating differently). This is normal for cookware and does not indicate a failure. The induction hob makes a low humming noise when used on a high power level. This is caused by the technology of induction cooking. This is normal, but the noise should quieten down or disappear completely when you decrease the power level. Fan noise coming from the induction hob. A cooling fan built into your induction hob has switched on to prevent the electronics from overheating. It may continue to run even after you have turned the induction hob off. This is normal and needs no action. Do not switch off the power supply of the induction hob while the fan is running. Cookware do not become hot and the symbol appears in the display. The induction hob cannot detect the cookware because it is not suitable for induction cooking. The induction hob cannot detect the cookware because it is too small for the cooking zone or not properly centred on it.
Use cookware suitable for induction cooking. See section ‘Choosing the right cookware’. Centre the cookware and make sure that its base matches the size of the cooking zone.
- Failure Display and Inspection
If an abnormality comes up, the induction hob will enter the protective state automatically and display corresponding protective codes. These are the most common failures:Error Message
Possible causes
What to do

No cookware or cookware not suitable. Replace the cookware. ER03
Water or cookware on the glass over the control area. Clean the control area.
F1E
Connection between the display board and the left mainboard fails (the cooking zone which indicator shows “E”). 1. Connection cable not correctly plugged or defective. 2. Replace the mainboard.
F3E
Coil temperature sensor failure. (in the cooking zone which indicator shows “E”). Replace the coil sensor.
F4E
Mainboard temperature sensor failure. (in the cooking zone which indicator shows “E”). Replace the mainboard.
E1E
Temperature measured by the sensor of the ceramic glass is too high. Please restart after the hob has been cooled down. E2 E
Temperature sensor of the IGBT is too high.
Please restart after the hob has been cooled down.
E3 E
Abnormal supply voltage (too high).
Please inspect whether power supply is normal. Switch on after the power supply is normal.
E4 E
Abnormal supply voltage (too low).
Please inspect whether power supply is normal. Switch on after the power supply is normal.
E5 E
Temperature sensor failure (in the cooking zone which indicator shows E”). Connection cable not correctly plugged or the assembly is defective. Please do not disassemble the unit by yourself to avoid any dangers and damages to the induction hob.
- Choosing the right cookware (F5)

- Preferably use cookware indicated as being suitable for induction cooking.
- A magnet-attracting cookware may be suitable for induction cooking.
- Stainless steel cookware with multi-layer or ferritic stainless-steel bases if the base indicates: for induction cooking.
- If cast iron cookware is used, it should preferably have an enamel bottom to avoid scratching the ceramic hob surface.
- The following types of cookware are not suitable: glass, ceramic, earthenware,aluminium, copper or non-magnetic (austenitic) stainless steel.
- Flat and thick-bottomed cookware.
- A cookware with the same diameter as the cooking zone ensures the maximum power is used.
- A smaller cookware reduces the power but will not lead to energy loss. In any case, we do not recommend the use of cookware with a diameter of less than 10 cm.
- The cookware bottom must have a minimum diameter according to the corresponding cooking zone:
- To obtain the best efficiency of your hob, please place the cookware in the centre of the cooking zone.
- Maintenance
Pieces of aluminium foil or food, fat splashes, spilt sugar or highly sugared foodstuffs should be removed immediately from the cooking surface using a spatula to avoid scratching the hob surface.
Subsequently clean the surface with a suitable product and kitchen roll, rinse with water and dry with a clean cloth. Never use abrasive sponges or scourers and avoid the use of aggressive chemical detergents or stain removers.Installation
- Instructions for the fitter
All operations relating to installation must be carried out by qualified personnel in line with current regulations.
The appliance is designed for fitting into a worktop, as shown in the figure. Place the supplied sealant around the perimeter of the hob. The hob should not be installed over an oven, although if this is the case, check that:- The oven is equipped with an appropriate cooling system
- There is no warm-air leakage from the oven towards the hob.
- Suitable air inlets are provided as shown in the figure.
- Selection of installation equipment
- Cut out the work surface according to the sizes shown in the drawing. (F6)

- For the purpose of installation and use, a minimum of 5 cm space shall be preserved around the hole.
- Be sure the thickness of the work surface is at least 30mm.
- Under any circumstances, make sure the induction hob is well ventilated and the air inlet and outlet are not blocked. (F7)

- Stretch out the supplied installation joint along the underside edge of the hob, ensuring the ends overlap.
- Do not use adhesive to fix the hob into the worktop.
- Place the hob into the cutout in the worktop (F8). Apply gentle pressure downwards onto the hob until it is fitted, ensuring a good seal around the outer edge.

- Cut out the work surface according to the sizes shown in the drawing. (F6)
- Before you install the hob, make sure that
- The work surface is level and made of a heat-resistant material. Also the walls near the hob must be heat-resistant.
- The hob will not be installed directly above a dishwasher, fridge, freezer, washing machine or clothes dryer, as the humidity may damage the hob electronics.
- The installation will comply with all clearance requirements and applicable standards and regulations.
- When you have installed the hob, make sure that
- The power supply cable is not accessible through cupboard doors or drawers.
- If the hob is installed above a drawer or cupboard space, a thermal protection barrier is installed below the base of the hob.
- Disconnect the appliance from the mains electricity supply before carrying out any work or maintenance on it.
- Connecting the hob to the mains power supply (F9)

Wire colour code:- A) Black
- B) Brown
- C) Grey
- D) Blue
- E) Green/Yellow
- Before connecting the hob to the mains power supply, check that:
- The domestic wiring system is suitable for the power drawn by the hob.
- The voltage corresponds to the value given in the rating plate.
- The power supply cable sections can withstand the load specified on the rating plate.
- The installation is fitted with an efficient earthing connection in line with current regulations and law. The earth connection is a legal requirement.
- To connect the hob to the mains power supply, do not use adapters, reducers, or branching devices, as they can cause overheating and fire.
- Where the appliance is not supplied with a cable or plug, use suitable material for the current indicated on the rating plate and for the operating temperature. The cable must never reach a temperature of more than 50 °C above the ambient temperature.
- The power supply should be connected in compliance with the relevant standard, or a single-pole circuit breaker.
- The installer must ensure that the correct electrical connection has been made and that it is compliant with safety regulations.
- The cable must not be bent or compressed.
Importőr:
MULTIKOMPLEX BUDAPEST KFT. H-1211 Budapest
tel.: +(36-1) 427 0325, +(36-1) 427-0326; fax: +(36-1) 427 0327
www.multikomplex.hu
CATA ELECTRODOMÉSTICOS, S.L.
C. del Ter, 2 – 08570 TORELLÓ (Barcelona) SPAIN T . +34 938 594 100 – Fax +34 938 594 101
www.cnagroup.es – [email protected]
Atención al Cliente: 902 410 450 / +34 938 521 818 – [email protected] SAT Central Portugal: +351 214 349 771 – [email protected]


Simmering, temperature close to boiling, useful for slow cooking (about























