bimar VSL1320 Ceiling Fan Ceiling Fan
IMPORTANT SAFETY INSTRUCTIONS
Please read these instructions carefully before using the appliance, and instruct other persons using it, too, when necessary. Keep booklet Hndy for further use.
If when reading this instructions manual certain parts should remain difficult to understand, or if there is any confusion, contact the company indicated on the last page before using the product.
This symbol highlights instructions and precautions for safe use.
Warnings and appliance installation, use, cleaning and maintenance procedures may be updated slightly from those described in this manual; for further details, please consult the updated on-line manual at www.bimaritaly.it.
The appliance must be installed by professionally qualified personnel.
GENERAL WARNINGS
- This appliance is only intended for ventilation within domestic environments and only in the manner of installation, use and maintenance described in this manual.
- Any other use is to be considered inappropriate and therefore dangerous. The manufacturer cannot be held responsible for eventual damage caused by inappropriate, improper or irresponsible use and/or for repairs made to the product by unauthorised personnel.
- The use of any electrical appliance implies the observance of some basic rules, including: This appliance is not intended for use by persons (including children) with reduced physial, sensory or mental capabilities, or lack of experience and knowledge, unless they have been given supervision or instruction concerning use of the appliance by a person responsible for their safety. Children should be supervised to ensure that they do not play with the appliance.
This appliance is intended to be used in household and similar applications such as:- staff kitchen in shops, offices and other working environments;
- farm houses
- by clients in hotels, motels and other residential type environments
- bed and breakfast type environments
- Do not use the device at room temperatures above 40 °C.
- This appliance can be used by children aged from 8 years and above and persons with reduced physical, sensory or mental capabilities or lack of experience and knowledge if they have been given supervision or instruction concerning use of the appliance in a safe way and if they understand the hazards involved. Children shall not play with the appliance. Cleaning and user maintenance shall not be made by children without supervision.
- Do not use the appliance if it is not operating correctly or seems damaged; if in doubt, contact professionally qualified personnel.
- Periodically check the integrity of the appliance. In case of imperfections or if in doubt contact a qualified technician.
- Do not use the appliance in the presence of flammable vapors or substances (alcohol, insecticides, gasoline) or in dusty environments.
- Do not place objects on the blades or within their area of operation.
- Any changes made to the appliance or its fasteners will compromise safety and void the warranty, and will relieve the manufacturer of all responsibility.
- Caution: Do not attempt to stop the rotation of the blades under any circumstances, either with tools or with your hands.
- Caution: If the fan oscillates abnormally, turn it off and contact qualified personnel.
PRODUCT OVERVIEW


- Mounting plate
- Upper Canopy
- (L=13cm)/Downrod & hanger ball
- Lower Canopy
- Fan motor assembly
- Blade
- Receiver
- Remote control
- Screws bag Set
- Balanced parts package LEI
- (L=25cm)/Downrod
INSTALLATION
- Installation must be performed by qualified personnel.
- After removing the packing materials, check the integrity of the appliance; if you are unsure, do not use it and ask for qualified professional help. The packing materials (plastic bags, polystyrene foam, nails, etc.) must be kept out the reach of children because they are potential sources of danger, but must be disposed of in accordance with regulations in the appropriate containers for recycling.
- All packaging elements must be disposed of according to their raw material (see the symbol stamped on each one) and according to the provisions of their municipality. The bag which is unmarked due to its small size, therefore you have to follow the procedures for the disposal of their municipality.
- Before connecting the appliance, check:
- a) that the voltage values shown on the data plate correspond to those of the electricity supply network
- b) the electrical system to which the appliance will be connected must:
- Conform to current standards
- Have cables with an adequate diameter for the power consumption
- Have effective grounding and be in accordance with the applicable electrical safety standards: in case of doubt, request an accurate check from professionally qualified personnel.
- c) For installation, it is necessary to provide an omnipolar switch with a contact opening distance equal to or greater than 3mm.
- d) Ensure that the ceiling/structure to which the fan will be fixed can support a weight of 20kg, is free of bumps and is made of fireproof material. In addition, make sure that the fan’s mounting bracket can be fixed horizontally, in perfect adherence to the surface, and that the power supply wires access the fan through its central hole. Also, make sure that the environment in which it is installed is not dusty, that there are no volatile or flammable materials, and that there is at least 1m clearance to the side of the fan.
Disconnect the service power line by setting the relevant circuit breaker to “0”/(off). Make sure the service cannot be accidentally reactivated, by locking the control panel, or securely attach a warning device, such as a label, to the service panel.
- Switch off the master switch:

- Before connecting the appliance to the mains, during assembly, disassembly and before cleaning the appliance
- When a malfunction is detected
- if the appliance will be out of use for short or long periods
- before replacing the lamp (if this accessory is present)
Attention: The fan must be installed so that the blades are more than 2.3 m above the flooring level, as shown.
Attach the Mounting Bracket to the ceiling following these instructions. Before drilling into the ceiling, make sure that you do will damage any internal ductwork and that the anchoring devices do not compromise the strength of the ceiling.
To mount and fasten the appliance, proceed as follows and refer to the figures:
Wooden ceiling
Make sure the surface has been fireproofed, and that the Mounting Bracket is secured to beams, or joists.
Turn off the service power line using the circuit breaker.
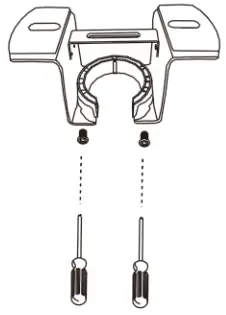
- Using the Mounting Bracket (1) as a guide, mark the points where the holes for the 4 self-tapping screws will be drilled.
- Remove the Mounting Bracket (1), drill the 4 holes (diam, 3mm), and install the bracket to the ceiling with the 4 self-tapping screws.
The screws must be tightened fully and the plate securely fastened to prevent the fan from oscillating.
Concrete ceiling
Turn off the service power line using its circuit breaker.
- Using the mounting bracket (1) as a guide, mark the diametrically opposite points where the holes for the 2 expansion plugs will be drilled.
- Remove the mounting bracket (1), drill the 2 holes (diam.8) and insert the 2 expansion plugs: use the nuts and insert the flat and elastic washers for fixing. The nuts must be tightened fully and the plate securely fastened to prevent the fan from oscillating.

![]() Remove the cotter pin and pin from the rod. | ![]() Unscrew the two safety fixing screws from the rod holder. | ![]() Slide the support downwards from the rod | ![]() Remove the pin from the rod. |
![]() Use the chosen 13cm or 25cm rod. | ![]() Thread the rod support (if previously removed or not present) so that it is positioned on the top flap (end three holes), then the top cap (2) and bottom cap (4); insert the electrical leads through the rod cavity. The wires should be inserted from the bottom upwards. Make sure no wires are on the outside. | |
![]() Insert the pin through the hole at the top end of the rod and secure it with the two screws. | ||
![]() Loosen the two screws from the motor body. | Insert the rod (the rod holder must be at the top) onto the motor body at the upper end, so that the holes are coaxial, and insert the appropriate pin, then secure it using the cotter pin (which must be inserted in such a way as to prevent both pin and cotter pin from slipping out). Then lock the rod by tightening the two safety screws. | |
![]() Lower the bottom cap all the way down. | ![]() Loosen the two screws securing the top cap. |
![]() Insert the semi-spherical end of the rod into the bracket through the space provided: align the notch on the bracket with the corresponding slot in the semi- spherical end, and check that the electrical wires (both of the rod and of the mounting bracket) are positioned so as not to obstruct operation. | |


Establish the electrical connections according to the indications given in the connection diagram. Use the terminal block on the mounting plate for cable connections, observing polarity. Connect all yellow/green ground wires to the ground wire from the house line. Make sure that no wires are outside the terminal block.
Carefully push the wires into the box and insert the receiver, including the antenna cable.
The layout has a 0-I switch on the wall, which turns the power on or off.
Lift up the cap, align the keyhole slots with the mounting bracket screws (1) and turn anticlockwise until locked. Check that the fan is securely fastened to the ceiling before attempting to switch it on.
Assembly – fastening the blades
Install the blade according to the high-low indication (see label) and align the holes with the screws with their washers, then tighten. to ensure they are locked.
Repeat this operation for each blade.
Use
TO OPERATE THE FAN, FIRST SET THE WALL SWITCH TO POSITION ” I ” (ON).
Fan functions are controlled and adjusted with the included remote control or the app via smartphone or voice assistant (compatible with Amazon Alexa and Google Assistant).
Remote control
Insert 2 AAA batteries (not included) into the remote control: open the rear cover, insert the batteries respecting the indicated polarity and in such a way that the electrical contacts are in contact, then close the cover (the batteries must be new, with the same level of charge: for long periods of inactivity, remove the batteries).
Point the remote control at the fan (max. distance 4 metres, and there should be no obstructions in between): at each selection, the green light comes on and a “beep” sounds.
The functions and adjustments are as follows:
①, ②, …⑥ Intensity. The buttons adjust the ventilation (6 intensities): 1= minimum speed , 6= maximum speed.
Mode: The fan starts in normal mode when switched on, i.e. ventilation is constant at the selected intensity. If the “
” button is pressed, it switches to “Natural” mode: the ventilation alternates speeds in a schematic manner, as shown below, for example:
- “6” speed set:

- “3” speed set:

- “5” speed set:

1H, 2H, …8H Timer. The buttons operate the timer after which the fan will turn off. The time (hour) corresponds to the time indicated on the button: 1H= 1 hour, 2H= 2 hours, 4H= 4 hours, 8H= 8 hours.
Direction. The button selects clockwise or counterclockwise rotation (Summer/Winter): thus, the air is directed from the bottom to the top or vice versa. Only activate this function if the motor has stopped completely.
“
”: The button deactivates the ventilation and the timer, and puts the fan in Stand-by mode.
If the remote control is not controlling the fan:
- Connect the receiver and the remote control: Press the “ON” button and, within 10 seconds, press the “
” button for 5 seconds: the audible “Beep” indicates proper synchronization. - Check the batteries: that they are charged, correctly inserted, and that they meet the electrical contacts.
- Reset the device, then switch off the power supply for about 20 seconds (main switch pos.
“O ” -off-), then turn on the power again (main switch pos. ” I ” -on-) and press the “
” button for about five seconds. - Check if there are any other remote-controlled devices in the vicinity, and then check whether they are operated with the same remote control: remote-controlled devices with the same frequency will interfere with each other.
- Ensure that the receiver aerial has not been damaged or severed during the assembly of the fan.
DESCRIPTION
Smart device with integrated Wifi module, usable via Smartphone through the applications with Androidor iOS operating systems.
- Generally, routers have double bands set: (2.4 and 5) GHz; most dual-band routers automatically broadcast on both bands, for activation and configuration (of the fixed frequency at 2.4GHz) it is necessary to access the IP address of the router and look for thenetwork settings section.
- Check that the router is for domestic use, that there are no access restrictions except the password, that the Wi-Fi network is 2.4 GHz, and that there is a strong, uniform Wi-Fi signal in the room where the device is to be installed.
- Make sure that the smartphone is connected to the wi-fi network to be used for the appliance.
First Installation/Setup
- Install the “BIMAR life Smart” App via Google Play (Android) or AppStore (iOS), or scan the QR code provided here.
For Android
For iOS
- Once installed, the app icon appears. Click the “Bimar Live Smart” icon to run the app.

- At the first access, register and fill in your credentials:
- click on “Create a new account”, confirm “I agree” for the data relating to the Privacy Policy (by pressing: “
” the text of the informative report pursuant to Article 13 of the 2016/679 European Regulation appears, while by selecting “User Agreement” the Bimar srl Service Agreementappears) - enter your email address (select the desired country)
- click on the writing “Get the verification code”, wait for a few seconds and then enter the code receivedin the “Verification code” part using your registration email address (possibly also check the Junk e-mail folder, if you don’t receive it in the inbox folder).
- click on “Create a new account”, confirm “I agree” for the data relating to the Privacy Policy (by pressing: “
- Enter your personalized password and click “Done”.
If the procedure is carried out correctly, the control panel screen for using the application appears.
Pairing the device with your smartphone
- Press the button “
” for about five seconds, the green light turns on, you will hear a “Beep”, then you will hear 2 quick “Beeps” and release the button. - Insert the plug into the socket, press the “
” for about five seconds: symbol on the display will flash quickly; release the button. - Opening the APP on your smartphone: on the first screen click “ADD DEVICE” or click on “
” in options,at the top right. - Next, click on the writing ”
/ Ceiling Fan”. - Then, “set up Wi-Fi”, Enter: Name and PASSWORD of your Wi-Fi network, and click on the “Next” symbol to activate the connection.
- On the next screen: click on the writing “Confirm” to activate, then the LED will flash quickly; after thispress on the “Next” symbol.
- The countdown will start: Scanning devices ⇒ Register the device on Cloud ⇒ Start the device that stopswhen the connection between your device and the smartphone has occurred ⇒ End.


The device can also be paired using the “AP Mode”, press the button “
” for about five seconds; the green light turn on and you will hear n.2 “Beep” fast and release the button. Access the smartphone WI-FI settings and connect to the “Bimar Live Smart xxx” or “Smart Life xxx” network, then press “connect now”.
If the operations described above do not work properly, the fan must be reset as follows: switch off the power supply via the circuit breaker, and leave the appliance disconnected for 30 seconds. Turn on the power again; press the “
” button for about five seconds; the green light will light up, you will hear a “Beep” sound, then you will hear 2 quick “Beeps”, then release the button.
Settings and customisations.
Open the smartphone screen and press
in the bottom right corner to customise the following functions: Home management, Message centre,Assistance centre,Configure (audio, alerts, info, cache memory clear).
Press
in the bottom centre to customise operation of the device to suit the various scenarios or operating situations provided by the APP (for example: Back home, Leaving home, Dawn, Goodnight, Temperature, Humidity, Weather, Air quality, Dawn/dusk) or in combination with other devices.
Press
in the bottom left corner and then in the top of the screen, for example:
to customise (update and/or change where permitted) the appliance’s position or the outdoor wind speed, air pressure, humidity and temperature (see right).
Press
top right to customise the following: Change Device name, Device position, Check Network, Third-party devices upported: Amazon Alexa, Google Assistant, Device, sharing, Create a Comment group, Device Info, Feedback, Update Firmware
The smartphone must be connected to Wi-Fi or cellular data network for remote control.
Voice control
The device is compatible with Amazon Alexa and Google Assistant voice controls. Open the corresponding App/connect the Skill (make sure that the account and password used are the same as those of the “Bimar Live Smart” app) and follow the settings.
Google Home: some basic vocal commands are:
- “OK Google” or “Hey Google”, turn on XX (name of the device)
- “OK Google” or “Hey Google”, turn off XX (name of the device)
- etc.
Amazon Alexa: some basic vocal commands are:
- “Alexa”, turn on XX (name of the device)
- “Alexa”, turn off XX (name of the device)
- etc.
Note: the voice control has preset functions, our customer service ([email protected]) isalways available to send an updated list of controls supported by the devices.
Use via smartphone
The “
” button deactivates the function and puts the fan in Stand-by mode; press it again to activate the function.
The “
” button: move the cursor to adjust the speeds (1- 6).
Mode: The fan starts in normal mode when switched on, i.e. ventilation is constant at the selected intensity.
If the “
” button is pressed, it switches to “Natural” mode: the ventilation alternates speeds in a schematic manner, as shown below paragrah on the remote control. If the “
”button is pressed, it switches to “Breeze” mode: the ventilation alternates speeds (the selected speed will always switch to the minimum speed), as shown below picture, for example:
“3” speed set:
“6” speed set:
To activate the “Sleep” mode, press the button on the “
” icon: this mode reduces the ventilation from one speed to the next lower down to the minimum speed, each cycle lasts about 90 minutes.
Timer “
“: move the cursor to select the desired time: 1H, 2H, …8H after which the fan will turn off. The time (hour) corresponds to the time indicated on the button: 1H= 1 hour, 2H= 2 hours, 4H= 4 hours, 8H= 8 hours.
The Timer is deactivated by pressing the “
” button.
Direction. The button selects clockwise or counterclockwise rotation (Summer/Winter): thus, the air is directed from the bottom to the top or vice versa. Only activate this function if the motor has stopped completely.
The “
” button: starts the weekly programmer (it is activated only via the Smartphone), and sets: the on/off periods of each day of the week and the temperature. For the on/off periods, select the time (hours and minutes) and confirm the function (on or off) and then the following (off or on); the periods can be repeated during the week; mode, direction and light adjustment.
Balancing the fan
If the fan oscillates during use, switch it off and hook the clip into the centre of one blade; switch it on again, and if it still oscillates remove the clip and put it on another blade until the oscillation is reduced: this is the blade that needs to be counterweighted.
On this blade, reposition the clip in several places (from the centre towards the tip) to locate the point that eliminates oscillation. On the surface of the blade near the clip, glue the supplied counterweight, remove the clip and test the fan again.
If it still oscillates, add another counterweight. If it worsens, try again to find the most suitable counterweight point until a balance is found.
CLEANING AND MAINTENANCE
Attention: before normal cleaning operations, turn the fan off, turn the fan lamp off (if present), and disconnect from mains power by turning off the isolating switch ( pos. 0/OFF).
- For cleaning, use a soft, slightly damp cloth; do not use abrasive or corrosive products. Be careful not to damage the equipment, blades, electrical connections, or impair the hardware.

- Do not immerse or soak any part of the fan in water or any other liquid; in the event that this happens, first ensure the fan is disconnected from the mains power supply, and then wipe the appliance off carefully, making sure that all electrical parts are perfectly dry: in case of doubt, consult a qualified professional.
- It is important to keep the air vents of the motor free of dust and lint.

BATTERIES – Remove the batteries before its disposal. Do not dispose the battery with domestic waste. The batteries must be disposed of in the appropriate containers or in the specific collecting centre. Suitable segregated collection helps prevent damage to the environment and to human health.
Do not dispose of non-biodegradable products into the environment. Ensure they are disposed of in accordance with local regulations. At the end of its useful life, the product must not be disposed of with household waste. It can be taken to a special waste collection centres provided by local government, or to a dealer who will provide this service with the purchase of a new appliance. Disposing of this household appliance separately avoids possible negative consequences for the environment and human health deriving from inappropriate disposal and enables the materials of which it is composed to be recovered in order to obtain significant savings in energy and resources. As a reminder to dispose of household appliances separately, the product is marked with a wheeled bin symbol.
TROUBLESHOOTING
| PROBLEM | POSSIBLE CAUSE | SOLUTION |
| Appliance completely off | No power | Check the master switch or for incorrect wiring. |
| Wall switch is at position “0”, off. | Position the wall switch at the “I”, On. | |
| Remote control and received not synchronise. | Connect the receiver and the remote control: Press the “ON” button and, within 10 seconds, press the ” ” button for 5 seconds: the audible “Beep” indicates proper synchronisation. | |
| The appliance does not operate normally | Motor fault | Contact an authorized Technical Assistance Centre. |
| The fan is oscillating excessively | Blades not tightened properly. | Tighten all screws properly |
| Bent blades | Replace blades. | |
| Blade anchoring screws do not properly tightened. | Lock all screws properly. | |
| The remote control does not work | Low batteries | Replace batteries |
Accessories of the spare parts
| Type | Description |
| VS0004 | Metal rod L=30cm, with wiring for motor and LED connection. |
| VS0005 | Metal rod L=45cm, with wiring for motor and LED connection. |
| VS0006 | Metal rod L=60cm, with wiring for motor and LED connection. |
| Information requirements | |||
| Description | Symbol | Value | Unit |
| Maximum fan flow rate | F | 149.42 | m³/min |
| Fan power input | P | 41.72 | W |
| Service value | SV | 3.58 | (m³/min)/W |
| Standby power consumption | PSB | 0.33 | W |
| Fan sound power level | LWA | 45.5 | dB(A) |
| Maximum air velocity | c | 2.351 | m/sec |
| Measurement standard for service value | Commission Regulation (UE) n.206/2012 | ||
CUSTOMER SERVICE
Via G.Amendola, 16/18
25019 Sirmione (BS) – ITALY
www.bimaritaly.it
Servizio clienti:
[email protected]











Insert the rod (the rod holder must be at the top) onto the motor body at the upper end, so that the holes are coaxial, and insert the appropriate pin, then secure it using the cotter pin (which must be inserted in such a way as to prevent both pin and cotter pin from slipping out). Then lock the rod by tightening the two safety screws.






























