VISUAL COMFORT 14PRR52XXXD Series Ceiling Fan

Product Information
- Product Name: 14PRR52XXXD Series Fan
- cETL Model NO.: 14PRR52(X)
- Total fan weight with light: 10.38 kg/22.84 lbs
- Manufacturer: Visual Comfort & Co.
- Manufacturer Address: 7400 Linder Ave., Skokie, IL 60077
- Contact Number: T 847.410.4400
- Fax Number: F 847.410.4500
- Website: www.visualcomfort.com
Product Usage Instructions
- Before you begin installing the fan, switch off the power at
- the service panel and lock the service disconnecting means to prevent accidental switching on of power. If the service disconnecting means cannot be locked, securely fasten a warning device, such as a tag, to the service panel.
- Ensure that the outlet box is properly installed to the house structure before installing the fan. Mount the fan to an outlet box or a supporting system that is acceptable for fan support and can support at least 35 lbs.
- Use a metal outlet box suitable for fan support and only use the screws provided with the outlet box (must support 35 lbs). Make sure the outlet box is securely fastened by at least two points to a structural ceiling member to prevent the fan from wobbling.
- Remove the preassembled keeper pin and cross pin from the download.
- Place the download over the canopy, canopy bottom cap, and yoke cover.
- Partially loosen the download set screws from the yoke at the top of the motor assembly. Thread the lead wires and safety cable from the motor assembly through the download.
- Slip the download into the motor housing yoke, align the holes, and install the cross pin and keeper pin. Insert the cross pin through the yoke and download until it appears on the other side, then insert the keeper pin on the cross pin. Pull the downrod up tight against the cross pin, and evenly tighten the download set screws on the motor housing yoke.
- Place the yoke cover on the motor assembly.
- Ensure that the cross pin and keeper pin are securely installed. Failure to install them properly may result in serious injury.
For any further assistance, please contact Visual Comfort & Co. Customer Service at 847.410.4400 or visit their website at
www.visualcomfort.com.
Assembly Instructions
- Before you begin installing the fan, Switch power off at Service panel and lock service disconnecting means to prevent power from being switched on accidentally. When the service disconnecting means cannot be locked, securely fasten a warning device, such as a tag, to the service panel.
Use AC 120V/60HZ power supply only. - Before installing this fan make sure the outlet box is properly installed to the house structure. To reduce the risk of fire, electric shock, or personal injury, mount to outlet box or supporting system acceptable for fan support.
(Mounting must support at least 35 lbs.) - Use metal outlet box suitable for fan support and use only the screws provided with the outlet box (must support 35 lbs). Before attaching fan to outlet box, ensure the outlet box is securely fastened by at least two points to a structural ceiling member (a loose box will cause the fan to wobble). Remove the two outlet box screws provided with the box, aligning the holes of the mounting bracket with the holes of the outlet box. Reinstall the 2 outlet box screws securely.

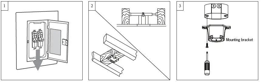
- Remove the preassembled keeper pin and cross pin from the download.
- Place download over canopy, canopy bottom cap and yoke cover
- Partially loosen downrod set screws from yoke at top of the motor assembly.
Thread lead wires and safety cable from motor assembly through download. Helpful hint: For easy assembling of the cross pin on the next installation step. After slip download into the motor yoke, carefully insert a Phillips screwdriver through the yoke and downrod (don’t damage the lead wires) as a guide and then push the cross pin and pull the screwdriver in the meantime as shown in the inset.
- Slip downrod into motor housing yoke, align holes and install cross pin and keeper pin.
Insert cross pin through yoke and download until point appears on the other side, and insert keeper pin on cross pin.
Pull the downrod up tight against the cross pin, and then evenly tighten the downrod set screws on motor housing yoke.
Place Yoke cover on motor assembly. Warning: Cross pin and keeper pin must be installed securely, failure to install them will result in serious injury. - Install ball end of the download into the mounting bracket opening. Align (engage) slot on ball with tab on the mounting bracket. Warning: Failure to align slot on ball with tab may result in serious injury. Important: If using the angle mount, make sure open end of the mounting bracket is installed facing the higher point of the ceiling and make sure the ceiling angle is not steeper
- Safety cable must be installed into the house structure using 3” lag screws, washers, and lock washers provided, required for outdoor applications and in Canada (All fans installed in Canada), and for USA fan and light kit combinations over 35lbs.
Make sure that when the safety cable is fully extended the lead wires are longer than the cable and no stress is placed on the lead wires.
Note: If Installing The Secondary Support Safety Cable in the U.S., Do Not Remove
Knockouts In The Outlet Box.
- Make wiring connections using wire connectors provided as indicated above.
- Red from fan to Red from remote marked Motor 1.
- Purple from fan to Purple from remote marked Motor 2.
- Gray from fan to Gray from remote marked Motor 3.
- Blue from fan to Blue from remote marked FOR LIGHT.
- White from fan to White from remote marked FOR LIGHT.
- White (Neutral) from house to White from remote marked AC IN N.
- Black (Live) from house to Black from remote marked AC IN L.
- Connect all green grounded wires to Grounded wire from House.
- Make sure that no filaments are outside of the wire connectors.
- Insert the remote receiver into the mounting bracket.
- Insert the remote receiver into the mounting bracket.
- After making the wire connections, the wires should be spread apart with the grounded conductor and the equipment-grounding conductor on one side of the outlet box and ungrounded conductor on the other side of the outlet box. The splices after being made should be turned upward and pushed carefully up into the outlet box.
Caution: The installation has to be complete before operate the fan. Receiver has to be used on the fan and cannot be bypassed.
- Partially loosen one and remove one preassembled screw from the mounting bracket. Save screw.
- Lift canopy up, aligning its keyhole slot with the preassembled screw on the mounting bracket and twist counterclockwise to lock in place. Reinstall the screw removed in step 11 and tighten all screws securely.
Attach canopy bottom cap onto canopy by aligning its notch with the screws on the mounting bracket and twist clockwise till tight. - Install blades, aligning the holes of blade bracket and blade.
Install blade bracket with blade by blade setscrews and washers provided. Tighten screws securely. Repeat this process for the remaining blades.
- Install the blade assembly to motor using the preinstalled screws. Tighten screws securely. Repeat this process for remaining blade assemblies.
- Loosen 2 and remove 1 preassembled screw from the plate on motor. Save screw for later use.
- Place light pan over the light lead wires and attach it onto the plate on motor, aligning the keyhole slots on the light pan with the preassembled screws on the plate. Twist clockwise till lock.
Reinstall the screw removed in step 15. Tighten all screws securely.
- Remove 3 preassembled screw from the light pan. Save screws for later use.
- Connect white wire from fan to white wire from LED module and then connect blue (or black) wire from fan to blue (or black) wire from LED module.
Note: If you don’t want to install the fan with LED light, go to step 20 for blanking plate installation. - Attach LED light kit onto the light pan, aligning the holes on the LED light kit with the screw holes on light pan. Reinstall the screws removed in step 17. Tighten all screws securely.

- Attach lexan shade by locating dimples in light pan with grooves on the Lexan shade and twist clockwise until tight.
- Attach blanking plate by locating dimples in light pan with grooves on the blanking plate and twist clockwise until tight. Note: Do not install LED light kit if use blanking plate.

REMOTE CONTROL SETTING and OPERATION
Transmitter Operation
Remove the battery cover from the remote control transmitter and install a battery, battery provided. Replace the cover.
Note: Use 2 1.5V/AAA batteries.
Note: If not using for long period of time, remove battery to prevent damage to the remote transmitter, and store the remote transmitter away from excess heat or humidity.
Dimming / Non-Dimming Setting
The “DIM” selection is the light dimmable selection and the light will cycle from bright to dim to bright until the button is released. The “ON” selection is the light ON/OFF only (non-dimming function). Light will maintain last setting i turned off.
Note: The remote controller is set with a dimming function at the factory,
Note: If the remote receiver has been wired with fan, turn power off by wall switch before switching “DIM” and “ON/OFF” selections.
Universal Mode and Learning Mode
There are “Universal Mode” and “Learning Mode” with the remote controller.
If choosing “Universal Mode”, simply place dip (code) switch at UPPER position. Your fan with the remote controller is ready to use.
Note: If using the universal mode, your fan can be controlled with other remote transmitters with the same setting.
To control the fan with specific remote transmitter, choose “Learning Mode” by placing the dip (code) switch at LOWER position and then make learn function setting as below.
Learn function setting
Important: Turn the power on for ONLY the specific fan you wish to pair with the remote controller. Make sure to turn the power off for all other fans with which you use the same remote controller.
Restore power source to your fan, press and hold the “LEARN” button for at least 3 seconds. You must press the “LEARN” button within 60 seconds of restoring power to the fan.
Note: If the power is on already, you must turn the power off for 10 seconds at least, and then turn the power back for the remote control learn the function setting.
Note: If the fan is installed with light, light will twinkle 2 times. The remote control setting process is complete and your fan is ready for use. For fans without light, check operation using remote transmitter.
Note: If you want to control the fan with another transmitter, make the same setting. A fan can be controlled by 2 transmitters maximum.
The receiver provides the following protective functions
Lock protection- The DC motor has a build-in safety feature against blade or motor obstruction during operation. If something obstructs the fan blades or motor, the motor will keep trying to run for 5 times and then stop operation after about 60 seconds of interruption. Please remove obstacles and reset. To reset it by turn the fan off by remote transmitter and then turn the fan on, Or you may turn power off for 15 seconds then turn power back on, and then turn the fan on,
Overload protection (current limit)- The device will limit the maximum current output from the receiver/drive when the fan or light load was increased abnormally.
The remote control buttons control the fan speed as follows:
Fan speed
- 1 = minimum speed 2 = low speed
- 3 = medium-low speed 4 = medium speed
- 5 = medium-high speed 6 = high speed
Switch This button turns the fan off.
Forward/Reverse button– This button is to control direction of fan rotation. Press once to change direction of the fan rotation. Fan must be running to reverse.
Light button- Press this button to turn light on or off. To dim light (Setting at “DIM” position), hold down the button, the light will cycle from bright to dim to bright until button is released.
Note: This remote controller has auto resume function, the fan and light will maintain the last setting if power is turned off.
Wall mount cradle installation
Install Transmitter wall mount cradle with 2 screws provided. 
User Tips
- If your fan is operating automatically after installation, it is still using the factory setting. Follow the settings for Learn Mode above to reset.
- If the fan or light isn’t working, reset power (turn the power off then turn the power back on) and follow the Universal Mode or Learn Mode remote control settings.
If you want to change it back to Universal Mode from Learn Mode, and you have made the Lean Mode setting twice, you will need to make the same Learn Mode setting on Universal Mode. - If two or more fans in the same remote signal range are on the same power supply, they cannot be operated separately by remote control. Use a separate power supply for each fan, such as an individual wall switch, and restrict the power supply to only the fan which you are pairing with its transmitter in order to use the remote controller.
- When the fan is turned on to oscillate in either forward or reverse direction, it may shudder briefly until fully engaged. This is a normal operation for this fan; the shuddering will quickly cease as movement is engaged.
THIS DEVICE COMPLIES WITH PART 15 OF THE FCC RULES OPERATION IS SUBJECT TO THE FOLLOWING TWO CONDITIONS. (1)THIS DEVICE MAY NOT CAUSE HARMFUL INTERFERENCE AND (2) THIS DEVICE MUST ACCEPT ANY INTERFERENCE RECEIVED, INCLUDING INTERFERENCE THAT MAY CAUSE UNDESIRED OPERATION.
Troubleshooting
If you have difficulty operating your new ceiling fan, it may be the result of incorrect assembly, installation, or wiring. In some cases, these installation errors may be mistaken for defects. If you experience any faults, please check this Troubleshooting Chart. If a problem cannot be remedied, or you are experiencing difficulty in installation, please call our Customer Service Center at the number printed on your parts list insert sheet.
Warning: Before you begin installing, servicing or cleaning the fan unit, switch the power off at the service panel and lock the service panel to prevent the power from being switched back on accidentally. If the service panel cannot be locked to prevent the power from being switched on accidentally, securely fasten a warning sign to the service panel.
- If fan does not start:
- Check main and branch circuit fuses or circuit breakers.
- Check line wire connections to fan and switch wire connections in switch housing. CAUTION
- If this fan uses manual forward/reverse switch, make sure the switch is pushed firmly either way. Fan will not operate when switch is in the middle.
- If this fan uses a remote controller, make sure dip switches are in the correct setting and make sure the battery works.
- If fan sounds noisy:
- Check to make sure all screws in motor housing are snug (not over-tightened).
- Check to make sure the screws which attach the fan blade holder to the motor are tight.
- Check to make sure wire nut connectors in switch housing are not rattling against each other or against the interior wall of the switch housing.
- Check to be sure the lightbulb is tight in socket and not touching the glass shade.
- Some fan motors are sensitive to signals from Solid State variable speed controls.
- Allow a “break-in” period of 24 hours. Most noises associated with a new fan will disappear after this period.
- If fan wobbles:
- If this is a downrod mount fan, make sure the ridge on mounting bracket engages the notch in the downrod ball.
- Make sure that canopy, mounting bracket or mounting plate are tightened securely to
ceiling junction box and junction box is mounted firmly to the ceiling joist. - Check that all blades are screwed firmlv into blade holders.
- Check that all blade holders are tightened securely to motor.
- Most fan wobble problems are caused when blade levels are unequal. Check this level by selecting a point on the ceiling above the tip of one of the blades. Measure this distance from blade tip to ceiling. Keeping measure within 1/8″, rotate the fan until the next blade is positioned for measurement. Repeat for each blade. If all blade levels are not equal, you can adjust blade levels by the following procedure. To adjust a blade tip down, insert a washer (not supplied) between the blade and blade holder at the screw closest to the motor. To adjust a blade tip up, insert washer (not supplied) between the blade and blade holder at the two screws farthest from the motor. Reverse the position of the washer if blades mount from top of the blade.
- If blade wobble is still noticeable, interchanging two adjacent blades can redistribute the weight and possibly result in smoother operation.
If the above steps do not eliminate the wobble problem, you will need to dynamically balance your fan with the balancing kit provided.
- If light does not work:
- Check blue wire from fan to make sure it is connected to hot wire from house.
- Check for loose or disconnected wires in fan switch housing.
- Check for loose or disconnected wires in light kit.
- Check for faulty lightbulbs and make sure bulb is tight in the socket.
- Remove light kit and check the plug connections if they are present.
- If this fan uses a remote controller, make sure dip switches are in the correct setting and make sure the battery works.
CAUTION: Make sure main power is turned off before entering the switch housing and/or canopy.
Customer Service
847.410.4400
Customer Service Center
7400 Linder Ave.
Skokie, IL 60077
www.visualcomfort.com













