VONROC GS502AC 2500W Shredder

SAFETY INSTRUCTIONS
Read the enclosed safety warnings, the additional safety warnings and the instructions. Failure to follow the safety warnings and the instructions may result in electric shock, fire and/or serious injury. Save the safety warnings and the instructions for future reference.
The following symbols are used in the user manual or on the product:

GENERAL POWER TOOL SAFETY WARNINGS WARNING!
Read all safety warnings and all instructions. Failure to follow the warnings and instructions may result in electric shock, fire and/or serious injury.
Save all warnings and instructions for future reference.
The term “power tool” in the warnings refers to your mains-operated (corded) power tool or battery-operated (cordless) power tool.
- Work area safety
- Keep the work area clean and well lit. Cluttered or dark areas invite accidents.
- Do not operate power tools in explosive atmospheres, such as in the presence of flammable liquids, gases or dust. Power tools create sparks which may ignite the dust or fumes.
- Keep children and bystanders away while operating a power tool. Distractions can cause you to lose control.
- Electrical safety
- Power tool plugs must match the outlet. Never modify the plug in any way. Do not use any adapter plugs with earthed (grounded) power tools. Unmodified plugs and matching outlets will reduce risk of electric shock.
- Avoid body contact with earthed or grounded surfaces, such as pipes, radiators, ranges and refrigerators. There is an increased risk of elec-tric shock if your body is earthed or grounded.
- Do not expose power tools to rain or wet conditions. Water entering a power tool will increase the risk of electric shock.
- Do not abuse the cord. Never use the cord for carrying, pulling or unplugging the power tool. Keep cord away from heat, oil, sharp edges or moving parts. Damaged or entangled cords increase the risk of electric shock.
- When operating a power tool outdoors, use an extension cord suitable for outdoor use. Use of a cord suitable for outdoor use reduces the risk of electric shock.
- If operating a power tool in a damp location is unavoidable, use a residual current device (RCD) protected supply. Use of an RCD reduces the risk of electric shock.
- Personal safety
- Stay alert, watch what you are doing and use common sense when operating a power tool. Do not use a power tool while you are tired or under the influence of drugs, alcohol or medication. A moment of inattention while operating power tools may result in serious personal injury.
- Use personal protective equipment. Always wear eye protection. Protective equipment such as dust mask, non-skid safety shoes, hard hat, or hearing protection used for appropriate conditions will reduce personal injuries.
- Prevent unintentional starting. Ensure the switch is in the off-position before connecting to power source and/or battery pack, picking up or carrying the tool. Carrying power tools with your finger on the switch or energising power tools that have the switch on invites accidents.
- Remove any adjusting key or wrench before turning the power tool on. A wrench or a key left attached to a rotating part of the power tool may result in personal injury.
- Do not overreach. Keep proper footing and balance at all times. This enables better control of the power tool in unexpected situations.
- Dress properly. Do not wear loose clothing or jewellery. Keep your hair, clothing and gloves away from moving parts. Loose clothes, jewellery or long hair can be caught in moving parts.
- If devices are provided for the connection of dust extraction and collection facilities, ensure these are connected and properly used. Use of dust collection can reduce dust related hazards.
- Do not let familiarity gained from frequent use of tools allow you to become complacent and ignore tool safety principles. A careless action can cause severe injury within a fraction of a second.
- Power tool use and care
- Do not force the power tool. Use the correct power tool for your application. The correct power tool will do the job better and safer at the rate for which it was designed.
- Do not use the power tool if the switch does not turn it on and off. Any power tool that cannot be controlled with the switch is dangerous and must be repaired.
- Disconnect the plug from the power source and/or the battery pack from the power tool before making any adjustments, changing accessories, or storing power tools. Such preventive safety measures reduce the risk of starting the power tool accidentally.
- Store idle power tools out of the reach of children and do not allow persons unfamiliar with the power tool or these instructions to operate the power tool. Power tools are dangerous in the hands of untrained users.
- Maintain power tools. Check for misalignment or binding of moving parts, breakage of parts and any other condition that may affect the power tool’s operation. If damaged, have the power tool repaired before use. Many accidents are caused by poorly maintained power tools.
- Keep cutting tools sharp and clean. Properly maintained cutting tools with sharp cutting edges are less likely to bind and are easier to control.
- Use the power tool, accessories and tool bits etc. in accordance with these instructions, taking into account the working conditions and the work to be performed. Use of the power tool for operations different from those intended could result in a hazardous situation.
- Keep handles and grasping surfaces dry, clean and free from oil and grease. Slippery handles and grasping surfaces do not allow for safe handling and control of the tool in unexpected situations.
- Battery tool use and care
- Recharge only with the charger specified by the manufacturer. A charger that is suitable for one type of battery pack may create a risk of fire when used with another battery pack.
- Use power tools only with specifically designated battery packs. Use of any other battery packs may create a risk of injury and fire.
- When battery pack is not in use, keep it away from other metal objects, like paper clips, coins, keys, nails, screws or other small metal objects that can make a connection from one terminal to another. Shorting the battery terminals together may cause burns or a fire.
- Under abusive conditions, liquid may be ejected from the battery; avoid contact. If contact accidentally occurs, flush with water. If liquid contacts eyes, additionally seek medical help. Liquid ejected from the battery may cause irritation or burns.
- Do not use a battery pack or tool that is damaged or modified. Damaged or modified batteries may exhibit unpredictable behaviour resulting in fire, explosion or risk of injury.
- Do not expose a battery pack or tool to fire or excessive temperature. Exposure to fire or temperature above 130 °C may cause explosion. NOTE The temperature „130 °C“ can be replaced by the temperature „265 °F“.
- Follow all charging instructions and do not charge the battery pack or tool outside the temperature range specified in the instructions. Charging improperly or at temperatures outside the specified range may damage the battery and increase the risk of fire.
- Service
- Have your power tool serviced by a qualified repair person using only identical replacement parts. This will ensure that the safety of the power tool is maintained.
- Never service damaged battery packs. Service of battery packs should only be performed by the manufacturer or authorized service providers.
ADDITIONAL SAFETY INSTRUCTION FOR SHREDDERS
- Only use this shredder when a Residual Current Device (RCD) with a tripping current of not more than 30mA is in the circuit.
- If an extension cord is used make sure it is for outdoor use and marked as such. The recommended size of extension cord is a H05VV-F or H05RN-F type, not lighter than 1.5 mm² and a maximum of 10 metres in length.
- Completely uncoil your extension cable before use to prevent overheating and loss of machine efficiency. When tidying away the cable, wind it carefully to avoid kinking.
- This appliance is not intended for use by persons (including children) with reduced physical, sensory or mental capabilities, or lack of experience and knowledge, unless they have been given supervision or instruction concerning use of the appliance by a person responsible for their safety. Children should be supervised to ensure that they do not play with the appliance.
- WARNING: After switching off the machine, the cutting blade continues to rotate for a few more seconds.
- Frequently inspect the condition of the cutting blade. Damaged blade must be replaced immediately. Follow all the required precautions when replacing the blade.
- Before use check the supply and extension cord for signs of damage or ageing. If the cord becomes damaged during use, disconnect the cord from the supply immediately.
- DO NOT TOUCH THE CORD BEFORE DISCONNECTING THE SUPPLY.
- Not to connect a damaged cord to the supply or touch a damaged cord before it is disconnected from the supply. A damaged cord can lead to contact with live parts.
- Do not use the shredder if the cord is damaged or worn.
- Read the instructions carefully. Be familiar with the controls and proper use of the equipment. Avoid using the machine in bad weather conditions especially when there is a risk of lightning. Always wear substantial footwear and long trousers while operating the machine.
- Keep children and pets well away from the work area and never allow children to use this appliance or touch the main power cord or extension cord at any time. When not in use, keep this appliance stored in a safe place out of reach of children.
WARNING: In order to reduce the risk, disconnect the plug from the supply power, only use recommended accessories as required, otherwise personal injury may result. - Wear ear protection and safety glasses at all times while operating the machine
- Wear a dust protection if the shredding action causes the raising of dust or particles.
- Dress sensibly for the job in hand – no loose clothing that could get caught in the moving parts of the appliance.
- Pull long hair back out of the way and wear a protective hat.
- Only operate the machine in open space (e.g. not close to a wall or other fixed object) and on a firm, level surface.
- Do not operate the machine on a paved or gravel surface where ejected material could cause injury.
- Thoroughly inspect the shredder for loose or damaged parts before each use. Do not use the unit until adjustments or repairs are made.
- Replace damaged or unreadable labels.
- Only use a waterproof, fully unwound extension cable suitable for outdoor use.
- This appliance is for outdoor use only.
- Do not expose this appliance to rain.
- Use the shredder only in daylight or good artifi-cial light.
- Never leave the appliance unattended.
- Do not use the appliance in an area where it could cause an explosion or fire – keep it away from flammable liquids and gases.
- Guard against electric shock – prevent body contact with earthed or grounded surfaces i.e. metal gates, posts or other metal objects in the work area.
- Never pull the appliance by its power cord. Wheel it or carry it with two hands.
- Do not allow the power cord to lay on or across sharp objects that might pierce the outer insu-lation. Carry out a visual inspection of the power cord before use and if it is damaged, have it replaced by a specialist service centre. Do not use the appliance if the cord is damaged.
- Keep the power cord away from heat, frost, oil, solvents or any sharp objects or edges.
- Do not use this appliance if you are on strong medication, unwell or have been drinking alcohol.
- Never attempt to put your hand inside the fee-der hopper. If you want to push material into the cutting chamber use the push stick.
- Before starting the machine, look into the fee-ding chamber to make certain that it is empty.
- Keep your face and body away from the feed intake opening.
- Do not allow hands or any other part of the body or clothing inside the feeding chamber, dischar-ge chute, or near any moving part.
- Keep proper balance and footing at all times. Do not overreach. Never stand at a higher level than the base of the machine when feeding material into it.
- Always stand clear of the discharge zone when operating this machine.
- When feeding material into the machine be extremely careful that pieces of metal, rocks, bottles, cans or other foreign objects are not included.
- If the cutting mechanism strikes any foreign ob-jects or if the machine should start making any unusual noise or vibration, shut off the power source and allow the machine to stop (electric unit disconnect from supply):
- inspect for damage
- check for and tighten any loose parts
- have any damaged parts replaced or repaired and use only the manufacturer’s recommended replacement parts and accessories.
- Do not allow processed material to build up in the discharge zone; this may prevent proper discharge and can result in kickback of material through the feed intake opening.
- If the machine becomes clogged, shut off the power source (electric unit disconnect from supply) before clearing debris. Keep the power source clear of debris and other accumulations to prevent damage to the power source or possible fire. Remember that operating the starting mechanism on engine powered machines will still cause the cutting means to move.
- Keep all guards and deflectors in place and in good working condition.
- Do not tamper with the power source governor settings; the governor controls the safe maximum operating speed and protects the power source and all moving parts from damage caused by over-speed. Seek authorized service if a problem exists.
- Do not transport this machine while the power source is running.
- Shut off the power source and disconnect from supply whenever you leave the work area.
- Do not tilt the machine while the power source is running.
- Your shredder must be placed on firm, level ground.
- Never lay the shredder on its back, front or sides – keep it upright at all times.
- Do not overload the shredder – feed it slowly and let it work at its own pace.
- Before starting, ensure the inlet cavity is empty. Do not start the shredder with material in the shredder.
- Unless there is an emergency, do not switch the shredder off until it is completely empty of material.
- Remove stones or other hard objects from plant roots before shredding.
- Hold large twigs or fine branches firmly when feeding them into the shredder.
- Do not allow the outlet to get covered or bloc-ked at any time.
Electrical safety
Always check that the voltage of the power supply corresponds to the voltage on the rating plate.
- Do not use the machine if the mains cable or the mains plug is damaged.
- Only use extension cables that are suitable for the power rating of the machine with a minimum thickness of 1.5 mm2. If you use an extension cable reel, always fully unroll the cable.
MACHINE INFORMATION
Intended use
This shredder is developed to chop up branches, twigs and other pruning. It can easily be reduced to wood chips for reuse. The shredder is intended for small to medium sized private gardens at home, it is not intended for heavy duty use.
TECHNICAL SPECIFICATIONS
| Model No. | GS502AC |
| Voltage | 230-240 V~ |
| Frequency | 50 Hz |
| Power | 2500 W (P40)* |
| No load speed | 4200/min. |
| Max. cutting diameter | 45 mm** |
| Collection bag capacity | 45 L |
| Weight | 10.3 kg |
| Protection level | IPX4 |
| Protection type | Class II |
| Sound power level (Lwa) | 106 dB*** |
- The P40 40% operating mode means a load profile of 40 seconds of load and 60 seconds of idle running. Long-term operation is admissible for practical use.
- Depending on the hardness of the wood.
- Measured values learnt according to 2000/14/EC & 2005/88/EC (1.60m height, 1m distance) measurement tolerance +/- 3 dB.
DESCRIPTION
The numbers in the text refer to the diagrams on pages 2-3.
- Feeder hopper
- Lower body
- Wheel
- Foot pad
- Frame
- Collection bag
- Upper body
- Push stick
- Overload protection reset
- On/Off switch
- Knob
- Connecting pole
- Wheel cover
- Blade defend block
- Blade
- Blade bolts
- Frame bolts
- Spacer
- Axle bush
- Wheel nut
- Nut wrench
- Hexagon wrench




ASSEMBLY
Before assembly, always switch off the machine and remove the mains plug from the mains.
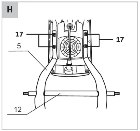
Assembling the wheels and the frame (Fig. G & H)

- Push the connecting pole (12) through the two lower holes of the frame (5).
- Attach on each side of the connecting pole (12) a spacer (18), an axle bush (19) and a wheel (3). Then tighten with a nut (20).
- Mount the wheel cover (13) onto the wheel (3).
- Stand the shredder upside down (on the feeder hopper) and fit the frame (5) to the lower body (2) using 4 frame bolts (16) and tighten with the nut wrench (21).
OPERATION
Before using, always visually inspect to see that the blades, blade bolts and cutter assembly are not worn or damaged. Please keep power switched off and disconnect the power supply. Replace worn or damaged blades and bolts in sets to preserve balance.
If the machine starts to vibrate abnormally (check immediately):
- inspect for damage,
- replace or repair any damaged parts,
- check for and tighten any loose parts.
Immediately switch of the machine in the following cases:
- whenever you leave the machine,
- before clearing blockages or unclogging chute,
- before checking, cleaning or working on the machine,
- after striking a foreign object. Inspect the machine for damage and make repairs before restarting and operating the machine;
Put the machine on a solid and even surface at all times. Never tilt or move the machine when the engine is running.
Switching the machine on/off
Never attempt to put your hand inside the feeder hopper (1). If you want to push material into the cutting chamber use the push stick (8).
- Before starting the machine attach the collection bag (6) to both hooks of the housing.
- To start the machine, press the ON switch (10). As a safety feature, the shredder will not start unless the hopper securing knob is fully tightened.
- To stop the machine, press the OFF switch (10).
Working instructions
- Branches and pruning waste become harder to shred depending on the type age and dryness of the wood. Best results are obtained by shredding fresh, soft cuttings with dry branches.
- The suitability of the shredder for cutting garden waste which is soft and contains large amounts of sap (e.g. pomaceous fruit, wet plant waste) is limited. This material should be composted straight away.
- When shredding thick branches, only apply slight pressure to prevent blocking the shredder.
- Always allow the machine to cool down before storing.
Replace worn or damaged parts for safety. Use only genuine replacement parts and accessories.
Restart protection
This protection prevents accidental machine start after power failure. When power is restored, turn on the machine again.
Overload protection
If the machine is exposed to a high load (e.g. cutting cylinder is blocked), it will stop after a few seconds. Turn OFF the power and remove the plug. Push the overload protection reset (9) and then restart it for use.
Blockages
If the machine gets blocked up at any time, switch it off at the mains and remove the plug from the power socket. Turn the upper body knob (11)
anti-clockwise until the upper body become loose. Pull it up and away from you to reveal the inside of the shredder. Clear any blockages, (be careful not to touch the sharp blades, replace the upper body and re-tighten by turning the knob (11) fully clockwise.
MAINTENANCE
Always disconnect the machine from the main power supply before carrying out any maintenance work.
Your shredder has been designed to operate over a long period of time with minimum of maintenance. Continuous satisfactory operation depends upon proper care and regular cleaning.
- Keep the shredder clean and dry.
- To clean the shredder, use only mild soap and a damp cloth. Never let any liquid get inside the tool and never immerse any part of the tool into liquid. Do not use any abrasive or solvent-based cleaner.
- When maintaining the shredder, be aware that although the power source is switched off, due to the locking function of the safety device, the shredder can still be moved.
- After every work stint, clean the machine thoroughly to remove all dust and debris, and repair or replace any faulty parts.
- Keep the device, in particular the air vents, clean at all times.
- Never spray water on the device body!
- Keep all nuts, bolts and screws tight to be sure the equipment is in safe working condition;
- Repairs and works specified in these Instructions may only be performed by qualified authorized staff.
- Use only original accessories and original spare parts. Components for which there are no instructions for exchanging should be replaced by the manufacturer only. Using other spare parts can result in accidents/injuries of the user. The manufacturer will not be liable for any such damage.
Replacing the cutting blades (Fig. F)
- Before carrying out any work on the machine, disconnect the mains plug from the power supply.
- When replacing the cutting blades, wear protective gloves. Danger of injury when touching the cutting blade.
- Only use blades that are recommended by the manufacturer.
- Replace worn or damaged parts for safety. Use only genuine replacement parts and accessories.
- Turn the knob (11) completely anti-clockwise to open the upper body (7).
- The machine has built-in two blades (16) which can be replaced. Loosen the two bolts per blade with the hexagon wrench (22) to be able to take the blade off.
- Insert a new blade and tighten the two bolds.
- Close the upper body and turn the knob (11) completely clockwise.
ENVIRONMENT
Faulty and/or discarded electrical or electronic apparatus have to be collected at the appropriate recycling locations.
Only for EC countries
Do not dispose of power tools into domestic waste. According to the European Guideline 2012/19/EC for Waste Electrical and Electronic Equipment and its implementation into national right, power tools that are no longer usable must be collected separately and disposed of in an environmentally friendly way.
WARRANTY
VONROC products are developed to the highest quality standards and are guaranteed free of defects in both materials and workmanship for the period lawfully stipulated starting from the date of original purchase. Should the product develop any failure during this period due to defective material and/or workmanship then contact VONROC directly.
The following circumstances are excluded from this guarantee:
- Repairs and or alterations have been made or attempted to the machine by unauthorized service centers;
- Normal wear and tear;
- The tool has been abused, misused or improperly maintained;
- Non-original spare parts have been used.
This constitutes the sole warranty made by compa-ny either expressed or implied. There are no other warranties expressed or implied which extend beyond the face hereof, herein, including the im-plied warranties of merchantability and fitness for a particular purpose. In no event shall VONROC be liable for any incidental or consequential damages. The dealers remedies shall be limited to repair or replacement of nonconforming units or parts.
The product and the user manual are subject to change. Specifications can be changed without further notice.


















