Contents hide
ESBE GRB300 Manifolds for 2 Circulation Units 
Function
Cabling & Dimensions
Electric installation
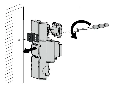
- Remove knob
Disassembly insulation
- Pull up insulation 7mm
Remove
- Assembling on wall

Adjust wallbracket
- Fit supply pipes

- Assemble insulation

- Assemble actuator/controller

Mounting position actuator/controller
Mounting position
Commissioning
Commissioning actuator/controller
Display

Venting
Manual restart
WILO Faults, Causes and Remedies
| LED Indicator | Faults | Causes | Remedies |
| Pump is not running although the power supply is switched on | Electrical fuse defective | Check fuses | |
| Pump has no voltage | Resolve the power interruption | ||
| Pump making noises | Cavitation due to insufficient suc- tion pressure | Increase the system pressure within the permissible range | |
| Check the delivery head and set it to a lower head if necessary | |||
| Building does not get warm | Thermal output of the heating surfaces is too low | Increase setpoint | |
| Set control mode to Δp-c | |||
| Warning signals is indicated by the LED display. Fault signal LED does not light up. | |||
| E07 | Generator operation | Water is flowing through the pump hydraulics, but pump has no mains voltage | Check mains voltage |
| E11 | Dry run | Air in the pump | Check volumetric flow rate/water pressure |
| E21 | Overload | Sluggish motor, pump is opera- ted outside of its specifications (e.g. high module temperature). The speed is lower than during normal operation. | Check the ambient conditions |
| Fault signals is indicated by the LED display. Fault signal LED lights up red. | |||
| E04 | Undervoltage | Power supply too low on mains side | Check mains voltage |
| E05 | Overvoltage | Power supply too high on mains side | Check mains voltage |
| E10 | Blocking | Rotor blocked | Activate manual restart or con- tact customer service |
| E23 | Short-circuit | Motor current too high | Request customer service |
| E25 | Contacting/ winding | Winding defective | Request customer service |
| E30 | Excessive temperature of module | Module interior too warm | Check conditions of use |
| E36 | Module defective | Electronics defective | Request customer service |




Disassembly insulation
Remove






























