Paul Neuhaus 8109-17 Q Pendant Lamp Smart Home

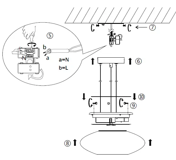
Montage as pendant light
Electrical connection
230 voltage/50 Hz Connection
Teach remote control
See Q-remote control manual


RESET
Reset the lamp, factory new
This device fulfils the fundamental requirements of Directive 2014/53/EU (Radio Equipment Directive) of the European Parliament and of the Council of the European Union dated 16.04.2014 on items of radio equipment.
The full declaration of conformity can be accessed at the Intenet-address given below.
SPECIFICATION
FEATURE
831490
230V/50 Hz~ 1x 25W LED-Board not changeable























