Klipsch KS-28 KS Series Bookshelf Speaker Stands

Product Information
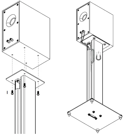
The product is a Klipsch device that requires assembly. It includes components labeled A1, A2, B, C, D1 (x8), D2 (x8), E (x8), F (x8), G (x8), H (x8), I (x8), J, K, and a cable management system. The product is compatible with other Klipsch products and has important safety instructions that should be followed. It is also registered under the trademark 204-B00274.
Product Usage Instructions
- Read the instructions carefully and keep them for future reference.
- Ensure all warnings are heeded and all instructions are followed for safe usage.
- Do not use the device near water and only clean it with a dry cloth.
- Do not block any ventilation openings and ensure proper installation according to manufacturer’s instructions.
- Do not install the device near any heat sources such as radiators or stoves.
- Only use attachments/accessories specified by the manufacturer.
- In case of troubleshooting, refer to the manufacturer’s website Klipsch.com or contact qualified service personnel.
- The cable management system should be properly installed.
- The device can be attached to other compatible Klipsch products.
- Refer to the instructions for assembly of the device.
INSIDE



ASSEMBLY





CABLE MANAGEMENT

ATTACH COMPATIBLE KLIPSCH PRODUCT

TROUBLESHOOTING
For more in-depth information and troubleshooting instructions visit Klipsch.com
IMPORTANT SAFETY INSTRUCTIONS
- READ these instructions.
- KEEP these instructions.
- HEED all warnings.
- FOLLOW all instructions.
- DO NOT use this apparatus near water.
- CLEAN ONLY with dry cloth.
- DO NOT block any ventilation openings. Install in accordance with the manufacturer’s instructions.
- DO NOT install near any heat sources such as radiators, heat registers, stoves, or other apparatus (including amplifiers) that produce heat.
- ONLY USE attachments/accessories specified by the manufacturer.
- REFER all servicing to qualified service personnel. Servicing is required when the apparatus has been damaged in any way, such as liquid has been spilled or objects have fallen into the apparatus, the apparatus has been exposed to rain or moisture, does not operate normally, or has been dropped.
This symbol indicates that there are important operating and maintenance instructions in the literature accompanying this unit.
WARNING: No user-serviceable parts inside. Refer all servicing to qualified service personnel.
3502 WOODVIEW TRACE, INDIANAPOLIS, IN, USA
KLIPSCH.COM
©2022, Klipsch Group, Inc. Klipsch Group, Inc. is a wholly-owned subsidiary of Voxx International Corporation.
Klipsch and Keepers of the Sound are trademarks of Klipsch Group, Inc., registered in the United States and other countries. The Bluetooth® word mark is a registered trademark owned by Bluetooth SIG, Inc. and any use of such mark by Klipsch Group, Inc. is under license.

This symbol indicates that there are important operating and maintenance instructions in the literature accompanying this unit.

















