
FQC8256 Smoked Glass LED Candle
Instruction Manual
LINQ Smoked Glass
LED Candle
FQC8256 & FQC8257 | Instruction Manual
Welcome to the LINQ family
FQC8256 Smoked Glass LED Candle
Thanks for purchasing one of our items! To ensure continuous operation and accuracy, please read these operating instructions carefully before use and save this manual for future use. Passing certain procedures may result in incorrect reading and incorrect use of this product. We hope that you will enjoy using your new LINQ-product! If by any chance the item is damaged, defective or broken, you are covered with warranty! Please do not hesitate to contact us for any questions, concerns or suggestions at the email address as mentioned in this manual.
Register your FlinQ product
We can imagine you want to treat your Flint item carefully.
Register your product and you will be entitled to the following:

https://www.flinqproducts.nl/registration
1 year extra warranty (2+1)
Personal support
Digital warranty certificate
Digital manual
Scan the QR code or go to fl inqproducts.nl/registration
Functions
Note: This battery operated candle is for indoor use only. Keep the candles away from kids.
This LED candle has 5 functions
- On
- Off
- Timer
2H on / 22H off
4H on / 20H off
6H on / 18H off
8H on / 16H off - Modes for candle light
- Dim function for increase of decrease of the brightness
Remote control
- infrared remote control
- CR2025 3V battery for the remote. Please make sure positive side is facing up.
- When you need to replace the battery, push the release button to the side and pull battery compartment out.
- The remote can be used between 5 and 10 meters from candle.
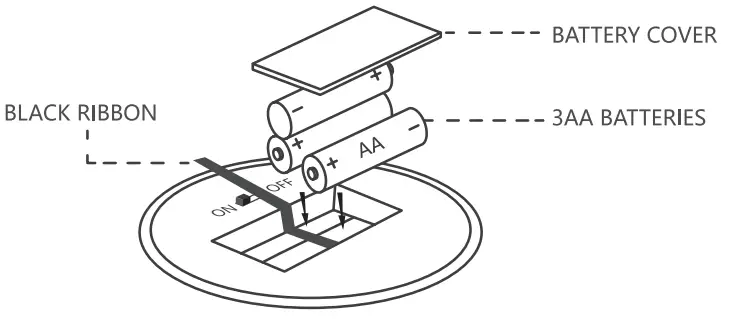
Battery assembly
- Push the tab on the battery cover on the side and open the battery cover.
- Please make sure the battery is free of dust before you insert them in the candle.
- Lay the black ribbon on the bottom of the battery compartment and place the batteries on top. When replacing the batteries pull the black ribbon to remove the batteries.
- Put the battery cover back in place.

Correct disposal of the product
(Waste Electrical & Electronic Equipment) J1: This marking shown on the product or its literature, indicates that it should not be disposed with other household wastes at the end of its working life. To prevent possible harm to the environment or human health tromp uncontrolled waste disposal, please separate this from other types of wastes and recycle it responsibly to promote the sustainable reuse of material resources. Household user should contact either the retailer where they purchased this product or !heir local government office for details of where and how they can take this item for environmentally safe recycling. Business users should contact their supplier and check the terms and conditions of the purchase contract. This product should not be mixed with other commercial wastes for disposal.
Disclaimer
Information in this document is subject to change without notice. The manufacturer does not make any representations or warranties (implied or otherwise) regarding the accuracy and completeness of this document and shall in no event be liable for any loss of profit or any commercial damage, including bulb not limited to special, incidental, consequential or other damage. No part of this document may be reproduced or transmitted in any form by any means, electronic or mechanical, including photocopying, recording or information recording and retrieval systems without the expressed written permission of the manufacturer.
Note: Remove the batteries from the product if it is not used for a long time (1 month or longer). For best results, you need to replace the batteries when the brightness of the light candle decreases and /or when the light candle stops working, or if remote control does not work anymore.
LINQ Commerce
Earwig 74
3755 LD
Emends (NL)
www.flinqproducts.nl
[email protected]


















