C2 Oral Irrigator

Instruction Manual
Thanks for choosing the Oral Irrigator. Before operating the product, please read the manual carefully and keep it for future reference.
IMPORTANT SAFEGUARDS
Al information n this section s provided 0 st you o the connect and safe operation of this device 50 that you can avold injury to yourself and others as wel & damage to property.
When using electrical products, especially when chiren are present, basic safety precautions should aways be followed, including the following:
READ ALL INSTRUCTIONS BEFORE USING (THIS APPLIANCE)
DANGER- To reduce the risk of electrocution:
- Always charge the product in a safe place away from water.
- Do not reach for the product that has fallen into the water while charging. Unplug immediately.
- Never charge with a damaged power cord or plug.
- Make sure the charging port is dry enough before connecting it to the power supply.
WARNING – To reduce the risk of bums, electrocution, fire, or injury to persons:
- Product should never be left unattended when plugged in.
- Close supervision is necessary when this product is used by, on, or near children or invalids.
- Use this product only for its intended use as described in this manual. Do not use attachments not recommended by the manufacturer.
- Never operate this product if it has a damaged cord or plug, if it is not working properly, i it has been dropped or damaged, or dropped into water. Return the product to a service center for examination and repair.
- Keep the cord away from heated surfaces.
- Never use while sleeping or drowsy.
- Never drop or insert any object into any opening or hose.
- Unplug this product before filling . Fill (reservoir) with water only unless otherwise specified by the manufacturer. Do not overfill (or specify filing instructions).
- Do not use, store or charge the appliance next to a fire or high-temperature environment.
SAVE THESE INSTRUCTIONS
IMPORTANT SAFEGUARDS
- This appliance can be used by chidden aged from 8 years and above and persons. with reduced physical, sensory or mental capabilities or lack of experience and knowledge if they have been given supervision or instruction concerning use of the appliance in a safe way and understand the hazards involved.
- Children shall not piay with the appliance. Cleaning and user maintenance shall not be made by chidden without supervision.
- This appliance contains batteries that are non-replaceable. When the battery is at the end of i, the appliance shall be properly disposed of.
- Do not expose the appliance or battery to excessive temperatures.
- Be aware of the risk of terminals of the battery-operated appliance or battery being short circuited by metal objects.
- The appliance must only be supplied at safety extra low voltage corresponding to the marking on the appliance.
- The power supply with output power not exceeding 15W in normal and abnormal working conditions must be used.
- Toddlers, infants, people who are unable to operates the device should not use it themselves. Please also keep it away and out of reach from children.
- Never try to alter, disassemble or repair the device.
- Do not il the tank with water warmer than 40 °C.
- If the external flexible cable or cord of this appliance is damaged, it shall be replaced by the manufacturer, a service agent or a similarly qualified person in order to avold any hazard.
- Keep the cord away from heated surfaces.
- Please do not use it f the nozzle is lost.
- D0 not use for any purpose other than oral cleaning.
- Keep nozzle away from young chidden. The nozzle Is small enough to swallow and can be lodged in the throat.
- Certain types of mouthwash may damage the equipment by cracking the housing or water reservoir. Therefore, do not use mouthwash in the water reservoir.
- People who experience tooth or gum pain may not be able to use this device and should consult there dentist before use.
- Do not press the nozzle too firmly against your teeth or gums, otherwise it will hurt your gums.
- Please use an adapter so that the voltage is 5.0V~1000mA during charging, otherwise the battery could be damaged by overcharging.
There is a built-in rechargeable lithium battery in the product. When disposing of the appliance, do not mix it with general household waste. It should be sent to the battery recycling center for disposal in accordance with local disposal management regulations.
Recycling & Environmentally Friendly Disposal
In order to protect the environment, after the expiration of the products service life, it should not be discarded in the same way as domestic garbage; please recycle at a professional recycling center. For further information on the recycling of this product, please consult your local municipality, processing service center, or the store where you purchased the product. You can help to protect the environment! Please remember to respect the local regulations, and hand in the non-working electrical equipment to an appropriate waste disposal center.
Design

- Standard Nozzle
- On/off Button
- Mode Indicator
- Mode Button
- Power Indicator
- Nozzle Unlock Button
- Charging Port Charger base)
- Water Inlet Pep
- Reservoir
- Reservoir Lid
Note:
There may be some liquid remaining insid the main device before use (1esenvor; water suction tube, etc), this is the remaining distilled water that was used for the performance (water fiow) test, 5o there are no heath concerns
How to Use
2.1 Nozzle / Mode / Intensity Introductions
Nozzle Introductions:
Standard Nozzle: Rinses debris or residues on teeth and gaps between teeth, keeps the oral cavity clean.
Tongue Scraper: To clean the coating of the tongue and reduce the growth of bacteria.
Mode Introductions:
Soft For gentle cleaning of sensitive gums, the water pressure will be 50-70par. A white mode indicator will turn on.
Normal: For normal cleaning, the water pressure will be 70-90psi. 2 white mode indicators will turn on under this situation. Potent For people who have high requirements of teeth and gum cleaning, the water pressure will be 90-120psi. All the 3 mode indicators will turn on.
Mode Indicators: The corresponding indicator light stays on when each mode is running. It will turn off when the cleaning process is complete.
2.2 Oral Irrigator Installation
Install and Detach the Water Reservoir
Install: Rotate the main body of the oral irrigator slightly to the left to align it with the opening of the water reservoir and place the body in the opening. Press the body into the water reservoir firmly, then rotate the body to the right side aligning it with the reservoir (see Reservoir Lock/Unlock Mark). The reservoir is installed after that (Figure 1)
Detach: Rotate the irrigator body to the left side to separate it from the reservoir(see Reservoir Lock/Unlock Mark), then pull the irrigator body up. (Figure 2)

Inserting and Removing Nozzles: (Figure 3)
Nozzle Install: Insert the nozzle into the port at the top of the oral irrigator handle. Press firmly until the nozzle clicks into place. There should be no gaps between the installed nozzle and the top cap of the irrigator, and it should fit snugly.
Nozzle Removal: To remove the nozzle from the handle, press the nozzle release button and pull the nozzle out of the handle.
CAUTION: Do not press the nozzle release button while the irrigator is running.
2.3 Charging the Oral Irrigator (Figure 4)
- Close the lid of the reservoir tightly before charging the oral irrigator to avoid water leakage.
- Take out the charging protection cap, insert the USB DC cable into the charging port (make sure there is no liquid residue in the charging port).
- Plug the charging adapter firmly into the power outlet The power adapter requires an output voltage of 5V-1A or 5V-2A.
- The ”
” flashes in the charging process. After the irrigator is fully charged, the white
” indicator stays on for 2 minutes and then turns off automatically. - Once the charging process is complete, put the charging protection cap back on the charging base.

Tips:
- When the irrigator is connected to a DC USB cable in its power-on state, the irrigator will stop working and switch to charging state.
- During the charging process, the irrigator can not be turned on to work.
- When the power of the irrigator is lower than 20%, the ” ED” flashes in red. When the power is lower than 3%, the red ” flashes 5 times and the irrigator automatically shuts down after that. The irrigator cannot work until it is fully charged for 4 hours.
2.4 Using the Oral irrigator.
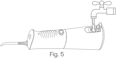
Open the lid of the reservoir and fill it with water which should not exceed 40°C, then close the lid. (Figure 5)
- Or, detach the reservoir down from the body of the irrigator, fill it with water which should not exceed 40°C, then reconnect the reservoir to the inigator body. (Figure 6)
- Press the “
* button to change the working mode after the irrigator turns on, the default mode keeps the same as last shutoff in that situation. - Hold the irrigator upright with the tip of the nozzle pointing toward the teeth.
- Slightly close your mouth but leave a slit so that water will not splash everywhere and it can flow out from your mouth.
- Press the “
* button to start the device, it will boot into the previous mode. Users can also stop it by pressing the *
“. The irrigator will enter a standby state and automatically turn off when not in use for 15 seconds.
Tips of Using Nozzies:
- Direct the stream of water at the teeth and gums at a 90-degree angle. Do not direct the flow of the water stream towards the teeth obliquely to avoid damaging the gums. (Figure 7-8)
- Stowly direct the flow of the water strearn along the teeth. (Figure 9)
- Direct the stream of water along the gum line with a 90-degree angle between the tip of the nozzle and the gum tissue.
- Set the irrigator to the lowest pressure setting, and place the tongue scraper in the center/middle of your tongue about halfway back. Pull it forward with light pressure. Increase the pressure towards the tongue as you prefer. (Figure. 10)

2.5 After Using the Oral Irrigator: (Figure 11)
After the cleaning process, please take off the nozzle from the irrigator, and drain the remaining liquid in the water reservoir to prevent the remaining liquid from breeding bacteria in the reservoir and the irrigator.
- Firmly hold the base then, press the nazzie unlock button to pull the nozzle out away from the base.
- Open the lid of the reservoir and pour out the water it contains. You can also detach the main body to remove the water reservoir, and then pour out the water from the top opening of the reservoir.
- Press the “
” button to turn on the irrigator, and drain the water in it. - Press the “
” button again to turn off the irrigator and close the reservoir lid. - Wipe the irrigator with a dry cloth.

Note:
To prevent the spread of bacteria, make sure there is no water left inside the irrigator. If you are not going to use this device for a long time, be sure to clean and dry it as soon as possible before storing it.
Troubleshooting(Q&A)
| Problem | Possible cause | Solution |
| It does not work | You’ve just purchased the product or it has been left unused for more than 3 months. | Charge the unit for at least 4 hours. |
| It only works for a few minutes even after charging | The battery has reached the end of its life cycle. | Contact customer service for help. |
| The charging time was insufficient. | Charge the unit for at least 4 hours. | |
| The water pressure is very low | There is a blockage in the nozzle. | Replace the nozzle. |
| The nozzle is deformed. | ||
| There is a blockage in the filter. | Clean the filter. | |
| Water does not come out | The reservoir is empty. | Fill up the reservoir. |
| The irrigator is too tilted during use. | Use the irrigator in a vertical state. | |
| There is a blockage in the unit. | Replace the nozzle and clean the water inlet pipe. | |
| Water leakage | The 3 small holes in the back of the irrigator leak. | Drain the accumulated water inside (Avoid it becoming smelly after a long time). |
| The nozzle is not installed in its place. | Press the nozzle release button and pull out the nozzle. Reinsert the nozzle until it clicks. | |
| Half of the nozzle is broken on the main body | The nozzle is loose or breaks when it is pulled hard from the body without pressing the nozzle release button. | Contact customer service for help by the link https://bitvae.com Or contact the email: [email protected] |
Specifications:
Working Temperature: 0-50°C
Working Voltage: DC3.7V
Input Voltage: DC5.0V
Input Current 5V-1A
Rated Power: 6.0-7.0W
Waterproof Rating: IPX7

UK REP
APEX CE SPECIALISTS LIMITED
89 Princess Street, Manchester, M1 4HT, UK
EC REP
APEX ES SPECIALISTS, S.L.
Calle Puerto de la Morcuera, 13, PL. 1 OF. 18-8 28919
Leganés Madrid
Clevo Innovation INC
2060 N COLLINS BLVD STE TiO RICHARDSON TX 75080
htips;//bitvae.com
[email protected]
+1972 679 9068
MADE IN CHINA
![]()
Open the lid of the reservoir and fill it with water which should not exceed 40°C, then close the lid. (Figure 5)


















