Iron-A-Way Ironing Center Installation Guide
AE-46 ANE-46 AE-42 ANE-42 UD-42
E-46 NE-46 E-42 NE-42 IAW-42
PRE-INSTALLATION
Please follow these Pre-Installation steps to ensure your ironing board will work properly in the installation location you have selected.
STEP ONE: Ironing Board Clearance
Begin by ensuring your desired installation location has adequate space for your selected model. Choose Recessed Mount or Surface Mount.

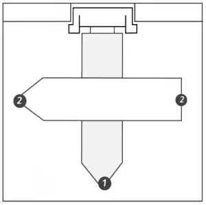
Fig 1.1
SWIVEL MODELS | FIG 1.1
AE-46 ANE-46 | AE-42 ANE-42 | UD-42 | ||
Distance from wall to tip of ironing board | Recessed Mount | 51’’ | 47’’ | 47’’ |
| Surface Mount | 55’’ | 51’’ | 51’’ | |
Clearance on both sides of cabinet for board to swivel | 16 7/8” | 15’’ | 15’’ | |
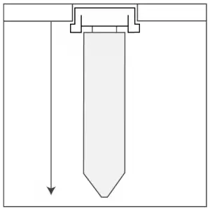
NON-SWIVEL MODELS |FIG 1.2

Fig 1.2
E-46 NE-46 | E-42 NE-42 | IAW-42 | ||
Distance from wall to tip of ironing board | Recessed Mount | 46’’ | 42’’ | |
| Surface Mount | 51’’ | 46’’ | 43 1/4” | |
STEP TWO: Standing Room & Door Clearances
It is recommended to have 16” on hinge side for the door to open flush against the wall and move out of the way of the board. This is a requirement for swivel models so that the board has clearance to turn. For comfortable standing room to iron, we recommend 24” clearance on the desired ironing side.
STEP THREE: Determine Mounting Height
Identify your desired ironing board height (typical ironing board is 35” to 36” high). Then subtract the number below based on the length of your model’s ironing board to determine mounting height (FIG 1.3). For adjustable swivel models, take into consideration the adjusted position of your ironing board, which is 4” higher than the normal, default position.

Fig 1.3
- 46” Boards: 11”
EX: Desired Height 35” – 11” = 24”
Mounting Height. - 42” Boards: 7”
EX: Desired Height 35” – 7” = 28”
Mounting Height. - UD-42: 16”
EX: Desired Height 30” – 16” = 14”
Mounting Height. - UD-42: 16”
EX: Desired Height 30” – 16” = 14”
Mounting Height.
STEP FOUR: Prepare Installation Location
After identifying your installation location, use a stud finder to locate necessary studs. Locate existing wiring or utilities to prevent drilling into or severing wires.
ADJUSTABLE SWIVEL
RECESSED MOUNT INSTALLATION
Models | AE-46, ANE-46, AE-42, ANE-42, UD-42
*** PLEASE NOTE: Under no circumstances should the ironing board and/or the support mechanism be removed from the cabinet during installation.
STEP ONE: Cut Rough-In Opening
Beginning with the mounting height determined in Step Three of Pre-Installation, cut an opening in the wall based on dimensions given below for your specific model:
AE-46, ANE-46, UD-42: 59 7/8” H x 14 3/8” W x 3 7/8” D |
AE-42, ANE-42: 51 1/4” H x 14 3/8” W x 3 7/8” D |
Next, attach a 2 x 4 cross support cleat (not provided) between studs, level with bottom of opening (FIG 2.1)

Fig 2.1
STEP TWO: Pre-Drill Holes
Using an 1/8” drill bit, pre-drill holes in both side walls of the cabinet, under the top shelf (1 hole per side), 2 1/2” from the back wall (FIG 2.2)

Fig 2.2
MODELS AE-46, AE-42, & UD-42: PLEASE REFER TO ELECTRICAL INSTRUCTION ON PG. 7 BEFORE PROCEEDING.
STEP THREE: Place Unit in the Wall
Carefully lift and place unit into the wall opening. Plumb and level the cabinet, shimming to fit if necessary
STEP FOUR: Secure Top of Cabinet .
Using pre-drilled holes from Step Two, attach cabinet to studs with two #10 x 1 1/2” provided screws for top installation (FIG 2.2).
STEP FIVE: Secure Bottom of Cabinet & Anchor Swivel
Locate swivel brackets near bottom of cabinet and remove top screws only from both sides. Pre-drill pilot hole into bracket and replace with two #14 x 2 1/2” provided screws (FIG 2.3). This will provide anchoring for your swivel.

PRO TIPS:
ELECTRICAL
If installing an electrical unit, remove electrical raceway before pre-drilling top installation holes for easier access.
WALL IRREGULARITIES
Decorative trim may be added to cover any irregularities in the wall after installation.
INSTALLATION COMPLETE!
ADJUSTABLE SWIVEL
SURFACE MOUNT INSTALLATION
Models | AE46, ANE-46, AE-42, ANE-42, UD-42
*** PLEASE NOTE: Under no circumstances should the ironing board and/or the support mechanism be removed from the cabinet during installation.
STEP ONE: Locate Stud & Pre-Drill Holes
Locate and mark stud on wall. Cut two 2 x 4 braces (not provided) to the desired mounting height to use for bracing the unit for installation.
Using 3/16” drill bit, pre-drill hole into the center of the top cleat of cabinet (FIG 3.1)

Fig 3.1
With 2 x 4 braces in place for support (FIG 3.2), place unit on wall, centering with desired stud.
Mark the location for mounting by placing the drill bit through the pre-drilled hole in cabinet. Dimple the wall by lightly pushing the drill bit into the dry wall. Set unit aside, then adjust location if not centered on stud, and pre-drill hole in wall for mounting.
MODELS AE-46, AE-42, & UD-42: PLEASE REFER TO ELECTRICAL INSTRUCTION ON PG. 7 BEFORE PROCEEDING.

Fig 3.2
STEP TWO: Install Unit on Wall
Partially insert one #14 x 4” screw into the pre-drilled cabinet hole. Then, using 2 x 4 braces, place unit back on the wall (FIG 3.2) and fully insert screw through cabinet cleat and into stud (FIG 3.1). Remove braces. Plum and level unit.
Using 3/16” drill bit, pre-drill hole through bottom cleat of cabinet into stud. Insert remaining #14 x 4” screw through cleat into stud to fully anchor the unit.
STEP THREE: Apply Trim
Apply trim [not provided] to sides of cabinet to flush the side wall with the cabinet trim (FIG 3.3) to create a sleek look.
Fig 3.3
Note: May use custom trim or purchase Surface Mount Trim from Iron-A-Way directly. Please call 1-800-536-9495 for more information.
STEP FOUR: Anchor Swivel
Locate swivel brackets near bottom of cabinet and remove top screws only from both sides, and replace with #14 x 1” screws [not provided] (FIG 3.4). This will provide anchoring for your swivel.

Fig 3.4
Note: #14 x 1” screws available upon request. Please call us at 1-800-536-9495.
INSTALLATION COMPLETE!
NON-SWIVEL
RECESSED MOUNT INSTALLATION
Models | E-46, NE-46, E-42, NE-42
*** PLEASE NOTE: Under no circumstances should the ironing board and/or the support mechanism be removed from the cabinet during installation.
STEP ONE: Cut Rough-In Opening
Beginning with the mounting height determined in Step Three of Pre-Installation, cut an opening in the wall based on dimensions given below for your specific model:
E-46, NE-46: 59 7/8” H x 14 3/8” W x 3 7/8” D |
E-42, NE-42: 51 1/4” H x 14 3/8” W x 3 7/8” D |
Next, attach a 2 x 4 cross support cleat (not provided) between studs, level with bottom of opening (FIG 4.1).

Fig 4.1
STEP TWO: Pre-Drill Holes
Using an 1/8” drill bit, pre-drill holes in both side walls of the cabinet, under the top and bottom shelves (2 per side), 2 1/2” from the back wall (4.2).
MODELS E-46 & E-42:
PLEASE REFER TO ELECTRICAL INSTRUCTION ON PG. 7 BEFORE PROCEEDING.
STEP THREE: Place Unit in the Wall
Carefully lift and place unit into the wall opening. Plumb and level the cabinet, shimming to fit if necessary.
STEP FOUR: Secure Cabinet
Finally, using pre-drilled holes from step three, attach cabinet to studs with four #10 x 1 1/2” provided screws (FIG 4.2).

Fig 4.2
PRO TIPS:
ELECTRICAL
If installing an electrical unit, remove electrical raceway before pre-drilling top installation holes for easier access.
WALL IRREGULARITIES
Decorative trim may be added to cover any irregularities in the wall after installation.
INSTALLATION COMPLETE !
NON-SWIVEL
SURFACE MOUNT INSTALLATION
Models | E46, NE-46, E-42, NE-42, IAW-42
*** PLEASE NOTE: Under no circumstances should the ironing board and/or the support mechanism be removed from the cabinet during installation.
STEP ONE: Locate Stud & Pre-Drill Holes
Locate and mark stud on wall. Cut two 2 x 4 braces (not provided) to the desired mounting height (determined in Step Three of Pre-Installation) to use for bracing the unit during installation.
Using a 3/16” drill bit, pre-drill hole into center of the top cleat of cabinet (FIG 5.1).

Fig 5.1
With 2 x 4 braces in place for support (FIG 5.2), place unit on wall, centering with desired stud.

Fig 5.2
Mark the location for mounting by placing the drill bit through the pre-drilled hole in cabinet. Dimple the wall by lightly pushing the drill bit into the dry wall. Set unit aside, then adjust location if not centered on stud, and pre-drill hole in wall for mounting.
MODELS E-46 & E-42:
PLEASE REFER TO ELECTRICAL INSTRUCTION ON PG. 7 BEFORE PROCEEDING.
STEP TWO: Install Unit on Wall
Partially insert one #14 x 4” screw (IAW-42 use #14 x 2 1/2” screw) into the pre-drilled cabinet hole. Then, using 2” x 4” braces, place unit back on the wall (FIG 5.2) and fully insert screw through cabinet cleat and into stud. Remove braces. Plum and level unit.
Using 3/16” drill bit, pre-drill hole through the center of the bottom cleat of cabinet into stud. Insert remaining #14 x 4” screw (IAW-42 use #14 x 2 1/2” screw) through cleat into stud to fully anchor the unit.
STEP THREE: Apply Trim
Apply trim [not provided] to sides of cabinet to flush the side wall with the cabinet trim (FIG 5.3) to create a sleek look (excludes IAW-42).

Fig 5.3
Note: May use custom trim or purchase Surface Mount Trim from Iron-A-Way directly. Please call 1-800-536-9495 for more information.
INSTALLATION COMPLETE !
ELECTRICAL INSTALLATION
Models | AE-46, E-46, AE-42, E-42, UD-42
ATTENTION:
TURN OFF POWER AT SERVICE ENTRANCE BEFORE INSTALLING, WIRING, OR SERVICING THIS PRODUCT
ITEMS TO NOTE
- Instructions for electrical models ONLY,
- DO NOT attempt to install your own outlet or
electrical hook-up in non-electrical models
NE-46, NE-42, ANE-46, ANE-42, or IAW-42. This can cause an electrial hazard and will void the warranty of your unit. - All electrical work must be done in accordance with all applicable electrical codes.
- SUPPLY LINE 110 Volt/15 AMPS.
STEP ONE: Prepare Electrical Raceway
TURN POWER OFF AT SERVICE ENTRANCE.
Then, begin installation by removing the screws at the top and bottom of electrical raceway to access the inside.
STEP TWO: Remove Electrical Knockout
Locate and remove the knockout at the top of the raceway and install a 3/8” Romex connector in its location.
If surface mounting, a vent hole will need be made
through the back side of the cabinet, 24 1/2” down from top of cabinet, and 2 13/16” from cabinet left side.
Verify that there is ample supply wire (48” is recommended) available to run from the top of the ironing center to the location of the provided black and white pigtails.

STEP THREE: Prepare Raceway
Begin to place the ironing center into its location (supported by cleat if recessed or with the 2 x 4 braces if surface mounted) while feeding supply wire through the designated vent hole.
Return to Swivel or Non-Swivel instructions to complete installation of unit to the wall. When finished, return to complete final steps here.
STEP FOUR: Connect Electrical Wires
A black and white pigtail are provided for electrical hook-up located near bottom of raceway. Connect supply wires to these pigtails.
DO NOT attempt to connect to any other location inside the electrical raceway. Doing so will cause the electrical features to malfunction.
A green ground wire is provided and secured with a star washer to the back of the electrical channel. Connect your own ground to that location or attach to the location opposite the existing ground and add your own star washer.
INSTALLATION COMPLETE !
SUPPLIED PARTS
SWIVEL MODELS
AE-46 ANE-46 AE-42 ANE-42 UD-42
RECESSED INSTALLATION
#10 x 1 1/2” Wood Screws (2)
#14 x 2 1/2” Phillips Screws (2)
SURFACE MOUNT INSTALLATION
#14 x 4” Wood Screws (2)
NON-SWIVEL MODELS
E-46 NE-46 E-42 NE-42 IAW-42
RECESSED INSTALLATION
#10 x 1 1/2” Wood Screws (4)
SURFACE MOUNT INSTALLATION
#14 x 4” Wood Screws (2)
IAW-42 ONLY
#14 x 2 1/2” Wood Screws (2)
SUPPLIES NEEDED
- Carpenter’s Level
- Tape Measure
- Utility Knife
- Drill
- 1/8” Drill Bit
- 3/16” Drill Bit (Surface Mount Installation)
- Small Flat Head Screwdriver
- Safety Glasses
- 2 x 4 Cross Support Cleat (Recessed Installation)
- 2 x 4 Brace (Surface Mount Installation)
Optional:
- Stud Finder
- 1/4” Nut Driver
Quick Reference | |
Swivel Models | Non-Swivel Models |
pg. 2 | Pre-Installation pg. 3 | Recessed Mount pg. 4 | Surface Mount | pg. 2 | Pre-Installation pg. 5 | Recessed Mount pg. 6 | Surface Mount |

Still have questions?
We’re here to help!
1-800-536-9495
[email protected]
M-F 8am-4:30pm CST



















