Offgridtec 1-01-011205 Remote Meter Display for MPPT Pro Duo Charge Controller

Important Safety Instructions
Thank you for selecting the remote meter.
General safety information
- Please contact our company or transportation if the product has been damaged.
- Please read this manual carefully before using the product and pay attention to the safety information.
- Keep the product away from rain, exposure, severe dust, vibrations, corrosive gas and intense electromagnetic interference.
- Do not allow water to enter the product.
- There are no user serviceable parts inside the product. Do not disassemble or attempt to repair it. Recommendations
- Please confirm that Offgridtec Remote Meter is only allowed to connect with Offgridtec MPPT PRO DUAL series controllers before purchase.
- Please do not install Offgridtec Remote Meter in a situation with strong electromagnetic interference.
Overview
The remote meter is an accessory that is compatible with the Offgridtec MPPT PRO DUO series controller. It can monitor the running data and working status of the controller via the remote meter. The remote meter can browse the controller’s parameters, set the battery type and temperature unit, and clean the generated energy. It is suitable for RV, Camper, Boat, and so on.
Features
- Automatically identify and display the type, model and relevant parameter data of controllers;
- Real-time display the operational data and working status of the connected devices in digital, graphics and textual forms by a large-screen multifunction LCD;
- Three touch buttons are easy and quick to operate.
- Both data and power flowing on the same lead, no need for external power;
- It can browse the controller’s parameters, set the battery type and temperature unit, and clean the generated energy.
- Real-time display of failure information of the connected devices;
- Longer communication distance based on RS485.
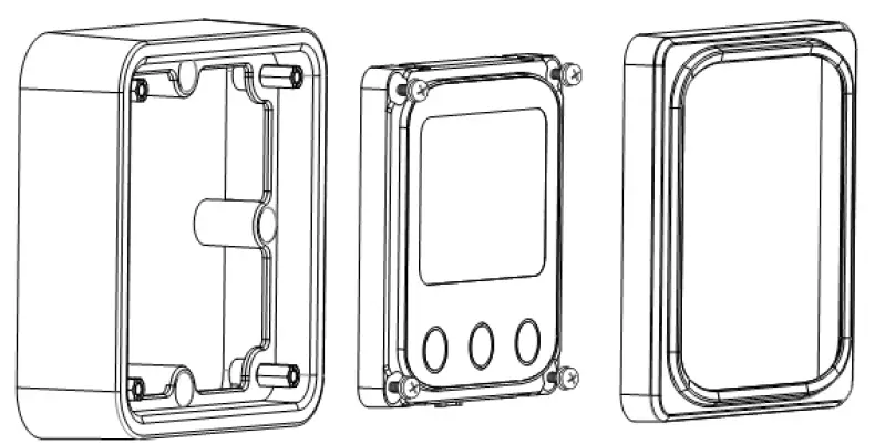
Installation
Base of Remote Meter

Wall installation steps
Step1:
Locate and drill screw holes based on the Frame Mounting dimension of the base, and erect the plastic expansion bolts;
Step 2:
Use four PA4.2×32 self-tapping screws to fix the Frame;
Step 3:
Remove the decorative shell.
Step 4:
Use four M4×8 pan head screws to mount MT11 Surface on the Frame;
Step 5:
Install the decorative shell.

Steps of surface mounting
Step 1:
Locate and drill screw holes based on the installation size of the Surface.
Step 2:
Remove the decorative shell
Step 3:
Use four M4×8 cross recessed pan head screws with M4 nuts to mount MT11 Surface onto the panel.
Step 4:
Install the decorative shell
Note: Take full consideration of the plugging/unplugging space of the communication cable and the length of the cable during installation to see if they are appropriate.
Product Features
Front View
LCD display screen
Man-machine interaction operation interface. Refer to the chapter 5 display and operation
Buttons
The meter buttons include two function buttons and one switch button.
Rear View
RS485 communication port
It is used to connect the controller which Power the Remote Meter.
Pins definition

Display and operation
LCD Display

- Battery power capacity is calculated by the linear relationship between the disconnect voltage of low voltage and float charging voltage.
Auto global view mode
Operation:
- Step1: Press the
button,
is appear. - Step2: Press the
button, select the
.
Echo Loop:
- PV voltage — PV current — PV power—Battery power — BATT1 voltage — BATT1 current — Max. BATT1 voltage — Min.BATT1 voltage — BATT1 temperature — BATT1 battery type —
- BATT2 voltage — BATT2 current — Max. BATT1 voltage — Min.BATT2 voltage — PV voltage

Temperature units
Operation:
- Step1: Press the
button under the battery temperature interface. - Step2: Press the
button to select the temperature unit. - Step3: Press the
button to set successfully.
Clear the generated energy
Press the
and
button and hold on 5s to clear the generated energy.
Battery type
Operation:
- Step1: Press the
button and hold 5s under the battery type interface. - Step2: Press the
button when the battery type interface is flashing. - Step3: Press the
button to confirm the battery type.
Battery type

- The battery voltage is set as default and not changeable when selecting the default battery type. Please change to “User” battery type before adjusting the battery voltage.
- Set the voltage of the “User” battery type via PC software only.
Lead-acid Battery Control Voltage Parameters
The parameters are in the 12V system at 25 ºC. Please double the values in the 24V system.
NOTE
- When the battery type is sealed, gel, flooded, the adjusting range of equalizing duration is 0 to180min, andboost duration is 10 to180min.
- he following rules must be observed when modifying the value of the parameter in user battery type(factorydefault value is the same as sealed type):
- Over Voltage Disconnect Voltage > Charging Limit Voltage ≥ Equalize Charging Voltage ≥ Boost ChargingVoltage ≥ Float Charging Voltage > Boost Reconnect Charging Voltage.
- Over Voltage Disconnect Voltage > Over Voltage Reconnect Voltage
- Low Voltage Reconnect Voltage > Low Voltage Disconnect Voltage ≥ Discharging Limit Voltage.
- Under Voltage Warning Reconnect Voltage > Under Voltage Warning Voltage ≥ Discharging Limit Voltage.
- Boost Reconnect Charging voltage > Low Voltage Disconnect Voltage.
Lithium Battery Control Voltage Parameters
The parameters are in the 12V system at 25 ºC; please double the values in the 24V system.
The following rules must be observed when modifying the parameter values in User for the lithium battery.
- Over Voltage Disconnect Voltage>Over charging protection voltage(Protection Circuit Modules(BMS))+0.2V※;
- Over Voltage Disconnect Voltage>Over Voltage Reconnect Voltage=Charging Limit Voltage ≥ Equalize ChargingVoltage=Boost Charging Voltage ≥ Float Charging Voltage>Boost Reconnect Charging Voltage;
- Low Voltage Reconnect Voltage>Low Voltage Disconnect Voltage ≥ Discharging Limit Voltage;
- Under Voltage Warning Reconnect Voltage>Under Voltage Warning Voltage≥ Discharging Limit Voltage;
- Boost Reconnect Charging voltage> Low Voltage Reconnect Voltage;
- Low Voltage Disconnect Voltage ≥ Over-discharging protection voltage (BMS)+0.2V.
- The voltage parameters of the lithium battery can be set, but you must refer to the voltage parameters of lithium battery BMS.
- The required accuracy of BMS shall be at least 0.2V. If the deviation is higher than 0.2V, the manufacturer will assume no liability for any system malfunction caused by this.
Fault indicate

- No alarm for limited voltage fault when using Lithium batteries.
Technical Specifications

- Allgemeine Informationen
- Offgridtec GmbH
- Im Gewerbepark 11
- 84307 Eggenfelden
- WEEE-Reg.-Nr. DE37551136
- Email: [email protected]
- Web: www.offgridtec.com
- Konto: 10188985
- BLZ: 74351430
- IBAN: DE69743514300010188985
- BIC: BYLADEM1EGF (Eggenfelden)





















