ASSEMBLY INSTRUCTIONS
LKO-CY35495 Woven Rope Series Natural Bed Bench
IMPORTANT
- We suggest you read through this leaflet and follow the simple step-by-step instructions.
- Carefully check that you have all parts before beginning assembly.
- Keep fittings out of children’s reach and keep children well away from the assembly area.
- We recommend using the packaging to protect surfaces during assembly.
WARNING Handle wood components with care during assembly as they can scratch easily.
| No. | Illustration | Description | QTE/QTY | No. | Illustration | Description | QTE/QTY |
| 1 | Seat | 1 | 3 | Bar | 2 | ||
| 2 | Legs | 2 | |||||
| A | Long screw | 4 | D | Spring washer | 4 | ||
| B | Short screw | 4 | E | Allen key | 1 | ||
| C | Flat washer | 4 |
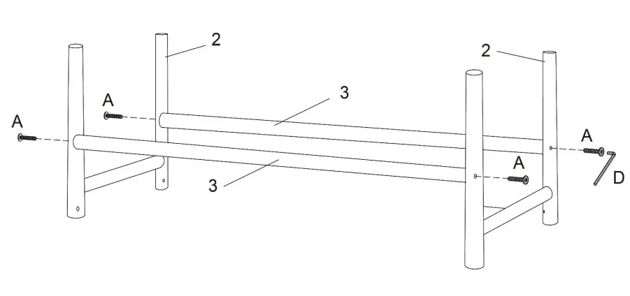
- Attach 2 x bar (3) to 2 x legs (2) using 4 x long screw (A). Tighten loosely with the Allen key (D).

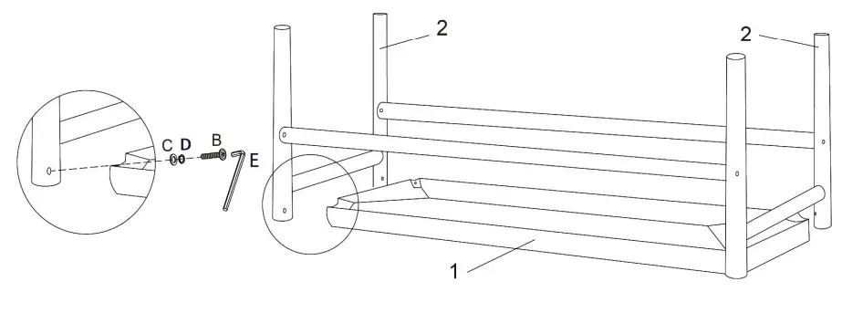
- Attach the frame assembled in step 1 to the seat (1) using 4 x flat washer (C), 4 x spring washer (D) and 4 x short screw (B). Tighten loosely with the Allen key (E). Then, tighten all screws tightly.
























