KAYOBA 019793 Tent Bed Instruction Manual

OPERATING INSTRUCTIONS
Important! Read the user in- carefully before use. save them fur future reference. Translation of the original instructions)
Important! Read the user instructions carefully before use. Save them for future reference. Jula reserves the right to make changes. For latest version of operating instructions, see www.jula.com
JULA AB, BOX 363, SE-532 24 SKARA
© Jula AB 2022-08-03








SAFETY INSTRUCTIONS
Important, save for future reference: Read carefully.
- For household use
- Clean the product with a damp cloth and mild Strong detergents/solvent must not be used on this product.
- Store the product indoors when not in Recycle discarded product at designated station.
- Max weight 120
- Be careful when unfolding and folding. Risk of pinch injury.
SYMBOLS

TECHNICAL DATA

DESCRIPTION
Folding camp bed with bag.
ASSEMBLY
- Take the folded product and 2 end-stays (D, E) out of the bag.
FIG. 1
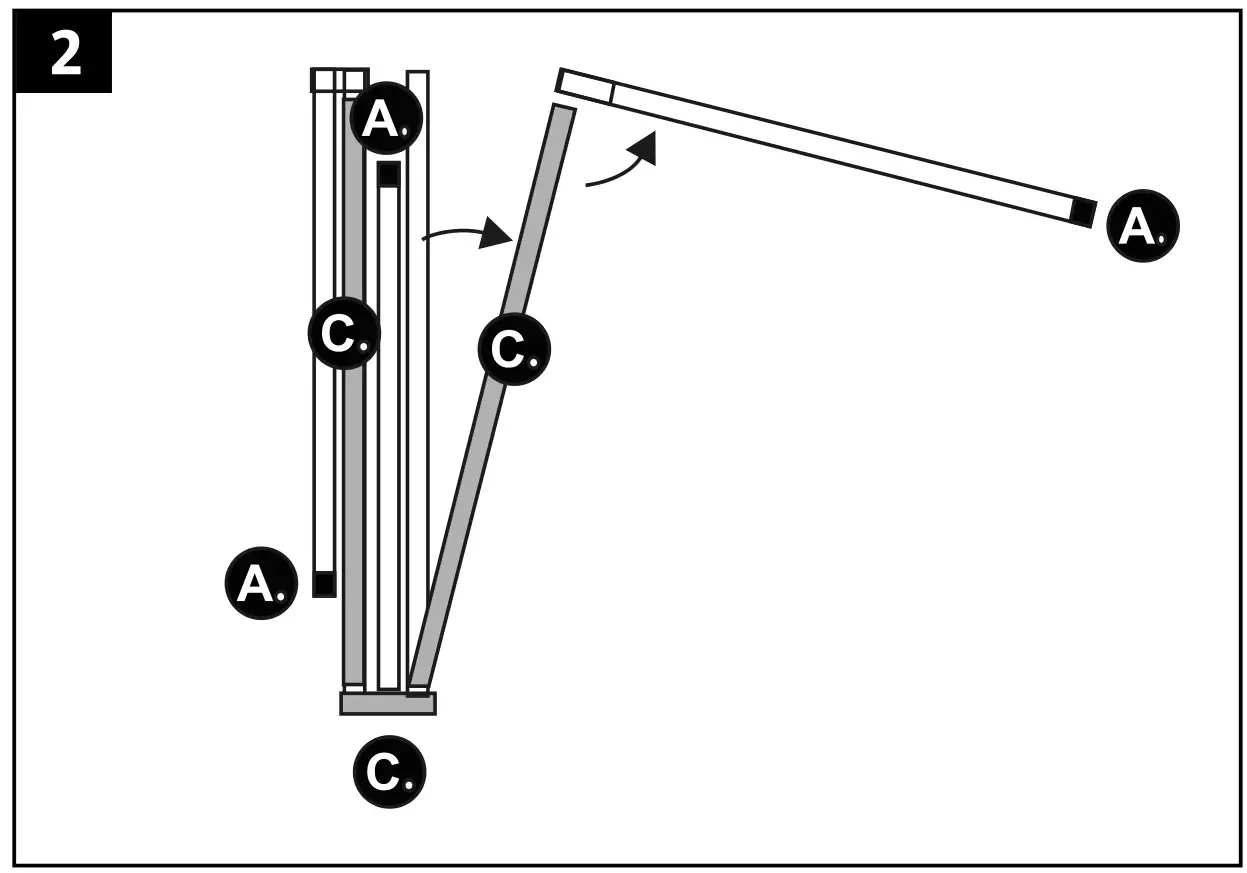
- Pull the leg (A) up and out, pulling down part (C) down and out at the same time.
FIG. 2
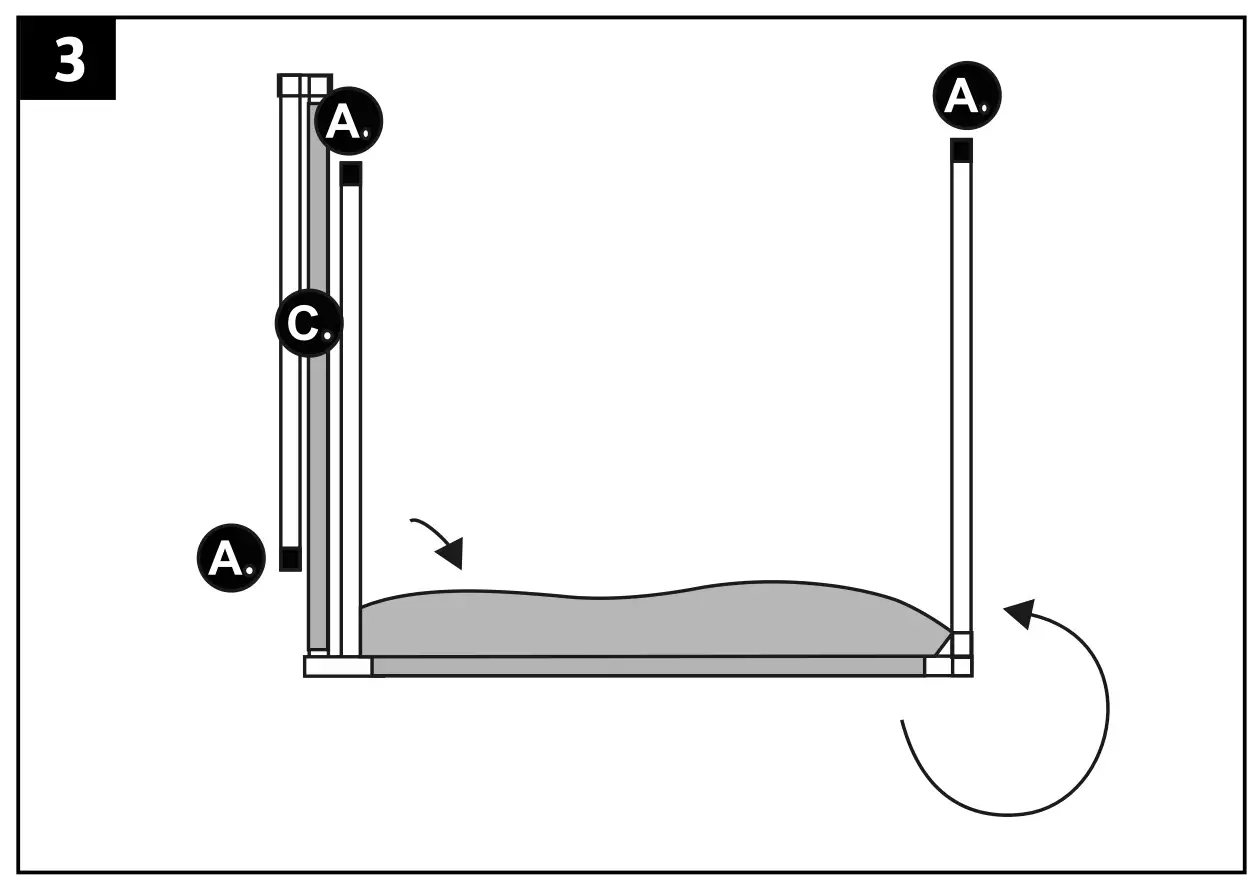
- Part (C) should rest level on the Part (A) should be vertical and at right angles to (C).
FIG. 3
- Repeat steps 2 and 3 on the other side of the product until all the legs (A) are unfolded and point up and both parts (C) rest on the floor.
FIG. 4
- To spread out the product, pull the parts (B) so that they form an X and lock in place.
FIG. 5
- Turn over the product so that it stands with the legs on the Put the end-stay (D) in the fabric at the head and foot end. Lock in place on the frame with the help of the holes in part (D).
FIG. 6
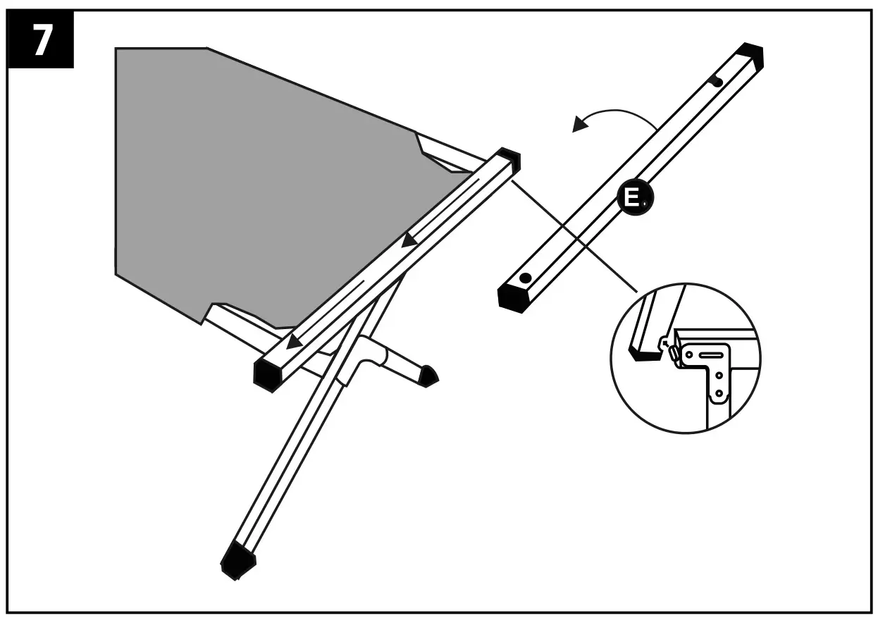
- Put the end-stay (E) in the fabric at the head and foot end. Lock in place on the frame with the help of the holes in part (E).
FIG. 7
- The product is now ready to use. Check that it feels stable.
FIG. 8

















