IKA C-MAG HS 7 Magnetic Stirrer with Heating and Ceramic Heating Plate

Safety instructions
General information
- Read the operating instructions in its entirety before using the device and follow the safety instructions.

- Keep the operating instructions in a place where it can be accessed by everyone.
- Ensure that only trained staff work with the device.
- Follow the safety instructions, guidelines, occupational health
and safety and accident prevention regulations. - Electrical outlet must be grounded (protective ground contact).
- Attention – Magnetism!
Effects of the magnetic field have to be taken into account (e.g. data storage media, cardiac pacemakers…). - Risk of burns!
Exercise caution when touching parts of the housing and the heating plate.
The heating plate can reach dangerous temperatures. Pay attention to the residual heat on the heating plate after switching off the stirrer.
The device may only be transported when the heating plate has cooled down.
Device design
- Do not use the device in explosive atmospheres, it is not EX protected.
- With substances capable of forming an explosive mixture, appropriate safety measures must be applied, e.g. working under a fume hood.
- To avoid body injury and property damage, observe the relevant
safety and accident prevention measures when processing hazardous materials. - Set up the device in a spacious area on an even, stable, clean, non-slip, dry and fireproof surface.
- The feet of the device must be clean and undamaged.
- Ensure that the power cord set / temperature sensor cable does not touch the heating plate.
- Check the device and accessories for damage before each use. Do not use damaged components.
- Do not use the device if the ceramic set-up surface is damaged e.g. scratches, splinters or corrosion. A damaged set-up surface could break if used.
Permissible medium / contaminants / side reactions
- Only process media that will not react dangerously to the extra
energy produced through processing. This also applies to any extra energy produced in other ways, e.g. through light irradiation. - Beware of hazards due to:
- flammable materials,
- combustible media with a low boiling temperature,
- glass breakage,
- incorrect container size,
- overfilling of media,
- unsafe condition of container.
- Process pathogenic materials only in closed vessels under a suitable fume hood.
- In unsupervised and safe operation, this device may only handle or heat media whose flash point is above the set safety temperature limit. (Flashpoint min.: 575 °C, acc.to EN 61010-2-010)
- The heating plate can heat up due to the action of the magnets at high motor speeds, even if the heater is switched off.
- Please consider any possible contaminations and unwanted chemical reactions.
- It may be possible for wear debris from rotating accessory parts to reach the material being processed.
- When using PTFE-coated magnetic bars, the following has to be noted: Chemical reactions of PTFE occur in contact with molten or solute alkali metals and alkaline earth metals, as well as with fine powders of metals in groups 2 and 3 of the periodic system at temperatures above 300 °C – 400 °C. Only elementary fluorine, chlorotrifluoride and alkali metals attack it; halogenated hydrocarbons have a reversible swelling effect. (Source: Römpps Chemie-Lexikon and ”Ulmann”, Volume 19)
Procedures during sample runs
- Wear your personal protective equipment in accordance with the hazard category of the media to be processed. There may be a risk from:
- plashing and evaporation of liquids,
- ejection of parts,
- release of toxic or combustible gases.
- Position the knob at the left stop before starting up. Gradually increase the speed.
- Reduce speed if:
- medium splashes out of vessel because the speed is too high,
- device is not running smoothly,
- container moves on the base plate,
- an error message is displayed.
Accessories
- Safe operation is guaranteed only with the use of original IKA accessories.
- Always disconnect the plug before attaching accessories.
- Accessories must be securely attached to the device and cannot come off by themselves. The centre of gravity of the assembly must lie within the surface on which it is set up.
- Observe the operating instructions of the accessories.
Power supply / Switching off the device
- The device will automatically restart following any interruption to the power supply.
- The voltage stated on the type plate must correspond to the mains voltage.
- The outlet for the mains plug must be easily accessible.
- The device can only be disconnected from the mains outlet by pulling out the power cord set or the connector plug.
For protection of the equipment
- The device may only be opened by qualified and IKA approved experts.
- Do not cover the device, even partially e.g. with metallic plates or film. This may result in overheating.
- Protect the device and accessories from bumps and impacts.
- Keep the base plate clean.
- Observe the minimum distances:
- between devices min. 100 mm,
- between device and wall min. 100 mm,
- above the device min. 800 mm.

Intended use
Use
- The magnetic stirrer is suitable for mixing and / or heating substances
Area of use
- Indoor environments similar to that a laboratory of research, teaching, trade or industry area.
- The safety of the user cannot be guaranteed:
- if the device is operated with accessories that are not supplied or recommended by the manufacturer,
- if the device is operated improperly or contrary to the manufacture’s specifications,
- if the device or the printed circuit board are modified by third parties.
Unpacking
Unpacking
- Please unpack the device carefully
- In the case of any damage a detailed report must be sent immediately (post, rail or forwarder)
Scope of delivery
- Heating magnetic stirrer / Magnetic stirrer / Heating device
- Mains cable
- Operating instructions
Commissioning
| MS 4 | MS 7 | MS 10 | HS 4 | HS 7 | HS 10 | HP 4 | HP 7 | HP 10 | |
| Commissioning | Put device switch (A) in the OFF position. | ||||||||
| Plug in mains cable (G). | |||||||||
| Once connected to the power supply the device is in “stand-by” mode. | |||||||||
| The right decimal point on the display (C) is lit. | |||||||||
| Stirring | Put device switch (A) in the ON position. | ||||||||
| Any set values are retained when device is switched off and even after the device is disconnected from the power! | |||||||||
| Set the engine speed with the operating button (E) on the right. | |||||||||
| Heating | Put device switch (A) in the ON position. | ||||||||
| Any set values are retained when device is switched off and even after the device is disconnected from the power! | |||||||||
| Set the target temperature for the heating plate using operating button (D) [for VHP (E)]. | |||||||||
| The set value is indicated on the display (C). If energy is being supplied to the heating plate, the red LED (B) lights up. | |||||||||
| In the stir and stand-by modes, flashes on the display after the heat has been switched off for as long as the temperature of the set-up surface exceeds 50 °C. | |||||||||
| Contact thermometer connection | Put device switch (A) in the OFF position, unplug contact plug. | ||||||||
| Safety contact thermometer connected with jack (H). | |||||||||
| Put device switch (A) in the ON position. | |||||||||
| Beware the instruction manual of the contact thermometer. | |||||||||
| Notice: Display (C) also indicates the target temperature of the heating plate when the contact thermometer is connected. | |||||||||
Error codes (HS / HP)
Any malfunctions during operation will be identified by an error message on the display (C).
Proceed as follows in such cases:
- Whenever an error message appears switch the device off to cool down
- Carry out corrective measures
- Restart device
| Error code | Cause | Solution |
| E1 | Temperature inside device too high |
|
| E6 | Motor blockage |
|
| E9 | Safety circuit ETC |
|
If the actions described fail to resolve the fault or another error code is displayed then take one of the following steps:
- Contact the service department,
- Send the device for repair, including a short description of the fault.
Maintenance and cleaning
The device is maintenance-free
Cleaning
- For cleaning disconnect the mains plug!
- Use only cleaning agents which have been approved by IKA to clean the devices:
Water containing surfactant / isopropyl alcohol. - Wear protective gloves during cleaning the devices.
- Electrical devices may not be placed in the cleansing agent for the purpose of cleaning.
- Do not allow moisture to get into the device when cleaning.
- Before using another than the recommended method for cleaning or decontamination, the user must ascertain with IKA that this method does not destroy the device.
Spare parts orde
When ordering spare parts, please give:
- device type.
- serial number, see type plate.
- position number and description of spare part, see www.ika.com
Repair
Please only send devices in for repair that have been cleaned and are free of materials which might present health hazards.
For repair, please request the “Safety Declaration (Decontamination Certificate)” from IKA or use the download printout of it from IKA website at www.ika.com
If your appliance requires repair, return it in its original packaging. Storage packaging is not sufficient when sending the device – also use appropriate transport packaging
Accessories
- For further accessories see www.ika.com
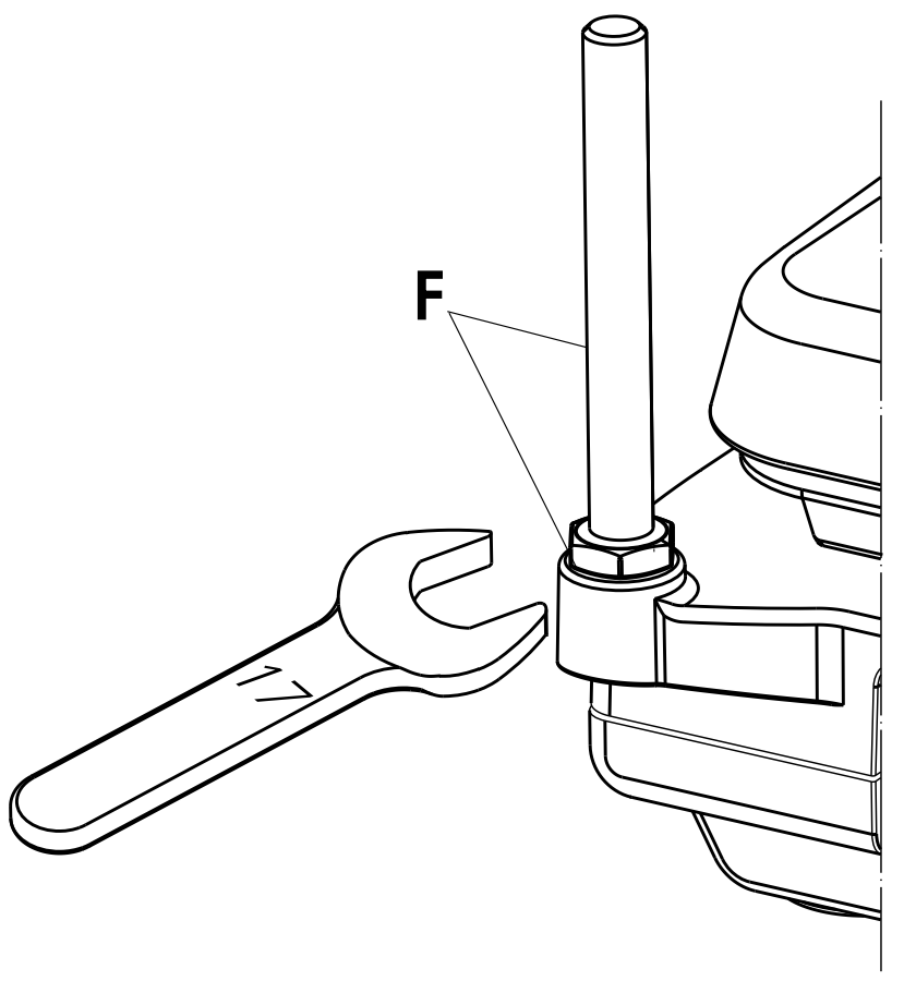
Assembling the stand
- Remove screw plugs (F).
- Remove the protective cap from the support rod.
- Put the washer between housing and nut.
- Screw the support rod onto the device by hand until the end stop is reached.
- Use an A/f 17 spanner to tighten the M10 nut.
- Accessories should be attached using cross sleeves.

Technical Data
| MS4 | HS 4 | HP4 | MS7 | HS 7 | HP7 | MS10 | HS 10 | HP10 | ||
| Operating voltage | Vac | 230±10% | ||||||||
| Vac | 120 ± 10% | |||||||||
| Vac | 100 ± 10% | |||||||||
| Nominal voltage | Vac | 230 I 50 Hz | ||||||||
| Vac | 120 / 60 Hz | |||||||||
| Vac | 100 / 60 Hz | |||||||||
| Frequency | Hz | 50/ 60 | ||||||||
| Input power max. at 230 Vac 120 Vac 100 Vac | W | 30 30 30 | 270 270 270 | 255 255 255 | 30 30 30 | 1020 1020 1020 | 1005 1005 1005 | 30 30 30 | 1520 1520 1070 | 1505 1505 1055 |
| Power consumption in stand- by mode | W | 2.5 | ||||||||
| Permissible duration of operation | C | 100 | ||||||||
| Permissible ambient temperature | C | + 5 … + 40 | ||||||||
| Permissible relative humidity | % | 80 | ||||||||
| Protection type acc. DIN EN 60529 | IP 21 | |||||||||
| Protection class | I | |||||||||
| Overvoltage category | II | |||||||||
| Contamination level | 2 | |||||||||
| Operation at a terrestrial altitude | m | max. 2000 | ||||||||
| Dimensions N x D x H) | mm | 150 X 260 X 105 | 220 X 335 X 105 | 300 X 415 X 105 | ||||||
| Weight | kg | 3 | 5 | 6 | ||||||
Warranty
In accordance with IKA warranty conditions, the warranty period is 24 months. For claims under the warranty please contact your local dealer. You may also send the machine direct to our factory, enclosing the delivery invoice and giving reasons for the claim. You will be liable for freight costs.
The warranty does not cover worn out parts, nor does it apply to faults resulting from improper use, insufficient care or maintenance not carried out in accordance with the instructions in this operating manual.

IKA-Werke GmbH & Co. KG
Janke & Kunkel-Straße 10, 79219 Staufen, Germany
Phone: +49 7633 831-0, Fax: +49 7633 831-98
eMail: [email protected]
UNITED KINGDOM
IKA England LTD.
Phone: +44 1865 986 162
eMail: sales.[email protected]
Discover and order the fascinating products of IKA online:
www.ika.com





















