RUNHOOD HE600 Portable Power Station

Product Information
- Product Name: RUNHOOD Portable Power Station
- Model Number: Not specified
- Input Voltage: 110V
- Frequency: 60Hz
Product Usage Instructions
Product Safety Guidelines
Before starting, please carefully read all instructions before using the RUNHOOD Portable Power Station.
Warning
DO NOT expose the RUNHOOD Power Station to liquid or to rain, snow, hail, etc. DO NOT submerge the RUNHOOD Power Station in water. Exposure to water may cause chemical decomposition of the battery resulting in combustion. Please contact our service department for assistance on such occasions.
Product Use
- Only use RUNHOOD batteries with this product. RUNHOOD takes no responsibility for any damage caused by using other batteries.
- Using the product in extreme temperatures can affect its performance. The shorter the working time may be.
- Avoid using the product in a strong electrostatic or electromagnetic environment as it may cause the battery control board to malfunction and cause serious hazards during use.
- DO NOT pierce the product as it may cause leakage or fire hazards.
- DO NOT use the product if it is involved in a crash or a heavy impact.
- If the product is submerged in water during use, remove it immediately and leave it in a safe and open area until completely dry. Dispose of it as described in the Battery Disposal section= below.
- If the product catches fire, it is recommended to use fire extinguishing equipment in the following order: water, sand, fire blanket, dry powder, carbon dioxide fire extinguisher.
- DO NOT put the device inside a microwave oven or a pressurized container.
- DO NOT insert pins, wires, or other metals into the device case, outlets, or controls as it may short circuit the product.
- Avoid collision.
Product Charging
Not specified in the provided text.
Product Storage & Transportation
Not specified in the provided text.
Battery Disposal
Not specified in the provided text.
Product Maintenance
Not specified in the provided text.
Travel Notice
Not specified in the provided text.
Introduction of Modules
- HOST ENGINE 600 (HE600)
- LED Flashlight: There are three lighting forms of the LED light
– strong, weak, and S.O.S signal flash. Press the button once to
turn on the strong light, press it for a second time to turn on the
weak light, press it for a third time to turn on the S.O.S. signal
flash, and press it for a fourth time to turn off the light. - Master Power On/Off
- DC Input: Adapter/Car Charger/Solar Charger
- AC On/Off
- DC On/Off
- USB-C PD 100W Input/Output
- Car Port
- USB-A QC3.0 * 2
- DC Output * 2
- USB-C PD 100W Output
- 110V AC Outlet * 2
- LCD Display
- LED Flashlight: There are three lighting forms of the LED light
- AC ENGINE 80 (AE80)
- HOST ENGINE 600 (HE600)
Not specified in the provided text.
- USB ENGINE 256 (UE256)
Not specified in the provided text.
- ENERGY BAR 324 (EB324)
Not specified in the provided text.
Accessories
Not specified in the provided text.
DIY Combinations
- 648Wh 600W (HE600 * 1 + EB324 * 2)
- 324Wh 80W (AE80 + EB324)
- 324Wh 256W (UE256 + EB324)
Recharge Methods
- Instructions of recharging EB324 through HE600
- Instructions of recharging EB324 through UE256
- Instructions of multi-solar panel connection
Note: Single module DOES NOT have any function
unless combined with necessary modules. Combinations can be found
in the DIY Combinations section and Recharge Methods section.
WARNING
- 1. Keep dry and do not expose to high heat or water.
2. Improper use may result in fire, property damage or personal injury.
3. Recycle and dispose of battery in accordance with the local regulations.
4. Pay attention to safety when handling the product.
5. Children and those with impairments should operate with assistance.
RUNHOOD POWER INC.
3980-D Valley Blvd, Walnut, CA 91789
866-685-9868 (toll free
[email protected]
www.runhoodpower.com
110V 60Hz
PRODUCT SAFETY GUIDELINES
BEFORE STARTING
Please carefully read all instructions before using RUNHOOD Portable Power Station.
WARNING
- Keep RUNHOOD Power Station dry and do not expose to high heat or water.
- DO NOT disassemble or remove the protective covering.
- DO NOT puncture or incinerate the product or the accessories.
- Recycle and dispose of RUNHOOD Power Station in accordance with the local regulations.
- Pay attention to safety when handling the RUNHOOD Power Station.
- Children and those with impairments should operate the device with assistance.
- Improper use may result in fire, property damage or personal injury.
- Only use the product according to the safety guidelines.
PRODUCT USE
- DO NOT expose RUNHOOD Power Station to liquid or to rain, snow, hail, etc.
- DO NOT pierce the product. Doing so may cause leakage or fire hazard.
- DO NOT use the product if it is involved in a crash or a heavy impact.
- DO NOT put the device inside a microwave oven or a pressurized container.
- DO NOT submerge the RUNHOOD Power Station in water. Exposure to water may cause chemical decomposition of the battery resulting in combustion. Please contact our service department for assistance on such occasions.
- Only use RUNHOOD batteries with this product. RUNHOOD takes no responsibility for any damage caused by non- RUNHOOD Power Station batteries.
- The discharging temperature of Energy Bar 324 is -68~113 ° F/-20~45 ° C, while the charging temperature is 32~104°F/0~40°C. Failure to do so may result in hazard, permanent damage, or reduced performance.
- This product is recommended to be used at 68~77℉/20~25℃, otherwise, the higher the temperature, the shorter the working time may be.
- Using the batteries in a strong electrostatic or electromagnetic environment may cause the battery control board to malfunction and cause serious hazard during use.
- If the product is submerged in water during use, remove the product immediately and leave it in a safe and open area. Keep a safe distance until it is completely dry and dispose of it as described in the Battery Disposal section below. All components and modules of the power station previously submerged in water should not be used again under any circumstance.
- If the product catches fire, it is recommended to use fire extinguishing equipment in the following order: water, sand, fire blanket, dry powder, carbon dioxide fire extinguisher.
- DO NOT insert pins, wires, or other metals into the device case, outlets, or controls. Doing this may short circuit the product.
- Avoid collision.
- DO NOT place heavy objects on the device.
- Clean outlets and surfaces to avoid abrasion, energy loss and charging failures.
PRODUCT CHARGING
- Always use RUNHOOD Power Station approved charging cables. RUNHOOD takes no responsibility for any damage caused by using non-RUNHOOD charging cables.
- When charging, please place the product on the ground with no flammable or combustible materials around. To prevent accidents, never leave the device unattended during charging.
- DO NOT charge immediately after a long period of use for a high-power appliance. The product’s temperature may be too high. Allow the product to cool to room temperature. The ideal charging temperature ranging from71ºF to 82ºF (22°C to 28°C) will also extend the battery life.
- When recharging with adaptor and USB-C simonteniously, please do not charge any other appliances at the same time.
PRODUCT STORAGE & TRANSPORTATION
- Keep the product out of the reach of children. If any child swallows parts of the product, go to a doctor immediately.
- Charge the battery to a minimum of 60% of its full capacity before storing it. Otherwise, long-term storage may cause damage to the battery. It is recommended to charge and discharge once every three months.
- DO NOT place the product in direct sunlight or close to a heat source.
- Store the product in dry environment. DO NOT place the product where it may come into contact with water.
- DO NOT store or transport the device with glass, watches, jewelry or other metal objects.
BATTERY DISPOSAL
- Dispose of the product only after the battery has been completely discharged. Batteries contain hazardous chemicals. Follow your local regulations regarding battery disposal and recycling.
PRODUCT MAINTENANCE
- DO NOT store the product below -20°C or above 60°C.
- Battery life may be reduced if not used for a long time.
- Fully charge and discharge the battery at least once every 3 months to maintain battery capacity.
TRAVEL NOTICE
Lithium batteries and equipment with a power greater than 160Wh are not permitted on aircrafts. Do Not attempt to take this product on to any plane
RUNHOOD PORTABLE POWER STATION
NOTICE: Single module DOES NOT have any function unless combined with necessary modules. Combinations are found in the section of “DIY COMBINATIONS” and “RECHARGE METHODS”
INTRODUCTION OF MODULES
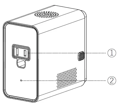
HOST ENGINE 600 (HE600)
- LED FLASHLIGHT
- MASTER POWER ON/OFF
- DC INPUT: ADAPTER/CAR CHARGER SOLAR CHARGER
- AC ON/OFF
- DC ON/OFF
- USB-C PD 100W INPUT/OUTPUT
- CAR PORT
- USB-A QC3.0 * 2
- DC OUTPUT * 2
- USB-C PD 100W OUTPUT
- 110V AC OUTLET * 2
- LCD DISPLAY
- LED FLASHLIGHT
There are three lighting forms of the LED light: strong,weak, S.O.S signal flash. Press the button once turns on the strong light. Press the button for a second time turns on the weak light. Press the button for a third time turns on the S.O.S. signal flashes. Press the button for a fourth time turns off the light. - MASTER POWER ON/OFF
Press and hold the power button to turn RUNHOOD Power Station on or off. Press and hold for 1 s to turn on; Press and hold for 3 s to turn off. When the RUNHOOD Power Station is on, the LCD Display Screen will light up. Press the power button to adjust the LCD backlight brightness and keep RUNHOOD Power Station running; If RUNHOOD Power Station is idle for 5 minutes, the LCD Display Screen will reduce the brightness of the backlight while the system is still working. RUNHOOD Power Station will automatically shut down if it is idle for more than 20 minutes (idle means no charging or discharging). - DC INPUT: ADAPTER/CAR CHARGER/SOLAR CHARGER
It is DC6530 interface. There are three ways to recharge HE600: through AC Adapter of RUNHOOD Power Station, RUNHOOD car charger cable, or Seri 100W. Parallel connection of solar panels is supported, but the DC input limits the input power to 200W max for system protection. Supports 12V/24V max 10A car power input (make sure the engine is on to avoid running out of battery). - AC ON/OFF
To enable AC power, press the AC power button, and the AC indicator will light up. When the power is 0%, the AC output and the AC indicator light will be off. When the power is more than 2%, the AC output will be normal again.
When OVERLOAD occurs, AC output stops working, while AC indicator is on to remind that the power station is protected; When AC and OVERLOAD icons flash together with warning buzzer, please press AC ON/OFF button to reset - DC ON/OFF
Press the DC ON/OFF button to turn on or off the RUNHOOD Power Station DC output and light up its icon. This button controls the RUNHOOD Power Station car charging port, two DC5521 outputs, and two USB-A outputs.
When OVERLOAD and DC5521 (or USB-A or car charging port) icons flash together with warning buzzer, which means the related output stops working, please disconnect the appliances and press DC ON/OFF button to reset.
When the power is less than 2%, the DC output stops working. If press the DC ON/OFF button, the DC output still fail to work and the buzzer will warn triple. Recharge the Power Station and it will be normal again if the power is more than 2%. - USB-C PD 100W INPUT/OUTPUT
Input: USB-C support max 100W input.
Output: USB-C can charge devices including laptops, smart phones, and any other devices with USB-C ports. The USB-C output indicator icon will light up automatically when the USB-C port is working. - CAR PORT
Car Port supports a maximum output current of 10A, which can be used for general on-board appliances. It can charge the 12V lead acid battery in the car (must be operated under the guidance of a professional). It is not an immediate ignition help but it helps to charge your car battery to a certain level to ignite. Actual charging time depends on the real-time situation of the car. - USB-A QC3.0
It can be used to charge various devices, such as smart phones, tablets, cameras, speakers, and other devices that can be recharged through a USB-A port with a maximum output of 28W each. - DC OUTPUT
Two DC5521 ports are designed to provide DC output of 12V, 5A each. - USB-C PD 100W OUTPUT
Output: USB-C can be used to charge devices including laptops, tablets, smart phones, and other devices with a USB-C port. - 110V AC OUTLET
Two output outlets for 110V AC of Pure Sine Wave are designed to provide power to your appliances with a maximum rated power of 600W only. Larger appliances with power greater than this are not supported. Please check and confirm before using to avoid any damage of property and personal safety. - LCD DISPLAY
Displays power and various messages of the product.- LCD CONTENT INTRODUCTION

- OVERLOAD WARNING
OVERLOAD icon and the corresponding module icons displayed. Please refer to Section 12.2. - REMAINING CHARGING/DISCHARGING TIME
The number indicates remaining charging/discharging time based on current power consumption rate of HE600 shown in minutes or hours. The remaining charging time is displayed when charging, while the remaining discharging time is displayed when discharging. The remaining discharging time is displayed when it is charging and discharging simultaneously. - BATTERY LEVEL INDICATOR
Shows the remaining battery capacity. The icon will be spinning when charging. - REAL-TIME INPUT WATTAGE
Shows the input power of HE600 in watts. - BATTERY CAPACITY PERCENTAGE
Remaining battery percentage will be displayed. - REAL-TIME OUTPUT
Shows the current output power of HE600 in watts. - ACTIVE ENERGY BAR INDICATOR
When EB324 is installed and the battery icon is displayed on HE600, it means the EB324 installed is normal. - FAN INDICATOR
Fan icon is displayed when the fan is working. - ACTIVE PORT INDICATORS
Indicating ports including USB-A, USB-C, Car, DC, and AC are active. - LOW TEMPERATURE INDICATOR
A low-temperature warning icon appeared on the screen is to warn that the temperature of the HE600 is too low. DO NOT charge or discharge under such circumstance since the system may don’t permit. Please place the product at normal room temperature and wait until it returns to working temperature. - HIGH TEMPERATURE INDICATOR
When the temperature of HE600 is too high, a high-temperature warning icon appeared on the screen is to warn that the temperature of the product is too high. DO NOT charge or discharge under such circumstance since the system may don’ t permit. Allow the product to cool before use. - MAJOR FAILURE INDICATOR
An exclamation mark is displayed when there is major failure of the BMS, battery, main control board, the inverter, or the interior communication.
WARNING INFORMATION AND INSTRUCTION
There are various icons combinations displayed on RUNHOOD Power Station to alarm the following warning messages.
| ICON | Warning Messages | Operation Instructions |
|
| USB-A Overload | USB-A and OVERLOAD icons flash together with warning buzzer. Disconnect appliances and press DC ON/OFF button to reset. |
|
| USB-C Overload | USB-C and OVERLOAD icons flash together with warning buzzer. The portable power station resets itself automatically after removing the load. |
![]() | Car Charger Overload | Car and OVERLOAD icons flash together with warning buzzer. Disconnect appliances and press DC ON/OFF button to reset. |
![]() | DC5521 Round Port Overload | DC and OVERLOAD icons flash together with a warning buzzer. Disconnect appliances and press DC ON/OFF button to reset. |
![]() | Inverter Output Overload | AC and OVERLOAD icons flash together with warning buzzer. Press AC ON/OFF button to reset. |
![]() | High Temperature | High temperature icon with a warning buzzer means the batteries have overheated. Please disconnect appliances with high rated power. The Power Station stops charging or discharging. Place the product in a ventilated area and wait for the device to cool down and reset automatically. If the device does not reset, please contact our product specialists at [email protected] |
![]() | Low Temperature | Low temperature icon with a warning buzzer means the temperature is too low for the batteries to work. Please disconnect appliances with high rated power. When low temperature icon is flashing and buzzer is alaming faster, all output from and input into the power station would be stopped. Allow the product to reach operating temperature and reset automatically. If the device does not reset, please contact our product specialists at service@runhood- power.com. |
![]() | Major Failure | When this icon is displayed, there is a major failure. Check for strong static or a magnetic field first, and restart the device. If the device fails to work again, please contact our product specialists at [email protected]. |
|
| Fan Warning | If fan icon is displayed but the fan is not working, please check the fan for a blockage. Turn off the device and carefully clean and vacuum around all vents before reuse. If the device fails to operate, please contact our product specialists at [email protected]. |
|
| Battery Warning | When two battery ICONS are displayed simultane- ously, this indicates the batteries of the system are working normally. When one battery icon fails to be displayed, this indicates that only one battery is working normally. The system will limit the total output power of AC and DC within 600W. |
| Buzzer Reminder | The system has a buzzer notification, which includes: Low power alarm: When power is less than 5%, the buzzer sounds periodically. The buzzer output can be turned off through the power switch or recharging the Power Station. Level I fault alarm: the buzzer sounds for 0.1s every 2s to report the fault only while the system is still working normally, and the buzzer can be shut off through the power switch.Level II fault alarm: the buzzer sounds for 0.1 s every 0.2 s and turns off the corresponding input or output. |
SPECIFICATION
HE600 SPECIFICATION
| Model | HE600 |
| Net Weight | 9.0 lbs. / 4.1 kg approx. |
| Dimension | 13 * 6.8 * 8.8 in / 33 * 17.3 * 22.4 cm |
| Capacity | 648Wh (battery not included) |
|
Input | Solar Panel 15V-23V 10A max. MPPT supported |
| Adapter 180W | |
| 1 * USB-C PD 100Wmax (5V DC/3A, 9V DC/3A, 15V DC/3A, 20V DC/5A) | |
| Car Charger 12V 10A 120W | |
| Fast Recharge | Recharge through Adapter and USB-C simultaneously. DO NOT using any AC or DC output when FAST RECHARGING. |
| AC Output (600W) | 2 * AC Output Pure Sine Wave 110V 60Hz, total 600W (peak 1200W) max. |
|
DC Output (496W) | 2 * USB-C PD 100Wmax (5V DC/3A, 9V DC/3A, 15V DC/ 3A, 20V DC/5A), total 200W max. |
| 2 * USB-A QC 3.0 28Wmax (5V DC/3A, 9V DC/3A, 12V DC/2.4A), total 56W max. | |
| 2 * DC 12V 5A 60W, total 120W max. | |
| 1 * Car Port 12V 10A 120W max. | |
| Discharging Temperature | -68~113°F / -20 ~45°C |
| Charging Temperature | 32~104°F / 0 ~40°C |
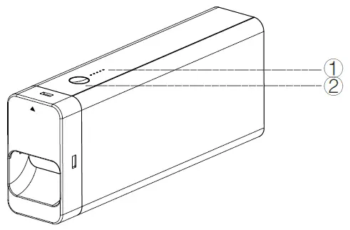
AC ENGINE 80 (AE80)

- AC OUTLET
Supports appliances with rated power of 80W or less. It does not support all appliances with rated power over 80W. Please confirm to make sure the appliances are workable before use to avoid negative impact. - WORKING STATUS INDICATOR
White indicator: normal; output 110V.
Red indicator: abnormal; fail to output 110V.
AE80 SPECIFICATION
| Model | AE80 |
| Net Weight | 0.72 lbs. / 0.33 kg approx. |
| Dimension | 4.3 * 2.3 * 4.1 in / 11 * 5.7 * 10.3 cm |
| Output | Pure Sine Wave 110V AC (60Hz), 80W (peak 160W) |
| Discharging Temperature | -68~113°F / -20 ~45°C |
USB ENGINE 256 (UE256)

- USB -C PD 100W INPUT /OUTPUT
Input: USB-C support 100W input.
Output: USB-C can charge devices including laptops, tablets, smart phones, and any other devices with USB-C ports. - USB -A FAST CHARGE OUTPUT 28W * 2
USB-A can charge devices including smart phones, tablets, speakers, and any other devices with USB-A ports. - USB -C PD 100W OUTPUT
Output: USB-C can charge devices including laptops, smart phones, tablets, and any other devices with a USB-C port.
UE256 SPECIFICATION
| Model | UE256 |
| Net Weight | 0.49 lbs. / 0.22 kg approx. |
| Dimension | 2.4 * 2.3 * 4.1 in / 6 * 5.7 * 10.3 cm |
| Input | 1 * USB-C PD 100Wmax (5V DC/3A, 9V DC 3A, 15V DC/3A, 20V DC/5A) |
|
Output (total 256W) | 2 * USB-C PD 100Wmax(5V DC/3A, 9V DC3A, 15V DC/3A, 20V DC/5A), total 200W max. |
| 2 * USB-A QC3.0 28W max (5V DC/3A, 9V DC/3A, 12V DC/2.4A), total 56W max. | |
| Operating Temperature | -68~95°F / -20 ~35°C |
ENERGY BAR 324 (EB324)

- POWER INDICATOR: Each indicator represents 20% power. With all 5 indicators on, it means there is 80%-100% power. With 5 indicators flashing every 1 s, it means the ENERGY BAR324 is abnormal.
- ON/OFF SWITCH: press and hold the button for 1 s to power on; Press and hold the button for 3 s to power off.
EB324 SPECIFICATION
| Model | EB324 |
| Net Weight | 3.9 lbs. / 1.77 kg approx. |
| Dimension | 10.2 * 2.3 * 4.1 in / 26 * 5.7 * 10.3 cm |
| Capacity | 324Wh |
| Battery | Li-ion NMC |
| Discharging Temperature | -68 -113°F / -20 – 45°C |
| Charging Temperature | 32 – 104°F / 0 – 40°C |
| Cycle Life | 1000 times (80%) |
ACCESSORIES
- ADAPTER

Notice: output 24V, 180W. - CAR CHARGER
Notice: only matched 12V 10A 120W max. - DC Y CABLE
Notice: with DC 6530 port. - SOLAR CHAGRING CABLE(MC4-DC 6530)

- SOLAR PANEL
Notice: highly recommended RUNHOOD’s Seri 100W with 15V-23V.
DIY COMBINATIONS
648Wh 600W (HE600 * 1 + EB324 * 2)
INR22/71[(3P6S) 2P] E /-20+45/80
This is a power station of 648Wh, 600W. It is highly portable with a weight of only 16 lbs. The design of swappable battery provides virtually unlimited durability. With an extra pair of EB324s, it can easily reach the capacity of 1296Wh.
324Wh 80W (AE80 + EB324)
MINI POWER STATION of 324Wh to provide an AC output of 80W.
324Wh 256W (UE256 + EB324)
SUPERPOWER BANK of a capacity of 324Wh with 2 USB-C PD 100W outputs and 2 USB-A QC 28W outputs has a maximum total power output of 256W.
RECHARGE METHODS
IMPORTANT NOTICE: The rechargeable module is EB324. Other modules are only application interfaces, not a storage of energy. There are two ways to recharge the EB324: one with HE600 and the other with UE256. You need to combine the EB324 with HE600 or UE256 for recharging the EB324. We highly recommend to recharge your EB324 in pairs.

- Insert two EB324s into HE600.
- Connect the Adapter/Car Charger/Solar Panel to the DC input on HE600.
- FAST RECHARGE: USB-C PD 100W input can work simultaneously with DC input to recharge the EB324 faster. When recharging with adaptor and USB-C simonteniously, please do not charge any other appliances at the same time.
- When charging, DO NOT remove the EB324 from HE600.
- The AC and DC output can work normally when only using one input for recharging. DO NOT using any AC or DC output when FAST RECHARGING.
INSTRUCTIONS OF RECHARGING EB324 WITH UE256
- Connect EB324 with UE256.
- Connect the recharge cable to the USB-C PD 100W IN/OUT port to recharge.
- When charging, DO NOT remove the EB324 from UE256
- The USB-C recharge cable and adapter are not included in our product range. Users can purchase the cable and adapter at their own preference from the market.
INSTRUCTIONS OF MULTY SOLAR PANEL CONNECTION

- The DC input of HE600 can reach 200W max. You can use a maximum of two RUNHOOD Solar Panels to recharge.
- Use the DC Y cable to connect two solar panels in a parallel connection.
- To recharge with HE600 and UE256, please refer to the recharge methods instruction above.
| The symbol indicates class II equipment |
| Indicates that the product needs to be far away from fire |
| Indicates that the product needs to be far away from water |
Indicates that the product must be brought to an electric and electronic waste collection point for recycling and disposal.![]() |












Notice: only matched 12V 10A 120W max.
Notice: with DC 6530 port.
Notice: highly recommended RUNHOOD’s Seri 100W with 15V-23V.


















