LiGHTPRO 209S Tiga DL Wall Light

The system

Thank you for purchasing the Lightpro Tiga DL.
This document contains the required information for correct, efficient and safe use of the product. Consult the general manual of the Lightpro 12-volt system and the user manual of your transformer for more information about the set up and connection of your light plan.
Read the information in this manual carefully before using the product. Keep this manual near the product for consultation in the future.
PRODUCT DESCRIPTION
The Lightpro Tiga DL is a standing LED lamp for outdoor use. The fixture can be mounted on a solid surface
or placed in the ground with the supplied spikes.
This product may only be used as outdoor lighting in combination with the Lightpro 12-volt system. Any alterations made to the product may have consequences for the safety, guarantee and correct functioning of the product and/or other parts of the system.
SPECIFICATIONS
- Product Tiga DL
- Article number 209S
- Light source LED 5W AC/DC 12V
- Power 5W
- Luminous flux 75 lm
- Beam angle 90º
- Light colour 3.000K
- Average lifetime 25.000
- Dimensions (D x W x H) 88 x 68 x 63 mm
- Protection class IP67
- Ambient temperature -20 °C to 50 °C
- Cable length 1,5m
- Dimmable Yes
- Replaceable N0
PACKAGING CONTENT
[Figure A]
Fixture Tiga DL- Ground spike
- Screw
- Plug
- Fixing clip
- Hex key
- Screw for mounting clip
- Lightpro connector
Check if all parts are present in the packaging. For questions about parts, service, and any complaints or other remarks, you can always contact us.
E-mail: [email protected].
INSTALLATION
Option 1: Mounting to the wall.
[Figure B]
Remove the screw [7] from the ground spike (2) using the Allen key (6).- Mount the retaining clip (5) to the wall using the screw (3) (see image B).
Note: The clamping part of the clip should face upwards.
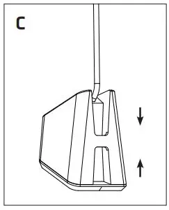
[Figure C]
- The Tiga DL (1) can now be installed, as desired, as an Uplight or Downlight by sliding it over the retaining clip in the correct way.
Option 2: Positioning in the ground.
[Figure D]
Attach the retaining clip (5) to the ground spike (2) using the screw (7). Use the Allen key (6)- Slide the ground spike with the mounted retaining clip (2) to the Tiga DL (1).
- Push the fixture into the ground.
DIM FUNCTION
[Figure E]

Press the button to set the desired light output (6 possibilities).
Dimmable: Yes, in 6 steps with built-in dimmer
INSTALLATION OF THE LIGHTS
- Install the products in the desired position and lay the cables so they can be comfortably connected to the transformer or main cable.
- If products are provided with a drain hole for water, this hole must be pointing downwards.
- Use non-corrosive fixing materials (supplied as standard) if you want to bolt the products down.
- Connect the lights to the main cable by using the connector as shown in figure on page 5.
- Consult the manual of your transformer for more information.
SAFETY
- Always fit this product so that it can still be accessed for servicing or maintenance. This product must not be permanently embedded or bricked in.
- Turn off the system by pulling the plug of the transformer from the socket for maintenance.
- Regularly clean the product with a soft, clean cloth. Avoid abrasives that can damage the surface.
- Clean products with stainless steel parts with a stainless steel cleaning agent once per six months.
- Do not use a high pressure washer or aggressive chemical cleaning agents when cleaning the product. This can cause irreparable damage.
- Protection class III: this product may only be connected to safety extra-low voltage up to a maximum of 12 Volt.
- This product is suitable for outside temperatures of: 20 to 50 °C.
- Do not use this product in areas where combustible gases, fumes or liquids may be stored.
The product meets the requirements of the applicable EC, UK and EAEU guidelines.
For questions about parts, service, any complaints or other matters, you can contact us at any time.
E-mail: [email protected]
Discarded electrical equipment must not be put in the household waste. If possible, take it to a recycling company. For details of recycling, contact a municipal waste processing company or your dealer.
5 year warranty – visit our website at lightpro.nl for warranty conditions.

TECHMAR B.V. | CHOPINSTRAAT 10 | 7557 EH HENGELO | THE NETHERLANDS | WWW.LIGHTPRO.NL
UK Authorised Representative (for authorities only) ProductIP (UK) Ltd.
8, Northumberland Av. London WC2N 5BY

Fixture Tiga DL
Remove the screw [7] from the ground spike (2) using the Allen key (6).
Attach the retaining clip (5) to the ground spike (2) using the screw (7). Use the Allen key (6)















