
Charger
Model BQ-CC55E
BQ-CC55U
Operating Instructions
Parts location


Please read these instructions and warnings before using this product, and save this manual for future use. In addition, be sure to read the warnings on the batteries.
CAUTION
To avoid personal injury and property damage please follow the below instructions:
- Pa Panasonic Ni-MH rechargeable batteries are recommended to be used in this charger.
- Do not use non-rechargeable batteries in this charger.
- Do not open or disassemble the charger.
- Do not allow the charger to get wet or expose the charger to water or other liquids.
- Only use the charger indoors and in a dry location.
- Do not use the charger if the plug or batteries are damaged.
- Do not use or expose the charger to direct sunlight.
- This appliance can be used by children aged 8 years and above and persons with reduced physical, sensory or mental capabilities or lack of experience and knowledge if they have been given supervision or instruction concerning the use of the appliance in a safe way and understa nd the hazards involved.
- Children shall not play with the appliance.
- Cleaning and user maintenance shall not be made by children without supervision.
OPERATING INSTRUCTIONS
You ca n charge a single AA or AM battery or up to four at one time.(fig 3)
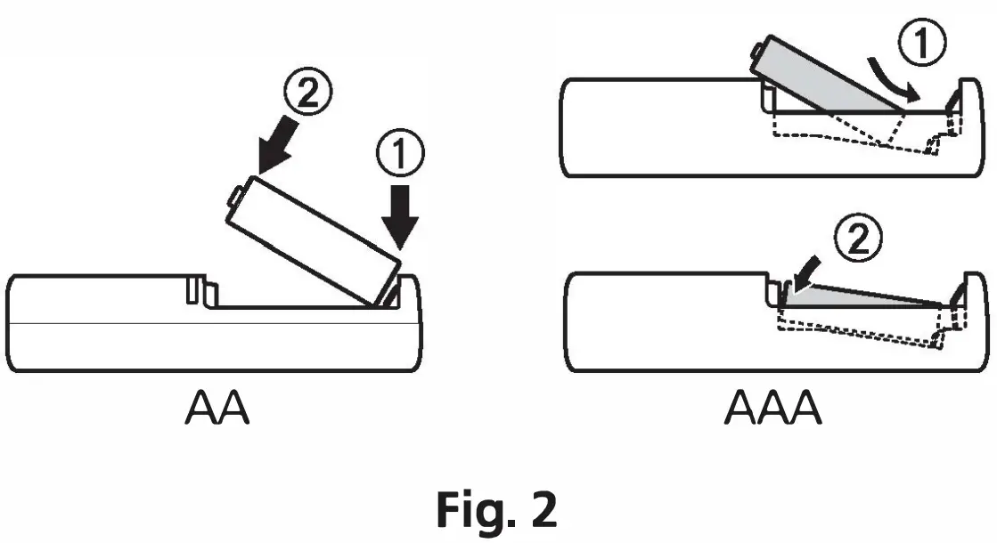
- Observe the correct polarity by matching the positive (+) and negative (-) on the batteries to the positive(+) and negative (-) on the charger. Insert the batteries from the negative -) end first (fig 2)
- Plug the charger into a stan ard 100-240V AC outlet
* The LEDs light green from left to right for about 3 seconds before charging starts. Diagnosis of the status of the batteries is being performed durin9 this time. - The charger will indicate that charging is conducted through the indic.ator lights being lit.
1. The LEDs li_ght according to the current remaining charge of the batteries, and charging starts.
2. The LEDs will change as follows according to the charging progress.LED status Remaining charge/battery status Charging Lit red 20% or less Lit yellow 20% to 80% Lit green 80% or more Charging complete Off 100% Blinking yellow Battery replacement recommended Error Blinking red Invalid batteries (i.e., non-rechargeable) inserted * There, meaning charge 1nd1cat1on should only be used as a rough estimate. Charging duration will vary depending on the state of the batteries and the charging environment. Therefore, be sure to charge the batteries until the LEDs turn off.
If the indicator does not light or blinks:
a) Make sure that the batteries are inserted correctly and that proper contact is made with each terminal
b) Check that the power plug is correctly inserted
c) Check that the batteries are not damaged and are rechargeable - Charging is complete when the LED turns off after lighting green.Disconnect the charger from the AC outlet, and remove the charged batteries.
MAINTENANCE, CARE, AND CLEANING
- Unplug the charger from the AC outlet.
- Clean with a dry cloth to remove dirt and grime.
Table 1
| Battery Size ‘ | Capacity | Chargingtime | |
| 1-2pcs | 3-4 pcs | ||
| AA | 2400 – 2550 mAh | 2 hours | 4hours |
| 1900 – 2000 mAh | 1.5 hours | 3 hours | |
| 950 -1000 mAh | 0.75 hours | 1.5hours | |
| AAA | 900 – 950 mAh | 2 hours | 4 hours |
| 750 – 800 mAh | 1.5 hours | 3 hours | |
| 550 – 650 mAh | 1.25 hours | 2.5 hours | |
SPECIFICATIONS
| Model | : BQ-CC55E / BQ-CC55U |
| Input | : AC 700-240 V / 50-60 Hz 0-3 A |
| Output | :AA: 1.5Vx4 AAA: 1.5 V x4 |
| Operating temperature | : 0-35°C (Indoor use only) |
Warranty: The warranty for this products starts from the day of purchase.
In the case of a justified complaint, PECE will repair or replace the faulty product with an equivalent charger.The warranty is for the charger and only relates to defects in materials and workmanship. Details can be obtained at Panasonic Energy Europe N.V. or at www.panasonic-batteries.com
This symbol indicates a separate collection of waste electrical and electronic equipment More detailed information is contained in “Operating Instructions for advanced features (PDF format)”.
This symbol indicates a separate collection of waste batteries. More detailed information is contained in “Operating Instructions for advanced features (PDF format)”.
Distributed by
Panasonic Energy Europe N.V. (PECE)
Brusselsesteenweg 502
1731 Zellik, Belgium
Panasonic Testing Centre
Panasonic Service Europe, a division of
Panasonic Marketing Europe GmbH
Winsbergring 15, 22525 Hamburg, F.R. Germany
BBQ6CA288BYA
L0316SR6031



















