KETTLER 0193324-2100, 3310, 5510 Palma Fire Pit Table Instruction Manual
Important Safety Information
Danger
If you smell gas:
- Shut off gas to the appliance.
- Extinguish any open flame.
- If odour continues, contact your gas canister supplier immediately. If there is a fire, contact the emergency services.
Warning
Improper installation, adjustment alteration, service or maintenance can cause injury or property damage. Read the installation, operating and maintenance instructions thoroughly before installing or servicing this equipment. If the information in this manual is not followed exactly, a fire or explosion may result causing property damage, personal injury or loss of life.
Warning
Do not store or use gasoline or other flammable vapors and liquids in the vicinity of this or any other appliance. A liquid propane cylinder not connected for use should not be stored in the vicinity of this or any other appliance.
Warning
For Outdoor Use Only
FOR USE WITH 11LB (5KG) PROPANE CYLINDER WITH TYPE 1 CONNECTION OR FOR USE WITH NATURAL GAS AFTER CONVERSION KIT (NOT INCLUDED) ISINSTALLED (MUST BE PROFESSIONALLY INSTALLED) ALSO THE LIQUID PROPANE REGULATOR MUST BE SUPPLIED BY THE MANUFACTURER.
Warning
CARBON MONOXIDE HAZARD
This appliance can produce carbon monoxide which has no odour. Using it in an enclosed space can kill you. Never use this appliance in an enclosed space such as a camper, tent, car or home.
Before you assemble or operate this unit, please carefully read this entire manual. Failure to do to may result in a fire, explosion, injury or death.
- THIS UNIT IS INTENDED FOR OUTDOOR USE ONLY! This product shall be used outdoors, in a ventilated space and shall not be used in any enclosed area.
- This unit is to be used with propane gas only! (sold separately)
- Do not attach a remote gas supply to this unit.
- Only use propane gas for this unit.
- Do not use any solid fuel or charcoal for this unit.
- When igniting this unit, stay away from the burner as the flame will light up and may cause injury.
- LP GAS WARNING: Do not use any more than 1/4 in depth lava rocks/pumice stones/ LavaGlass® above the burner holes. Doing so will suffocate the flame.
- If the propane gas tank is leaking gas, you may hear, see, or smell a hiss. Do the following: 1. Disconnect the propane gas tank. 2. Do not attempt to fix the problem yourself. 3. Contact your gas supplier or fire department for help.
- Applying too much propane may result in gas pooling and will not burn. Allow fresh air into the unit so that the remaining gas may escape.
- Do not use a flame to check for gas leaks.
- The max. inlet supply pressure: max. Gas supply 11 in w.c. (2.74kPa)
- Use LP propane tanks with the following dimensions: diameter 12 in, height 18 in capacity 20 lbs.
- You must use a propane tank that has a collar to protect the gas valve.
- DO NOT fill tank over 80 percent full.
- The tank system must be set up for vapor withdrawal.
- Discontinue use if any part of the propane tank is damaged. Rust and dents may be hazardous and should be inspected by a gas supplier.
- Do not burn anything other than the provided materials for this fire table.
- Keep away from the unit for the first 20 minutes after igniting your unit for the first time, as lava rocks/pumice stones/LavaGlass® could pop out and cause injury. Should any rocks pop out, discard them.
- Always ensure that lava rocks/pumice stones/LavaGlass® are completely dry before use. Failure to do so will cause them to crack or pop.
- Do not operate unit until all parts are fully assembled.
- Do not paint or color any part of this heating unit.
- Unit may be hot while in use, do not attempt to move it while in use.
- Never leave this heating unit unattended while in use.
- This unit is not intended for cooking.
- Keep any flammable items away and do not use any other fireplace cover for this unit.
- Keep a safe distance to avoid burning skin or clothing.
- Do not sit or rest hands or feet on this heating unit.
- Never place hands or fingers on upper portion of this unit while in use.
- Keep all electrical cords and fuel supply hose away from heated surfaces.
- Combustible material should not be within 72 inches of the top of the unit, or within 48 inches around the entire unit.
- Keep the appliance area clear and free from combustible material, gasoline and other flammable vapors and liquids.
- If the flame goes out while burning, turn the gas valve off. Wait 5 minutes before repeating the initial lighting procedure. Once you have a flame started, hold down the control knob for one minute.
- Do not add water into the unit.
- Do not operate unit if any part has been under water. Immediately call a qualified service techni¬cian to inspect the appliance and replace any part of the control system and any gas control that has been under water.
- Do not disconnect any part while unit is in use.
- Do not store a spare propane tank on or near this unit.
- If the heating unit is indoors, detach the propane tank and leave outdoors.
- Do not operate on a boat or vehicle. This unit must be used on a flat surface and outdoors ONLY.
- Always remove protective cover before operating (if applicable).
- Do not set the protective cover over the unit until it is turned off and completely cooled down.
- Check for leaks after not using the unit for long periods of time.
- Children should never operate this unit. Children must be supervised while near this unit.
- Keep gas tank at least 5 feet away from unit when lit. (if external tank)
- The maximum gas supply pressure is 250psi.
- All installation and repairs should be done by a qualified professional. This unit should be inspected annually and cleaned regularly.
- Inspect all elements of this heating unit before each use. If there is damage, the burner must be replaced.
- Keep the hose out from any pathways to eliminate any accidental damage. (if external tank)
- Be aware of the hazards of high temperatures and stay away from the unit to avoid any burns or injury.
- The gas supply tank should be constructed and marked with the specifications for usage in the UK .
- This heating appliance should not be used on plastic or artificial wood decks.
- Children and adults should be alerted to the hazards of high surface temperatures and should stay away to avoid burns or clothing ignition.
- Young children should be carefully supervised when they are in the area of the appliance.
- Clothing or other flammable materials should not be hung from the appliance or placed on or near the appliance.
- Any guard or other protective device removed for servicing the appliance shall be replaced prior to operating the appliance.
- Installation and repair should be done by a qualified service person. The appliance should be inspected before use and at least annually by a qualified service person. More frequent cleaning may be required as necessary. It is imperative that the control compartment, burners and circulating airways of the appliance are kept clean.
IF APPLICABLE:
- Allow heating item to cool completely before placing on lid.
- DO NOT use heating item while lid is installed. Always remove the lid while heating item is in use.
Minimum clearance
Combustible materials should not be within 72 inches of the top of the unit, or within 48 inches around the entire unit.
Parts List
You should have 2 fixing bags containing the following:
Do not discard any of the packaging until you have checked that you have all the parts and the pack of fixings.
Helpful advice before you begin:
- We suggest you spend a short time reading through this leaflet and then follow the simple step by step instructions.
- Do not discard any of the packaging until you have checked that you have all the parts and the pack of fittings.
- Assemble this product on a soft surface.
- To ensure an easier assembly, we strongly advise that all fittings are only finger tightened during initial assembly. Only upon completion of the assembly should all fixing points be fully tightened.
- We recommend a periodic check on all fixing points to make sure they remain fully tightened.
- Keep fittings out of children’s reach.
- You will require a Phillips head screwdriver in addition to the tools provided. Do not use any other tools other than those recommended to build this product.
- Please do not use substitute parts. Use only additional or replacement parts supplied by Kettler.
- In the unlikely event that this product has missing or damaged parts, please visit our website www.kettler.co.uk/shop.

| Item | Description | Qty |
| A | Burner Lid | 1 |
| B | Table Top | 1 |
| C | Side Panel | 1 |
| D | End Panel | 1 |
| E | Door Panel | 1 |
| F | Metal Stand | 1 |
| G | Control Side Panel | 1 |
| H | Metal Stand | 1 |
| I | Guard (Pre-assembled) | 1 |
| J | Burner (Pre-assembled) | 1 |
| Item | Description | Qty |
| K | Fire Bowl (Pre-assembled) | 1 |
| L | Electronic Ignitor (Pre-assembled) | 1 |
| M | Control Knob (Pre- assembled) | 1 |
| N | Lava Rocks | 1 Box |
| O | Battery (AA) | 1 |
| P | Glass Fixing Brackets | 8 |
| Q | Side Glass | 2 |
| R | End Glass | 2 |
| S | Securing Straps for Gas Cylinders | 1 |
Assembly
- Check that the control knob (M) for the gas supply system is turned to the OFF position before starting any assembly.

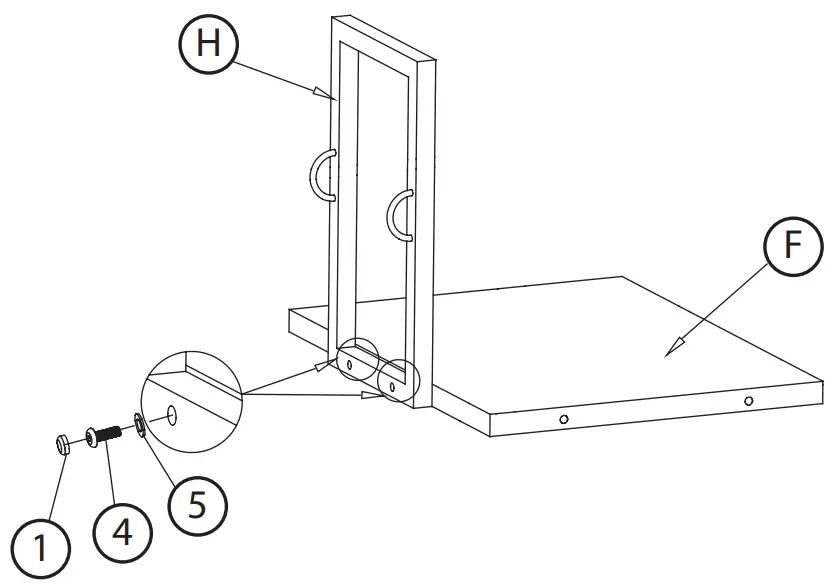
- Attach the side panel (C) and door panel (E) to the table top (B) ,using eight M6x20 screws (2), eight washers (5), eight screw caps (1).

- Attach the right end panel (D) to the side panel (C) and door panel (E), using four M6x35 screws (4), four washers (5), four screw caps (1).

- Attach the control side panel (G) to the side panel (C) and door panel (E), using eight M6x35 screws (4), eight washers (5), eight screw caps (1).

- Attach the metal stand (F) to the metal stand (H), using two M6x35 screws (4), two washers (5), two screw caps (1)

- Attach the metal stand (F) to the side panel (C) and door panel (E), using four M6x30 screws (3), four washers (5), four screw caps (1).

- Assemble the Glass Screen
Attach the glass (R) and glass (Q) to the eight fixture parts (P), using sixteen screw (6). Do not over tighten.
Please note that the assembly position of glass must be the same as the diagram (below right).
- Connect the gas hose and regulator then after that connect the regulator to the gas cylinder.
WARNING!
Ensure the hose does not contact any high temperature surfaces as it may melt and leak causing fire.
After the cylinder is placed inside the heater, secure the cylinder with the securing straps (S).
- Turn the cylinder valve on the tank clockwise to close the propane tank. Attach the preassembled regulator from the table top (B) to the cylinder valve by turning the regulator coupling nut clockwise. Make sure it is fastened securely and tighten connections by hand only.

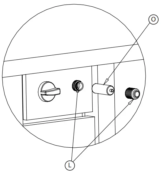
- Unscrew the rubber cap on the electronic igniter (L) by unscrewing and slide battery (N) into the battery slot. Make sure the positive side of the battery faces outwards. Screw the electronic igniter cap (L) over the battery tightly.

- Hand place the lava rock (N) into the firebowl (K) to avoid blocking the gas outlets with dust
Caution
To ensure proper function, the guard (I) on this burner (J) should be free of lava rock at all times.
Operation
Before performing a leak test, be sure that no sparks can occur and you are in a spacious outdoor area. Connect the propane gas tank to the regulator and turn the valve on the unit to the “off” position. Brush a soap and water mixture on all connections. Turn the gas supply on; if bubbles occur on any connection there may be a leak. If you smell gas or a leak is discovered turn the gas valve off, disconnect propane gas tank and do not use the appliance until the leak is repaired.
Do not use the heating unit without inspecting the gas hose. If there are signs of wear or abrasion you must replace the hose (if applicable). Pumice stones/lava rocks/Lava Glass® could pop up and strike somebody’s face during the process of lighting this unit; stand away from the unit for the first 20 minutes after igniting. Flame height should be a yellow/blue color between 2-10 inches in height.
Wait 5 minutes after extinguishing flame prior to placing the lid (if applicable) or protective cover on heating item.
To Light
- Make sure the control knob (K) is in the “OFF” position.
- Open the door (E) and slowly open the valve on the propane gas tank by turning the knob counterclockwise.
- Close the door (E) on the body.
- Push and hold in the electronic igniter (L) to create sparks within the electrode, continue to hold.
- Push in the control knob (K) and turn to the “LOW “ position. Keep holding down the control knob (K) to allow gas to fow for 45 seconds.
- If ignition doesn’t occur within a few seconds release the control knob (K) and rotate to the “OFF” position. Wait for 5 minutes for gas to clear and then repeat the above lighting instructions.
- Once the fre product is lit, the fame intensity may be controlled by turning the control knob (K) between the “LOW and “HIGH” positions.
To Extinguish
- Turn control knob (K) clockwise to the “LOW “ position; let the knob pop up and continue turning the control knob (K) to the “OFF” position.
- Close the cylinder valve on the propane gas tank if you don’t intend to use it for a long time.
Troubleshooting
| Problem | Cause | Solution |
| Heating unit won’t light | Igniter pin and burner are wet | Dry off with a soft cloth |
| Igniter battery is incorrectly inserted | Check which direction the battery is inserted | |
| Igniter pin is broken | Contact Kettler for a replacement part | |
| Electrode wire is loose or disconnected | Reconnect wire to the igniter box located inside the table behind the igniter box | |
| Electrode wire is shorting between valve and igniter pin | Contact Kettler for a replacement part | |
| Burner won’t light while using a match | No gas flow | Check that the gas tank isn’t empty |
| Regulator isn’t connected securely to the tank | Tighten regulator connection to the gas tank | |
| Gas flow is obstructed | Check all hoses for kinks and bends | |
| Burner ports are clogged | Turn all gas flow connections off. Insert an opened paper clip (or similar item) into each of the burner ports to clear them out. | |
| Heating unit emits a lot of black smoke | Flame is obstructed at burner ports | Check that all burner ports are free of any small lava rocks/pumice stones/ LavaGlass’ pieces |
| Regulator hose is kinked | Straighten hose of all bends or kinks | |
| Sudden drop in gas flow | No gas flow | Check that the gas tank isn’t empty |
| Excess flow safety valve has been activated | Turn the control knob to the ‘off’ position. Close the tank valve and disconnect propane gas tank. Turn the control knob to’high’; wait 1 minute. Turn the control knob back to the ‘off’ position. Reconnect propane gas tank. Light the fire unit as indicated in the’To Light’ section of this manual. | |
| Flame blows out easily | High or gusting winds | Increase flame to’high’ |
| No gas flow | Check that the gas tank isn’t empty | |
| Excess flow safety valve has been activated | See ‘sudden drop in gas flow’ above |
Maintenance and Care Instructions
Attention
Please be aware that painted/varnished surfaces can be damaged by sunscreens and oil based products. If the surface of your Kettler leisure furniture comes into contact with sunscreens, the surface is to be cleaned without delay as described above. Only in this way can lasting discolouration of the surface by the ingredients of the sunscreen be prevented.
- Before performing any maintenance always disconnect propane gas tank.
- Keep the heating item free and clear from combustible materials.
- Visually inspect burner for obstructions and keep tank enclosure free and clear from debris.
- Use a soft brush to get rid of the mild stains, loose dirt and soil after the burner and pumice stones/ lava rocks/LavaGlass® are completely cooled down. Wipe down with a soft cloth.
- Harsh weather conditions may cause stubborn stains, discoloration and possibly rust pitting.
- Permanent damage may occur if powder or solvent comes in contact with painted or plastic components on this heating unit.
- Keep the heating unit stored away from direct sunlight.
- If storing this unit inside, disconnect the propane gas tank from the gas valve.
- Not using manufacturer approved or supplied parts/accessories may result in a defective condition and void the warranty of this heating unit.
- Always place lid (if applicable) or protective cover on heating item when not in use.
- This product may only be used for its intended purpose for residential premises. Any other uses may affect the warranty.
- Kettler furniture is designed to be left outdoors all year round (excluding cushions). Cushions should be stored in a dry ambient temperature when not in use. Failure to comply with the outlined care instructions for the cushions will result in the warranty being invalidated.
- Kettler cushions are not suitable for dry cleaning and are not machine washable. Sponge clean only. We recommend the use of the Kettler fabric care kit to clean and protect your cushions. This is available to purchase form the Kettler website.
- We recommend you clean your Kettler furniture at the beginning and end of the season. To clean your Kettler furniture, use warm soapy water only. Never use abrasive chemicals or cleaning agents. To lengthen the life of your product we recommend the wicker cleaner and protector from our after-care range available to purchase from our website. Tree sap and bird droppings should be cleaned off immediately.
- Moving parts such as locking mechanisms, catches and joints need to be lubricated where necessary.
- Kettler furniture can be covered – we recommend that you use Kettler tailored covers (where available) or universal breathable covers.
- This product is 100% recyclable. At the end of the products life, please dispose of responsibly.
- Colours may vary slightly.
For Your Safety
- This product may only be used for its intended purpose as furniture for residential properties.
- Check all components regularly for correct function, damage and loose connections especially at the start of the season and at 1-2 month intervals dependent on use.
- Damaged components may endanger your safety or shorten the life of the product. Replace all damaged parts immediately. Use only spare parts manufactured by Kettler. Should you wish to purchase spare parts, they can be ordered directly from: www.kettler.co.uk/shop
- Kettler will not be responsible for damaged caused by improper use.
Attention
- Whilst assembling this product keep out of the reach of children. (Choking hazard – contains small parts)
- Ensure that your working area is free of possible sources of danger, for example don’t leave any tools lying around.
- Always dispose of packaging material in such a way that it may not cause any danger. There is always a risk of suffocation if children play with plastic bags!
- We reserve the right to make changes for technical reasons.
Warranty For Home Use
This product is covered by a 3 year warranty against manufacturing faults.This warranty applies to domestic use only. It does not cover commercial use, misuse or accidental damage.
To validate your warranty, register at www.kettler.co.uk and quote the product code from the front of this booklet.
The symbol indicates that the product should not be discarded as unsorted waste but must be sent to separate collection facilities for recovery and recycling.



























