makita DFT086F Cordless Screwdriver

Product Information
The DFT086F and DFT128F models are cordless screwdrivers designed for screw driving in wood, metal, and plastic. They have a fastening torque for hard joints and a no-load speed for soft joints. The dimensions of the tool with BL1415N battery are 190 mm x 72 mm x 237 mm, while with BL1430B battery are 190 mm x 72 mm x 254 mm. The rated voltage of the tool is D.C. 14.4 V, and the net weight is between 1.3 – 1.6 kg. The applicable USB cable is 661432-2. The tool is compatible with BL1415N / BL1415NA / BL1430B/ BL1440 / BL1460A / BL1460B battery cartridges and DC18RC / DC18RD / DC18RE / DC18SD / DC18SE / DC18SF / DC18SH chargers. The tool has a typical A-weighted noise level of 70 dB(A) or less, determined according to EN62841-2-2 standards. The declared noise emission value(s) may be used for comparing one tool with another and in a preliminary assessment of exposure. However, the noise level under working may exceed 80 dB(A), and the noise emission during actual use of the power tool can differ from the declared value(s) depending on the ways in which the tool is used, especially what kind of workpiece is processed. Hence, it is recommended to wear ear protection and identify safety measures to protect the operator based on an estimation of exposure in the actual conditions of use. The vibration total value (tri-axial vector sum) of the tool is determined according to EN62841-2-2 standards. The vibration emission (ah) is 2.5 m/s2 or less, and the uncertainty (K) is 1.5 m/s2 for both DFT086F and DFT128F models in screwdriving without impact work mode. The declared vibration total value(s) may be used for comparing one tool with another and in a preliminary assessment of exposure. However, the vibration emission during actual use of the power tool can differ from the declared value(s) depending on the ways in which the tool is used, especially what kind of workpiece is processed. Hence, it is recommended to identify safety measures to protect the operator based on an estimation of exposure in the actual conditions of use.
Product Usage Instructions
The DFT086F and DFT128F models are cordless screwdrivers that can be used for screw driving in wood, metal, and plastic. To use the tool, follow these steps
- Insert a compatible battery cartridge into the tool.
- Charge the battery using a compatible charger.
- Select the appropriate fastening torque and no-load speed for the workpiece and joint type using the control buttons on the tool.
- Position the screwdriver bit onto the screw head.
- Press and hold the trigger to drive the screw into the workpiece.
- Release the trigger once the screw is fully driven in.
- Repeat steps 4-6 for each screw.
It is recommended to wear ear protection and identify safety measures to protect the operator based on an estimation of exposure in the actual conditions of use. Only use the battery cartridges and chargers listed in the user manual as using any other battery cartridges and chargers may cause injury and/or fire.
SPECIFICATIONS
| Model: | DFT086F | DFT128F | |
| Fastening torque | Hard joint | 3 – 8 N•m | 5 – 12 N•m |
| Soft joint | 3 – 8 N•m | 5 – 12 N•m | |
| No load speed | 180 – 1,050 min-1 | 120 – 700 min-1 | |
| Dimensions (L x W x H) | with BL1415N battery | 190 mm x 72 mm x 237 mm | |
| with BL1430B battery | 190 mm x 72 mm x 254 mm | ||
| Rated voltage | D.C. 14.4 V | ||
| Net weight | 1.3 – 1.6 kg | ||
| Applicable USB cable | 661432-2 | ||
- Due to our continuing program of research and development, the specifications herein are subject to change without notice.
- Specifications may differ from country to country.
- The weight may differ depending on the attachment(s), including the battery cartridge. The lightest and heaviest combination, according to EPTA-Procedure 01/2014, are shown in the table.
Applicable battery cartridge and charger
| Battery cartridge | BL1415N / BL1415NA / BL1430B / BL1440 / BL1460A / BL1460B |
| Charger | DC18RC / DC18RD / DC18RE / DC18SD / DC18SE / DC18SF / DC18SH |
- Some of the battery cartridges and chargers listed above may not be available depending on your region of residence
WARNING: Only use the battery cartridges and chargers listed above. Use of any other battery cartridges and chargers may cause injury and/or fire.
Intended use
The tool is intended for screw driving in wood, metal and plastic.
Noise
The typical A-weighted noise level determined according to EN62841-2-2:
- Model DFT086F
- Sound pressure level (LpA) : 70 dB(A) or less
- Uncertainty (K) : 3 dB(A)
- Model DFT128F
- Sound pressure level (LpA) : 70 dB(A) or less
- Uncertainty (K) : 3 dB(A)
The noise level under working may exceed 80 dB (A).
- NOTE: The declared noise emission value(s) has been measured in accordance with a standard test method and may be used for comparing one tool with another.
- NOTE: The declared noise emission value(s) may also be used in a preliminary assessment of exposure.
- WARNING: Wear ear protection.
- WARNING: The noise emission during actual use of the power tool can differ from the declared value(s) depending on the ways in which the tool is used especially what kind of workpiece is processed.
- WARNING: Be sure to identify safety measures to protect the operator that are based on an estimation of exposure in the actual conditions of use (taking account of all parts of the operating cycle such as the times when the tool is switched off and when it is running idle in addition to the trigger time).
Vibration
The vibration total value (tri-axial vector sum) determined according to EN62841-2-2:
- Model DFT086F
- Work mode: screwdriving without impact
- Vibration emission (ah) : 2.5 m/s2 or less
- Uncertainty (K) : 1.5 m/s2
- Model DFT128F
- Work mode: screwdriving without impact
- Vibration emission (ah) : 2.5 m/s2 or less
- Uncertainty (K) : 1.5 m/s2
- NOTE: The declared vibration total value(s) has been measured in accordance with a standard test method and may be used for comparing one tool with another.
- NOTE: The declared vibration total value(s) may also be used in a preliminary assessment of exposure.
- WARNING: The vibration emission during actual use of the power tool can differ from the declared value(s) depending on the ways in which the tool is used especially what kind of workpiece is processed.
- WARNING: Be sure to identify safety measures to protect the operator that are based on an estimation of exposure in the actual conditions of use (taking account of all parts of the operating cycle such as the times when the tool is switched off and when it is running idle in addition to the trigger time).
EC Declaration of Conformity
For European countries only. The EC declaration of conformity is included as Annex A to this instruction manual.
SAFETY WARNINGS
General power tool safety warnings
- WARNING: Read all safety warnings, instructions, illustrations and specifications provided with this power tool. Failure to follow all instructions listed below may result in electric shock, fire and/or serious injury.
Save all warnings and instructions for future reference.
The term “power tool” in the warnings refers to your mains-operated (corded) power tool or battery-operated (cordless) power tool.
Cordless screwdriver safety warnings
- Hold the power tool by insulated gripping surfaces, when performing an operation where the fastener may contact hidden wiring. Fasteners contacting a “live” wire may make exposed metal parts of the power tool “live” and could give the operator an electric shock.
- Always be sure you have a firm footing. Be sure no one is below when using the tool in high locations.
- Hold the tool firmly.
- Keep hands away from rotating parts.
- Do not touch the bit or the workpiece immediately after operation; they may be extremely hot and could burn your skin.
- Always secure workpiece in a vise or similar hold-down device.
- Make sure there are no electrical cables, water pipes, gas pipes etc. that could cause a hazard if damaged by use of the tool.
- WARNING: DO NOT let comfort or familiarity with product (gained from repeated use) replace strict adherence to safety rules for the subject product.
- MISUSE or failure to follow the safety rules stated in this instruction manual may cause serious personal injury.
Important safety instructions for battery cartridge
- Before using battery cartridge, read all instructions and cautionary markings on (1) battery charger, (2) battery, and (3) product using battery.
- Do not disassemble or tamper with the battery cartridge. It may result in a fire, excessive heat, or explosion.
- If operating time has become excessively shorter, stop operating immediately. It may result in a risk of overheating, possible burns and even an explosion.
- If electrolyte gets into your eyes, rinse them out with clear water and seek medical attention right away. It may result in loss of your eyesight.
- Do not short the battery cartridge:
- Do not touch the terminals with any conductive material.
- Avoid storing battery cartridge in a container with other metal objects such as nails, coins, etc.
- Do not expose battery cartridge to water or rain. A battery short can cause a large current flow, overheating, possible burns and even a breakdown.
- Do not store and use the tool and battery cartridge in locations where the temperature may reach or exceed 50 °C (122 °F).
- Do not incinerate the battery cartridge even if it is severely damaged or is completely worn out. The battery cartridge can explode in a fire.
- Do not nail, cut, crush, throw, drop the battery cartridge, or hit against a hard object to the battery cartridge. Such conduct may result in a fire, excessive heat, or explosion.
- Do not use a damaged battery.
- The contained lithium-ion batteries are subject to the Dangerous Goods Legislation requirements. For commercial transports e.g. by third parties, forwarding agents, special requirement on packaging
and labeling must be observed. For preparation of the item being shipped, consulting an expert for hazardous material is required. Please also observe possibly more detailed national regulations. Tape or mask off open contacts and pack up the battery in such a manner that it cannot move around in the packaging. - When disposing the battery cartridge, remove it from the tool and dispose of it in a safe place. Follow your local regulations relating to disposal of battery.
- Use the batteries only with the products specified by Makita. Installing the batteries to non-compliant products may result in a fire, excessive heat, explosion, or leak of electrolyte.
- If the tool is not used for a long period of time, the battery must be removed from the tool.
- During and after use, the battery cartridge may take on heat which can cause burns or low temperature burns. Pay attention to the handling of hot battery cartridges.
- Do not touch the terminal of the tool immediately after use as it may get hot enough to cause burns.
- Do not allow chips, dust, or soil stuck into the terminals, holes, and grooves of the battery cartridge. It may result in poor performance or breakdown of the tool or battery cartridge.
- Unless the tool supports the use near high-voltage electrical power lines, do not use the battery cartridge near high-voltage electrical power lines. It may result in a malfunction or breakdown of the tool or battery cartridge.
- Keep the battery away from children.
SAVE THESE INSTRUCTIONS.
CAUTION: Only use genuine Makita batteries. Use of non-genuine Makita batteries, or batteries that have been altered, may result in the battery bursting causing fires, personal injury and damage. It will
also void the Makita warranty for the Makita tool and charger. Tips for maintaining maximum battery life
- Charge the battery cartridge before completely discharged. Always stop tool operation and charge the battery cartridge when you notice less tool power.
- Never recharge a fully charged battery cartridge. Overcharging shortens the battery service life.
- Charge the battery cartridge with room temperature at 10 °C – 40 °C (50 °F – 104 °F). Let a hot battery cartridge cool down before charging it.
- When not using the battery cartridge, remove it from the tool or the charger.
- Charge the battery cartridge if you do not use it for a long period (more than six months).
FUNCTIONAL DESCRIPTION
- CAUTION: Always be sure that the tool is switched off and the battery cartridge is removed before adjusting or checking function on the tool.
Installing or removing battery cartridge
- CAUTION: Always switch off the tool before installing or removing of the battery cartridge.
- CAUTION: Hold the tool and the battery cartridge firmly when installing or removing battery cartridge. Failure to hold the tool and the battery cartridge firmly may cause them to slip off your hands and result in damage to the tool and battery cartridge and a personal injury.
► Fig.1:
- Red indicator
- Button
- Battery cartridge
- To remove the battery cartridge, slide it from the tool while sliding the button on the front of the cartridge.
- To install the battery cartridge, align the tongue on the battery cartridge with the groove in the housing and slip it into place. Insert it all the way until it locks in place with a little click. If you can see the red indicator as shown in the figure, it is not locked completely.
- CAUTION: Always install the battery cartridge fully until the red indicator cannot be seen. If not, it may accidentally fall out of the tool, causing injury to you or someone around you.
- CAUTION: Do not install the battery cartridge forcibly. If the cartridge does not slide in easily, it is not being inserted correctly.
Checking the remaining battery capacity (BL1460A)
► Fig.2:
- Indicator lamps
- Check button
- NOTE: Depending on the conditions of use and the ambient temperature, the indication may differ slightly from the actual capacity.
When charging
When the charging begins, the first (far left) indicating lamp begins to flicker. Then, as charging proceeds, the other lamps light, one after the other, to indicate the battery capacity.
NOTE: If the indicator lamp does not turn on or flicker when charging, the battery may be faulty. In this case, ask your local service center.
When using
- When the tool is switched on, the lamps will light to indicate the remaining battery capacity. When the tool is switched off, the light goes out after approx. 5 seconds. When pushing the check button with the tool switched off, the indicator lamps turn on for approx. 5 seconds to show battery capacity.
- If the orange lamp flickers, the tool stops because of little remaining battery capacity (Auto-stop mechanism). Charge the battery cartridge or use a charged battery cartridge at this time.
- When the tool is used with the battery that has not been used for a long time and is switched on, no lamps may light up. The tool stops because of little remaining battery capacity at this time. Charge the battery properly.
Tool / battery protection system
The tool is equipped with a tool/battery protection system. This system automatically cuts off power to the motor to extend tool and battery life. The tool will automatically stop during operation if the tool or battery is placed under one of the following conditions:
Overload protection
When the tool/battery is operated in a manner that causes it to draw an abnormally high current, the tool stops automatically. In this situation, turn the tool off and stop the application that caused the tool to become overloaded. Then turn the tool on to restart.
Overheat protection
When the tool/battery is overheated, the tool stops automatically. In this situation, let the tool/battery cool before turning the tool on again.
Over discharge protection
When the battery capacity is not enough, the tool stops automatically. In this case, remove the battery from the tool and charge the battery.
Switch action
- WARNING: Before installing the battery cartridge into the tool, always check to see that the switch trigger actuates properly and returns to the “OFF” position when released.
- To start the tool, simply pull the switch trigger. Release the switch trigger to stop.
► Fig.3:
- Switch trigger
- NOTE: For approximately one second after fastening, the tool does not work even with the switch pulled.
Lighting up the front lamp
► Fig.4:
- Lamp
- CAUTION: Do not look in the light or see the source of light directly.
- Pull the switch trigger to light up the lamp. The lamp keeps on lighting while the switch trigger is being pulled. The lamp goes out approximately 10 seconds after releasing the switch trigger.
- NOTE: Use a dry cloth to wipe the dirt off the lens of the lamp. Be careful not to scratch the lens of lamp, or it may lower the illumination.
Reversing switch action
► Fig.5:
- Reversing switch lever
- CAUTION: Always check the direction of rotation before operation.
- CAUTION: Use the reversing switch only after the tool comes to a complete stop. Changing the direction of rotation before the tool stops may damage the tool.
- CAUTION: When not operating the tool, always set the reversing switch lever to the neutral position.
- This tool has a reversing switch to change the direction of rotation. Depress the reversing switch lever from the A side for clockwise rotation or from the B side for counterclockwise rotation.
- When the reversing switch lever is in the neutral position, the switch trigger cannot be pulled.
LED indicator / Beeper
► Fig.6:
- LED indicator
LED indicator / Beeper on the tool shows the following functions.
| Function | Status of the tool | Status of the LED indicator/beeper | Action to be taken | |
| LED indicator | Beeper | |||
| Check of the LED indicator, light and beeper operation | When the battery cartridge is installed, the tool checks for its LED indicator, light and beeper. | Lights up first in green, next red.(And then the light comes on.) | A series of very short beeps | – |
| Detection of switch trigger operation when installing battery | When the battery cartridge is installed with the switch trigger pulled, the tool stops to avoid unintentional start. | Flickers in red and green alternatively. | A series of short beeps | Release the switch trigger. |
| Auto-stop with fastening completion | The preset fastening torque has been achieved and the tool has stopped. | Lights up in green for approximately one second. | – | – |
| Alarm against insufficient fastening | The preset fastening torque has not been achieved, because the switch trigger has released before completing the fastening. | Lights up in red. | A long beep | Retighten the screw. |
| Double-hitting detection | When the operator starts to re-fasten an already-fastened screw, the tool detect it and stops. | Lights up in red. | A long beep | – |
| Alarm for low battery capacity | The battery power became low and it is time to replace the battery cartridge. | Flickers in red slowly. | A series of long beeps | Replace the battery with fully charged one. |
| Auto-stop with low remaining battery capacity | The battery power is almost used up and the tool stopped. | Lights up in red. | A long beep | Replace the battery with fully charged one. |
| Anti-reset of controller | The battery voltage dropped abnormally for some reason, and the tool stopped. | Flickers in red and green alternatively. | A series of short beeps | Replace the battery with fully charged one. |
| Overheat protection | Tool’s controller heated up abnormally and the tool stopped. | Flickers in red quickly. | A series of short beeps | Remove the battery car- tridge immediately and cool the tool down. |
| Motor failure detection | Motor failure has been detected. At this time, tool does not work. | Flickers in red and green alternatively. | A series of short beeps | Ask your local Makita Service Center for repair. |
| Maintenance alarm | A maintenance time has come according to your preset number of screws driven. | Flickers in yellow. | – | Reset the alarm with the application software. |
| Alarm for unavailable data communication (with the tool in connection with PC) | Data cannot be exchanged between the tool and PC in spite of the connection. | Flickers in yellow. | – | Restart the application software and re-connect the USB cable. |
| Indication that data communication is available (with the tool in connection with PC) | The tool is connected to PC and data communication is available. | Flickers in green. | – | – |
Adjusting the fastening torque
When you wish to drive machine screws, hex bolts, etc. with the predetermined torque, adjust the fastening torque as follows.
- First remove the battery cartridge from the tool.
- Loosen and remove the screw that secures ring.
- Rotate the ring in the front of the tool by hand so that a hole can be seen below the ring.
- Install the battery cartridge in place. Pull the switch trigger and release it so that the adjust ring rotates and the hole becomes visible. And then remove the battery cartridge.
► Fig.7:
- Ring
- Screw
- Hole
- Use an optional adjust grip to adjust the fastening torque. Insert the pin of the adjust grip into the hole in the front of the tool. And then, turn the adjust grip clockwise to set a greater fastening torque, and counterclockwise to set a smaller fastening torque.
- Align the yellow line with your desired number on the fastening torque scale.
► Fig.8:
- Adjust grip
- Hole for adjust grip
- Scale
- Yellow line
- Insert the battery cartridge and be sure that a fastening torque has been set up by using a fastening torque tester.
- Rotate the ring in front of the tool and then tighten the screw to secure the ring.
NOTE: Numbers on the fastening torque scale is a guideline to set up your desired fastening torque.
Adjusting no-load speed and revolution angle etc.
- You can adjust the no-load speed, number of turn, etc. of the tool with your computer. Install the application software in your computer and connect it to the tool with an USB cable.
► Fig.9:
- USB port
- USB cover
- USB cable
- NOTICE: Make sure that the USB cover closed when fastening.
- NOTE: Use the makita genuine USB cable to connect your computer to the tool. Refer to the section “SPECIFICATIONS”.
- NOTE: For the application software, please contact Makita sales representative.
ASSEMBLY
CAUTION: Always be sure that the tool is switched off and the battery cartridge is removed before carrying out any work on the tool.
Installing or removing driver bit/socket bit
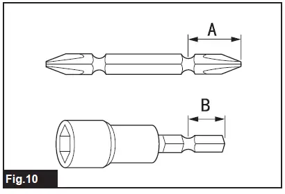
► Fig.10
Use only driver bit/socket bit that has inserting portion shown in the figure. Do not use any other driver bit/socket bit.
For tool with shallow driver bit hole
| A=12mm B=9mm | Use only these type of driver bit. Follow the procedure
|
For tool with deep driver bit hole
| A=17mm B=14mm | To install these types of driver bits, follow the procedure 1. |
| A=12mm B=9mm | To install these types of driver bits, follow the procedure 2. (Note) Bit-piece is necessary for installing the bit. |
Procedure 1
For tool without one-touch type sleeve
► Fig.11:
- Driver bit
- Sleeve
To install the driver bit, pull the sleeve in the direction of the arrow and insert the driver bit into the sleeve as far as it will go. Then release the sleeve to secure the driver bit.
For tool with one-touch type sleeve
To install the driver bit, insert the driver bit into the sleeve as far as it will go.
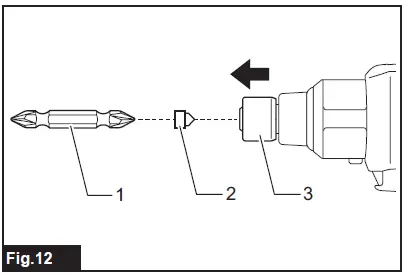
Procedure 2
In addition to Procedure 1, insert the bit-piece into the sleeve with its pointed end facing in.
► Fig.12:
- Driver bit
- Bit-piece 3. Sleeve
To remove the driver bit, pull the sleeve in the direction of the arrow and pull the driver bit out.
- NOTE: If the driver bit is not inserted deep enough into the sleeve, the sleeve will not return to its original position and the driver bit will not be secured. In this case, try re-inserting the bit according to the instructions above.
- NOTE: When it is difficult to insert the driver bit, pull the sleeve and insert it into the sleeve as far as it will go.
- NOTE: After inserting the driver bit, make sure that it is firmly secured. If it comes out, do not use it.
Installing hook
Optional accessory
The hook is useful to hang the tool. Install the hook to the holes on the tool body.
► Fig.13:
- Hook
- Hole
OPERATION
Screwdriving operation
- CAUTION: Make sure that the bit is inserted straight in the screw head, or the screw and/or bit may be damaged.
Place the point of the driver bit in the screw head and apply pressure to the tool. Then switch the tool on. When the clutch cuts in, the motor will stop automatically. Then release the switch trigger.
► Fig.14
Limits of fastening capacity
Use the tool within the limits of fastening capacity. If you use the tool beyond the limits, the clutch does not work. And the tool cannot deliver enough fastening torque.
For model DFT086F
- Range of fastening capacity
- Rotation angle
- Torque
For model DFT128F
- Range of fastening capacity
- Rotation angle
- Torque
- NOTE: The rotation angle is the angle from the point that the bolt is tightened in 50% of desired torque to the point that the bolt is tightened in 100% torque.
- NOTE: Use of a cold battery cartridge may give warning for battery capacity by LED indicator and beeper and stop the tool immediately, even if it is fully charged. In this case, the fastening capacity may be inferior to the specification on this manual.
MAINTENANCE
- CAUTION: Always be sure that the tool is switched off and the battery cartridge is removed before attempting to perform inspection or maintenance.
- NOTICE: Never use gasoline, benzine, thinner, alcohol or the like. Discoloration, deformation or cracks may result.
- To maintain product SAFETY and RELIABILITY, repairs, any other maintenance or adjustment should be performed by Makita Authorized or Factory Service Centers, always using Makita replacement parts.
OPTIONAL ACCESSORIES
CAUTION: These accessories or attachments are recommended for use with your Makita tool specified in this manual. The use of any other accessories or attachments might present a risk of injury to persons. Only use accessory or attachment for its stated purpose. If you need any assistance for more details regarding these accessories, ask your local Makita Service Center.
- Adjust grip
- Protector (Yellow, Blue, Red, Clear)
- USB cable
- Hook
- Ring (Yellow, Blue, Red)
- Makita genuine battery and charger
NOTE: Some items in the list may be included in the tool package as standard accessories. They may differ from country to country.
Makita Europe N.V. Jan-Baptist Vinkstraat 2, 3070 Kortenberg, Belgium
Makita Corporation 3-11-8, Sumiyoshi-Cho. Anjo, Aichi 446-8502 Japan
www.makita.com




















