
INSTRUCTION MANUAL
Cordless Screwdriver
DFT085F
DFT127F

Read before use.
SPECIFICATIONS
| Model: | DFT085F | DFT127F | |
| Fastening torque | Hard joint | 3 – 8 N•rn | 5 – 12 N•rn |
| Soft joint | 3 – 8 N•rn | 5 – 12 N•rn | |
| No load speed | 150 – 900 min”‘ | 100 – 600 min”‘ | |
| Dimensions (L x W x H) | with BL1415N battery | 190 mm x 72 mm x 237 mm | |
| with BL1430B battery | 190 mm x 72 mm x 254 mm | ||
| Rated voltage | D.C. 14.4 V | ||
| Net weight | 1.3 – 1.6 kg | ||
| Applicable USB cable | 661432-2 | ||
- Due to our continuing program of research and development, the specifications herein are subject to change without notice.
- Specifications may differ from country to country.
- The weight may differ depending on the attachment(s), including the battery cartridge. The lightest and heaviest combination,
according to EPTA-Procedure 01/2014, are shown in the table.
Applicable battery cartridge and charger
| Battery cartridge | BL1415N / BL1415NA / BL1430B / BL1440 / BL1460A / BL1460B |
| Charger | DC18RC / DC18RD / DC18RE / DC18SD / DC18SE / DC18SF /DC18SH |
- Some of the battery cartridges and chargers listed above may not be available depending on your region of residence.
WARNING: Only use the battery cartridges and chargers listed above. Use of any other battery cartridges and chargers may cause injury and/or fire.
Symbols
The followings show the symbols which may be used for the equipment. Be sure that you understand their meaning before use.
| Read instruction manual. | |
| Only for EU countries Due to the presence of hazardous components in the equipment, waste electrical and electronic equipment, accumulators and batteries may have a negative impact on the environment and human health. Do not dispose of electrical and electronic appliances or batteries with household waste! In accordance with the European Directive on waste electrical and electronic equipment and on accumulators and batteries and waste accumulators and batteries, as well as their adaptation to national law, waste electrical equipment, batteries, and accumulators should be stored separately and delivered to a separate ollection point for municipal waste, operating in accordance with the regulations on environmental protection. This is indicated by the symbol of the crossed-out wheeled bin laced on the equipment. |
Intended use
The tool is intended for screw driving in wood, metal and plastic.
SAFETY WARNINGS
General power tool safety warnings
WARNING: Read all safety warnings, instructions, illustrations and specifications provided with this power tool. Failure to follow all instructions listed below may result in electric shock, fire and/or serious injury.
Save all warnings and instructions for future reference. The term “power tool” in the warnings refers to your mains-operated (corded) power tool or battery-operated (cordless) power tool.
Work area safety
- Keep work area clean and well lit. Cluttered or dark areas invite accidents.
- Do not operate power tools in explosive atmospheres, such as in the presence of flammable liquids, gases or dust. Power tools create sparks which may ignite the dust or fumes.
- Keep children and bystanders away while operating a power tool. Distractions can cause you to lose control.
Electrical safety
- Power tool plugs must match the outlet. Never modify the plug in any way. Do not use any adapter plugs with earthed (grounded) power tools. Unmodified plugs and matching outlets will reduce risk of electric shock.
- Avoid body contact with earthed or grounded surfaces, such as pipes, radiators, ranges and refrigerators. There is an increased risk of electric shock if your body is earthed or grounded.
- Do not expose power tools to rain or wet conditions. Water entering a power tool will increase the risk of electric shock.
- Do not abuse the cord. Never use the cord for carrying, pulling or unplugging the power tool. Keep cord away from heat, oil, sharp edges or moving parts. Damaged or entangled cords increase the risk of electric shock.
- When operating a power tool outdoors, use an extension cord suitable for outdoor use. Use of a cord suitable for outdoor use reduces the risk of electric shock.
- If operating a power tool in a damp location is unavoidable, use a residual current device (RCD) protected supply. Use of an RCD reduces the risk of electric shock.
- Power tools can produce electromagnetic fields (EMF) that are not harmful to the user. However, users of pacemakers and other similar medical devices should contact the maker of their device and/or doctor for advice before operating this power tool.
Personal safety
- Stay alert, watch what you are doing and use common sense when operating a power tool. Do not use a power tool while you are tired or under the influence of drugs, alcohol, or medication. A moment of inattention while operating power tools may result in serious personal injury.
- Use personal protective equipment. Always wear eye protection. Protective equipment such as a dust mask, non-skid safety shoes, hard hat, or hearing protection used for appropriate conditions will reduce personal injuries.
- Prevent unintentional starting. Ensure the switch is in the off-position before connecting to power source and/or battery pack, picking up or carrying the tool. Carrying power tools with your finger on the switch or energising power tools that have the switch on invites accidents.
- Remove any adjusting key or wrench before turning the power tool on. A wrench or a key left attached to a rotating part of the power tool may result in personal injury.
- Do not overreach. Keep proper footing and balance at all times. This enables better control of the power tool in unexpected situations.
- Dress properly. Do not wear loose clothing or jewellery. Keep your hair and clothing away from moving parts. Loose clothes, jewellery, or long hair can be caught in moving parts.
- If devices are provided for the connection of dust extraction and collection facilities, ensure these are connected and properly used. Use of dust collection can reduce dust-related hazards.
- Do not let familiarity gained from frequent use of tools allow you to become complacent and ignore tool safety principles. A careless action an cause severe injury within a fraction of a second.
- Always wear protective goggles to protect your eyes from injury when using power tools. The goggles must comply with ANSI Z87.1 in the USA, EN 166 in Europe, or AS/NZS 1336 in Australia/New Zealand. In Australia/New Zealand, it is legally required to wear a face shield to protect your face, too.
It is an employer’s responsibility to enforce the use of appropriate safety protective equipment by the tool operators and by other persons in the immediate working area.
Power tool use and care
- Do not force the power tool. Use the correct power tool for your application. The correct power tool will do the job better and safer at the rate for which it was designed.
- Do not use the power tool if the switch does not turn it on and off. Any power tool that cannot be controlled with the switch is dangerous and must be repaired.
- Disconnect the plug from the power source and/or remove the battery pack, if detachable, from the power tool before making any adjustments, changing accessories, or storing power tools. Such preventive safety measures reduce the risk of starting the power tool accidentally.
- Store idle power tools out of the reach of children and do not allow persons unfamiliar with the power tool or these instructions to operate the power tool. Power tools are dangerous in the hands of untrained users.
- Maintain power tools and accessories. Check for misalignment or binding of moving parts, breakage of parts, and any other condition that may affect the power tool’s operation. If damaged, have the power tool repaired before use. Many accidents are caused by poorly maintained power tools.
- Keep cutting tools sharp and clean. Properly maintained cutting tools with sharp cutting edges are less likely to bind and are easier to control.
- Use the power tool, accessories and tool bits etc. in accordance with these instructions, taking into account the working conditions and the work to be performed. Use of the power tool for operations different from those intended could result in a hazardous situation.
- Keep handles and grasping surfaces dry, clean and free from oil and grease. Slippery handles and grasping surfaces do not allow for safe handling and control of the tool in unexpected situations.
- When using the tool, do not wear cloth work gloves which may be entangled. The entanglement of cloth work gloves in the moving parts may result in personal injury.
Battery tool use and care
- Recharge only with the charger specified by the manufacturer. A charger that is suitable for one type of battery pack may create a risk of fire when used with another battery pack.
- Use power tools only with specifically designated battery packs. Use of any other battery packs may create a risk of injury and fire.
- When battery pack is not in use, keep it away from other metal objects, like paper clips, coins, keys, nails, screws or other small metal objects, that can make a connection from one terminal to another. Shorting the battery terminals together may cause burns or a fire.
- Under abusive conditions, liquid may be ejected from the battery; avoid contact. If contact accidentally occurs, flush with water. If liquid contacts eyes, additionally seek medical help. Liquid ejected from the battery may cause irritation or burns.
- Do not use a battery pack or tool that is damaged or modified. Damaged or modified batteries may exhibit unpredictable behaviour resulting in fire, explosion or risk of injury.
- Do not expose a battery pack or tool to fire or excessive temperature. Exposure to fire or temperature above 130 °C may cause explosion.
- Follow all charging instructions and do not charge the battery pack or tool outside the temperature range specified in the instructions. Charging improperly or at temperatures outside the specified range may damage the battery and increase the risk of fire.
Service
- Have your power tool serviced by a qualified repair person using only identical replacement parts. This will ensure that the safety of the power tool is maintained.
- Never service damaged battery packs. Service of battery packs should only be performed by the manufacturer or authorized service providers.
- Follow instruction for lubricating and changing accessories.
Cordless screwdriver safety warnings
- Hold the power tool by insulated gripping surfaces, when performing an operation where the fastener may contact hidden wiring. Fasteners contacting a “live” wire may make exposed metal parts of the power tool “live” and could give the operator an electric shock.
- Always be sure you have a firm footing. Be sure no one is below when using the tool in high locations.
- Hold the tool firmly.
- Keep hands away from rotating parts.
- Do not touch the bit or the workpiece immediately after operation; they may be extremely hot and could burn your skin.
- Always secure workpiece in a vise or similar hold-down device.
- Make sure there are no electrical cables, water pipes, gas pipes, etc. that could cause a hazard if damaged by use of the tool.
SAVE THESE INSTRUCTIONS.
WARNING: DO NOT let comfort or familiarity with product (gained from repeated use) replace strict adherence to safety rules for the subject product.
MISUSE or failure to follow the safety rules stated in this instruction manual may cause serious personal injury.
Important safety instructions for battery cartridge
- Before using battery cartridge, read all instructions and cautionary markings on (1) battery charger, (2) battery, and (3) product using battery.
- Do not disassemble or tamper with the battery cartridge. It may result in a fire, excessive heat, or explosion.
- If operating time has become excessively shorter, stop operating immediately. It may result in a risk of overheating, possible burns and even an explosion.
- If electrolyte gets into your eyes, rinse them out with clear water and seek medical attention right away. It may result in loss of your eyesight.
- Do not short the battery cartridge:
- Do not touch the terminals with any conductive material.
- Avoid storing battery cartridge in a container with other metal objects such as nails, coins, etc.
- Do not expose battery cartridge to water or rain. A battery short can cause a large current flow, overheating, possible burns and even a breakdown.
- Do not store and use the tool and battery cartridge in locations where the temperature may reach or exceed 50 °C (122 °F).
- Do not incinerate the battery cartridge even if it is severely damaged or is completely worn out. The battery cartridge can explode in a fire.
- Do not nail, cut, crush, throw, drop the battery cartridge, or hit against a hard object to the battery cartridge. Such conduct may result in a fire, excessive heat, or explosion.
- Do not use a damaged battery.
- The contained lithium-ion batteries are subject to the Dangerous Goods Legislation requirements. For commercial transports e.g. by third parties, forwarding agents, special requirement on packaging and labeling must be observed. For preparation of the item being shipped, consulting an expert for hazardous material is required. Please also observe possibly more detailed national regulations. Tape or mask off open contacts and pack up the battery in such a manner that it cannot move around in the packaging.
- When disposing the battery cartridge, remove it from the tool and dispose of it in a safe place. Follow your local regulations relating to disposal of battery.
- Use the batteries only with the products specified by Makita. Installing the batteries to non-compliant products may result in a fire, excessive heat, explosion, or leak of electrolyte.
- If the tool is not used for a long period of time, the battery must be removed from the tool.
- During and after use, the battery cartridge may take on heat which can cause burns or low temperature burns. Pay attention to the handling of hot battery cartridges.
- Do not touch the terminal of the tool immediately after use as it may get hot enough to cause burns.
- Do not allow chips, dust, r soil stuck into the terminals, holes, and grooves of the battery cartridge. It may result in poor performance or breakdown of the tool or battery cartridge.
- Unless the tool supports the use near high-voltage electrical power lines, do not use the battery cartridge near high-voltage electrical power lines. It may result in a malfunction or breakdown of the tool or battery cartridge.
- Keep the battery away from children.
SAVE THESE INSTRUCTIONS.
CAUTION: Only use genuine Makita batteries. Use of non-genuine Makita batteries, or batteries that have been altered, may result in the battery bursting causing fires, personal injury and damage. It will also void the Makita warranty for the Makita tool and charger.
Tips for maintaining maximum battery life
- Charge the battery cartridge before completely discharged. Always stop tool operation and charge the battery cartridge when you notice less tool power.
- Never recharge a fully charged battery cartridge. Overcharging shortens the battery service life.
- Charge the battery cartridge with room temperature at 10 °C – 40 °C (50 °F – 104 °F). Let a hot battery cartridge cool down before charging it.
- When not using the battery cartridge, remove it from the tool or the charger.
- Charge the battery cartridge if you do not use it for a long period (more than six months).
FUNCTIONAL DESCRIPTION
CAUTION: Always be sure that the tool is switched off and the battery cartridge is removed before adjusting or checking function on the tool.
Installing or removing battery cartridge
CAUTION: Always switch off the tool before installing or removing of the battery cartridge.
CAUTION: Hold the tool and the battery cartridge firmly when installing or removing battery cartridge. Failure to hold the tool and the battery cartridge firmly may cause them to slip off your hands and result in damage to the tool and battery cartridge and a personal injury.
► 1. Red indicator 2. Button 3. Battery cartridge
To remove the battery cartridge, slide it from the tool while sliding the button on the front of the cartridge. To install the battery cartridge, align the tongue on the battery cartridge with the groove in the housing and slip it into place. Insert it all the way until it locks in place with a little click. If you can see the red indicator as shown in the figure, it is not locked completely.
CAUTION: Always install the battery cartridge fully until the red indicator cannot be seen. If not, it may accidentally fall out of the tool, causing injury to you or someone around you.
CAUTION: Do not install the battery cartridge forcibly. If the cartridge does not slide in easily, it is not being inserted correctly.
Checking the remaining battery capacity (BL1460A)
► 1. Indicator lamps 2. Check button
NOTE: Depending on the conditions of use and the ambient temperature, the indication may differ slightly from the actual capacity.
When charging
When the charging begins, the first (far left) indicating lamp begins to flicker. Then, as charging proceeds, the other lamps light, one after the other, to indicate the battery capacity.
NOTE: If the indicator lamp does not turn on or flicker when charging, the battery may be faulty. In this case, ask your local service center.
When using
When the tool is switched on, the lamps will light to indicate the remaining battery capacity. When the tool is switched off, the light goes out after approx. 5 seconds. When pushing the check button with the tool switched off, the indicator lamps turn on for approx. 5 seconds to show battery capacity. If the orange lamp flickers, the tool stops because of little remaining battery capacity (Auto-stop mechanism). Charge the battery cartridge or use a charged battery cartridge at this time. When the tool is used with the battery that has not been used for a long time and is switched on, no lamps may light up. The tool stops because of little remaining battery capacity at this time. Charge the battery properly.
Tool/battery protection system
The tool is equipped with a tool/battery protection system. This system automatically cuts off power to the motor to extend tool and battery life. The tool will automatically stop during operation if the tool or battery is placed under one of the following conditions:
Overload protection
When the tool/battery is operated in a manner that causes it to draw an abnormally high current, the tool stops automatically. In this situation, turn the tool off and stop the application that caused the tool to become overloaded. Then turn the tool on to restart.
Overheat protection
When the tool/battery is overheated, the tool stops automatically. In this situation, let the tool/battery cool before turning the tool on again.
Overdischarge protection
When the battery capacity is not enough, the tool stops automatically. In this case, remove the battery from the tool and charge the battery.
Switch action
WARNING: Before installing the battery cartridge into the tool, always check to see that the switch trigger actuates properly and returns to the “OFF” position when released.
To start the tool, simply pull the switch trigger. Release the switch trigger to stop.

► 1. Switch trigger
NOTE: For approximately one second after fastening, the tool does not work even with the switch pulled.
Lighting up the front lamp

► 1. Lamp
CAUTION: Do not look in the light or see the source of light directly.
Pull the switch trigger to light up the lamp. The lamp keeps on lighting while the switch trigger is being pulled. The lamp goes out approximately 10 seconds after releasing the switch trigger.
NOTE: Use a dry cloth to wipe the dirt off the lens of the lamp. Be careful not to scratch the lens of lamp, or it may lower the illumination.
Reversing switch action
► 1. Reversing switch lever
LED indicator / Beeper

► 1. LED indicator
CAUTION: Always check the direction of rotation before operation.
CAUTION: Use the reversing switch only after the tool comes to a complete stop. Changing the direction of rotation before the tool stops may damage the tool.
CAUTION: When not operating the tool, always set the reversing switch lever to the neutral position.
This tool has a reversing switch to change the direction of rotation. Depress the reversing switch lever from the A side for clockwise rotation or from the B side for coun- terclockwise rotation.
When the reversing switch lever is in the neutral posi- tion, the switch trigger cannot be pulled.
LED indicator / Beeper on the tool shows the following functions.
| Function | Status of the tool | Status of the LED indicator/beeper | Action to be taken | |
| LED indicator | Beeper | |||
| Check of the LED indicator, light, and beeper operation | When the battery cartridge is installed, the tool checks for its LED indicator, light, and beeper. | Lights up first in green, next red. (And then the light comes on.) | A series of very short beeps | — |
| Detection of switch trigger operation when installing battery | When the battery car- tridge is installed with the switch trigger pulled, the tool stops to avoid unintentional start. | Flickers in red and green alternatively. | A series of short beeps | Release the switch trigger. |
| Auto-stop with fastening completion | The preset fasten- ing torque has been achieved and the tool has stopped. | Lights up in green for approximately one second. | — | — |
| Alarm against insufficient fastening | The preset fastening torque has not been achieved, because the switch trigger has released before completing the fastening. | Lights up in red. | A long beep | Retighten the screw. |
| Double-hitting detection | When the operator starts to re-fasten an already-fastened screw, the tool detect it and stops. | Lights up in red. | A long beep | — |
| Alarm for low battery capacity | The battery power became low and it is time to replace the battery cartridge. | Flickers in red slowly. | A series of long beeps | Replace the battery with fully charged one. |
| Auto-stop with low remaining battery capacity | The battery power is almost used up and the tool stopped. | Lights up in red. | A long beep | Replace the battery with fully charged one. |
| Anti-reset of controller | The battery voltage dropped abnormally for some reason, and the tool stopped. | Flickers in red and green alternatively. | A series of short beeps | Replace the battery with fully charged one. |
| Overheat protection | Tool’s controller heated up abnormally and the tool stopped. | Flickers in red quickly. | A series of short beeps | Remove the battery car-tridge immediately and cool the tool down. |
| Motor failure detection | Motor failure has been detected. At this time, tool does not work. | Flickers in red and green alternatively. | A series of short beeps | Ask your local Makita Service Center for repair. |
| Maintenance alarm | A maintenance time has come according to your preset number of screws driven. | Flickers in yellow. | — | Reset the alarm with the application software. |
| Alarm for unavailable data communication (with the tool in connec- tion with PC) | Data cannot be exchanged between the tool and PC in spite of the connection. | Flickers in yellow. | — | Restart the application software and re-connect the USB cable. |
| Indication that data com- munication is available (with the tool in connec- tion with PC) | The tool is connected to PC and data communication is available. | Flickers in green. | — | — |
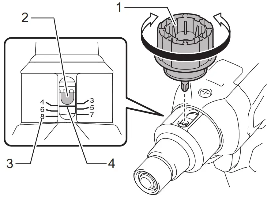
Adjusting the fastening torque
When you wish to drive machine screws, hex bolts, etc. with the predetermined torque, adjust the fastening torque as follows.
- First remove the battery cartridge from the tool.
- Loosen and remove the screw that secures ring.
- Rotate the ring in the front of the tool by hand so that a hole can be seen below the ring.
- Install the battery cartridge in place. Pull the switch trigger and release it so that the adjust ring rotates and the hole becomes visible. And then remove the battery cartridge.
► 1. Ring 2. Screw 3. Hole - Use an optional adjust grip to adjust the fastening torque. Insert the pin of the adjust grip into the hole in the front of the tool. And then, turn the adjust grip clockwise to set a greater fastening torque, and counterclockwise to set a smaller fastening torque.
- Align the yellow line with your desired number on the fastening torque scale.
► 1. Adjust grip 2. Hole for adjust grip 3. Scale 4. Yellow line - Insert the battery cartridge and be sure that a fastening torque has been set up by using a fastening torque tester.
- Rotate the ring in front of the tool and then tighten the screw to secure the ring.
NOTE: Numbers on the fastening torque scale is a guideline to set up your desired fastening torque.
Adjusting no-load speed and revolution angle etc.
You can adjust the no-load speed, number of turn, etc. of the tool with your computer. Install the application software in your computer and connect it to the tool with an USB cable.

► 1. USB port 2. USB cover 3. USB cable
NOTICE: Make sure that the USB cover closed when fastening.
NOTE: Use the makita genuine USB cable to connect your computer to the tool. Refer to the section “SPECIFICATIONS”.
NOTE: For the application software, please contact Makita sales representative.
ASSEMBLY
CAUTION: Always be sure that the tool is switched off and the battery cartridge is removed before carrying out any work on the tool.
Installing or removing driver bit/ socket bit

Use only driver bit/socket bit that has inserting portion shown in the figure. Do not use any other driver bit/ socket bit.
For tool with shallow driver bit hole
| A=12mm B=9mm | Use only these type of driver bit. Follow the procedure 1. (Note) Bit-piece is not necessary. |
For tool with deep driver bit hole
| A=17mm B=14mm | To install these types of driver bits, follow the procedure 1. |
| A=12mm B=9mm | To install these types of driver bits, follow the procedure 2. (Note) Bit-piece is necessary for installing the bit. |
Procedure 1
For tool without one-touch type sleeve

► 1. Driver bit 2. Bit-piece 3. Sleeve
To remove the driver bit, pull the sleeve in the direction of the arrow and pull the driver bit out.
NOTE: If the driver bit is not inserted deep enough into the sleeve, the sleeve will not return to its original position and the driver bit will not be secured. In this case, try re-inserting the bit according to the instructions above.
NOTE: When it is difficult to insert the driver bit, pull the sleeve and insert it into the sleeve as far as it will go.
NOTE: After inserting the driver bit, make sure that it is firmly secured. If it comes out, do not use it.
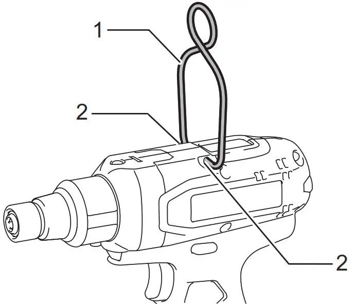
Installing hook
Optional accessory
The hook is useful to hang the tool. Install the hook to the holes on the tool body.

► 1. Hook 2. Hole
OPERATION
Screwdriving operation
CAUTION: Make sure that the bit is inserted straight in the screw head, or the screw and/or bit may be damaged.
Place the point of the driver bit in the screw head and apply pressure to the tool. Then switch the tool on. When the clutch cuts in, the motor will stop automatically. Then release the switch trigger.

Limits of fastening capacity
Use the tool within the limits of fastening capacity. If you use the tool beyond the limits, the clutch does not work. And the tool cannot deliver enough fastening torque. For model DFT085F

1. Range of fastening capacity 2. Rotation angle 3. Torque
For model DFT127F

1. Range of fastening capacity 2. Rotation angle 3. Torque
NOTE: The rotation angle is the angle from the point that the bolt is tightened in 50% of desired torque to the point that the bolt is tightened in 100% torque.
NOTE: Use of a cold battery cartridge may give warning for battery capacity by LED indicator and beeper and stop the tool immediately, even if it is fully charged. In this case, the fastening capacity may be inferior to the specification on this manual.
MAINTENANCE
CAUTION: Always be sure that the tool is switched off and the battery cartridge is removed before attempting to perform inspection or maintenance.
NOTICE: Never use gasoline, benzine, thinner, alcohol, or the like. Discoloration, deformation, or cracks may result. To maintain product SAFETY and RELIABILITY, repairs, any other maintenance or adjustment should be performed by Makita Authorized or Factory Service Centers, always using Makita replacement parts.
OPTIONAL ACCESSORIES
CAUTION: These accessories or attachments are recommended for use with your Makita tool specified in this manual. The use of any other accessories or attachments might present a risk of injury to persons. Only use accessory or attachment for its stated purpose.
If you need any assistance for more details regarding these accessories, ask your local Makita Service Center.
- Adjust grip
- Protector (Yellow, Blue, Red, Clear)
- USB cable
- Hook
- Ring (Yellow, Blue, Red)
- Makita genuine battery and charger
NOTE: Some items in the list may be included in the tool package as standard accessories. They may differ from country to country.
Makita Corporation
3-11-8, Sumiyoshi-cho, Anjo, Aichi 446-8502 Japan
www.makita.com
885554B6
EN
20210319
It is an employer’s responsibility to enforce the use of appropriate safety protective equipment by the tool operators and by other persons in the immediate working area.
► 1. Ring 2. Screw 3. Hole
► 1. Adjust grip 2. Hole for adjust grip 3. Scale 4. Yellow line


















