DS-2CD2087G2-LU Pro Series IP Camera Built in Microphone
Appearance Description


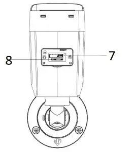
Figure 1-1 Bullet Camera Overview
Table 1-1 Description
No. | Description |
| 1 | Lens |
| 2 | Camera Body |
| 3 | Microphone* |
| 4 | Bracket |
| 5 | Network Interface |
| 6 | Power Interface |
| 7 | Reset Button |
| 8 | Memory Card Slot |
Note:
● Microphone interface varies according to different device models. Please refer to the actual device.
● Press and hold the reset button about 10s when the camera is powering on or rebooting to restore the default settings, including the user name, password, IP address, port No., etc.
Installation
Before you start:
● Make sure the device in the package is in good condition and all the assembly parts are included.
● The standard power supply is 12 VDC or PoE, please make sure your power supply matches with your camera.
● Make sure all the related equipment is power-off during the installation.
● Check the specification of the products for the installation environment.
● Make sure that the wall is strong enough to withstand four times the weight of the camera and the bracket.
For the camera that supports IR, you are required to pay attention to the following precautions to prevent IR reflection:
● Dust or grease on the dome cover will cause IR reflection. Please do not remove the dome cover film until the installation is finished. If there is dust or grease on the dome cover, clean the dome cover with a clean soft cloth and isopropyl alcohol.
● Make sure that there is no reflective surface too close to the camera lens. The IR light from the camera may reflect back into the lens causing reflection.
● The foam ring around the lens must be seated flush against the inner surface of the bubble to isolate the lens from the IR LEDs. Fasten the dome cover to the camera body so that the foam ring and the dome cover are attached seamlessly.
For the camera that supports supplement light, DO NOT stare at the light to avoid potential injury.
Memory Card Installation
Follow the steps to mount and unmount the memory card.
Steps:
1. Loosen the screws to remove the memory card slot cover.

Figure 2-1 Unscrew the Cover and Insert Memory Card
2. Insert the memory card into the memory card slot.
3. (Optional)To unmount the memory card, push to get it ejected.
4. Screw the cover back to the camera.
Ceiling Mounting
Before you start:
Both wall mounting and ceiling mounting are suitable for the bullet camera. Ceiling mounting will be taken as an example in this section. And you can take steps of ceiling mounting as a reference for wall mounting.
Steps:
1. Paste the drill template (supplied) to the desired mounting position on the ceiling.
2. Drill the screw holes in the ceiling according to the supplied drill template.
Note:
Drill the cable hole, if adopting ceiling outlet to route the cable.

3. Route the cables through the cable hole (optional), or the side opening.
4. Fix the camera on the ceiling with supplied screws.

Note:
- In the supplied screw package, both self-tapping screws, and expansion bolts are contained.
- If the ceiling is cement, expansion bolts are required to fix the camera. If the ceiling is wooden, self-tapping screws are required.
5. Connect the cables and power on the camera to view the live view image.
6. Adjust the surveillance angle.
1) Loosen the No.1 adjusting screw to adjust the rotation position [0° to 360°].
2) Tighten the No.1 adjusting screw.
3) Loosen the No.2 adjusting screw to adjust the tilting position [0° to 90°].
4) Tighten the No. 2 adjusting screw.
5) Loosen the No.3 adjusting screw to adjust the pan position [0° to 360°].
6) Tighten the No.3 adjusting screw.

7. (Optional) Install the waterproof jacket. Refer to 2.4 Waterproof Measures for details.
Wall Mounting with Junction Box Before you start:
Before you start:
- Both wall mounting and ceiling mounting are suitable for the bullet camera. Wall mounting will be taken as an example in this section. And you can take steps of wall mounting as a reference for ceiling mounting.
- The junction box is not included in the package. You need to prepare one for this mounting type
Steps:
1. Paste the drill template (supplied) to the desired mounting position on the wall.
2. Drill the screw holes and the cable hole (optional) in the wall according to the drill template.
Note:
Drill the cable hole, if adopting a ceiling outlet to route the cable.

3. Take apart the junction box, and align the screw holes of the bullet camera with those on the junction box’s cover.
4. Fix the camera on the junction box’s cover with three PM4 × 10 screws.

Figure 2-6 Fix the Camera on Junction Box’s Cover
5. Secure the junction box’s body with three supplied screws on the wall.

6. Route the cables through the cable hole. Here we take the bottom cable hole as an example to describe the installation.
1). Separate the waterproof cover and the cable gland from the junction box.
2). Route the cable through the bottom cable hole and the cable gland.
3). Screw the cable gland back on the bottom cable hole.
4). Screw the waterproof cover back on the side cable hole.
7. Combine the junction box cover with its body with three screws on the junction box’s cover.

8. Repeat steps 5 to 7 of 2.2 Ceiling Mounting to complete the installation.
Waterproof Measure
If the camera is installed outdoor, you should use the waterproof accessory or tapes to waterproof the cables. Otherwise, the cables might get wet or a short circuit occurs.

Steps:
1. Feed the network cable through ① and ③ in order.
2. Fix ② on the network cable between ① and ③.
3. Place ⑤ onto the end of ⑥, and plug the RJ45 male connector into RJ45 female connector.
4. Screw ③ to ⑥ clockwise
5. Push ② into ③.
6. Secure ① with the ③ in clockwise direction.
Waterproof Other Cables
After routing and connecting the cables, use the waterproof tapes to wrap up the cables. Connected cables and spare cables both should be wrapped up as the figures below.




















