WORX WA0220 Pole hedge trimmer

Overview
PRODUCT SAFETY
WARNING: Some dust created by power sanding, sawing, grinding, drilling and other construction activities contains chemicals known to the state of California to cause cancer, birth defects or other reproductive harm. Some examples of these chemicals are:
- Lead from lead-based paints;
- Crystalline silica from bricks and cement and other masonry products;
- Arsenic and chromium from chemically-treated lumber.
Your risk from these exposures varies, depending on how often you do this type of work. To reduce your exposure to these chemical: work in a well ventilated area, and work with approved safety equipment, such as those dust masks that are specially designed to filter out microscopic particles.
WARNING: This product can expose you to chemicals including lead and Di phthalate (DEHP) which are known to the State of California to cause cancer and birth defects or other reproductive harm. For more information go to www.P65Warnings.ca.gov.
GENERAL POWER TOOL SAFETY WARNINGS
WARNING Read all safety warnings and instructions. Failure to follow the warnings and instructions may result in electric shock, fire and/or serious injury.
Save all warnings and instructions for future reference.
The term “power tool” in the warnings refers to your mains-operated (corded) power tool or battery- operated (cordless) power tool.
- Work area safety
a) Keep work area clean and well lit. Cluttered or dark areas invite accidents.
b) Do not operate power tools in explosive atmospheres, such as in the presence of flammable liquids, gases or dust. Power tools create sparks which may ignite the dust or fumes.
c) Keep children and bystanders away while operating a power tool. Distractions can cause you to lose control. - Electrical safety
a) Power tool plugs must match the outlet. Never modify the plug in any way. Do not use any adapter plugs with earthed (grounded) power tools. Unmodified plugs and matching outlets will reduce risk of electric shock.
b) Avoid body contact with earthed or grounded surfaces such as pipes, radiators, ranges and refrigerators. There is an increased risk of electric shock if your body is earthed or grounded.
c) Do not expose power tools to rain or wet conditions. Water entering a power tool will increase the risk of electric shock.
d) Do not abuse the cord. Never use the cord for carrying, pulling or unplugging the power tool. Keep cord away from heat, oil, sharp edges or moving parts. Damaged or entangled cords increase the risk of electric shock.
e) When operating a power tool outdoors, use an extension cord suitable for outdoor use. Use of a cord suitable for outdoor use reduces the risk of electric shock.
f) If operating a power tool in a damp location is unavoidable, use a residual current device (RCD) protected supply. Use of an RCD reduces the risk of electric shock. - Personal safety
a) Stay alert, watch what you are doing and use common sense when operating a power tool. Do not use a power tool while you are tired or under the influence of drugs, alcohol or medication. A moment of inattention while operating power tools may result in serious personal injury.
b) Use personal protective equipment. Always wear eye protection. Protective equipment such as dust mask, non-skid safety shoes, hard hat, or hearing protection used for appropriate conditions will reduce personal injuries.
c) Prevent unintentional starting. Ensure the switch is in the off-position before connecting to power source and/or battery pack, picking up or carrying the tool. Carrying power tools with your finger on the switch or energising power tools that have the switch on invites accidents.
d) Remove any adjusting key or wrench before turning the power tool on. A wrench or a key left attached to a rotating part of the power tool may result in personal injury.
e) Do not overreach. Keep proper footing and balance at all times. This enables better control of the power tool in unexpected situations.
f) Dress properly. Do not wear loose clothing or jewellery. Keep your hair, clothing and gloves away from moving parts. Loose clothes, jewellery or long hair can be caught in moving parts.
g) If devices are provided for the connection of dust extraction and collection facilities, ensure these are connected and properly used. Use of dust collection can reduce dust-related hazards. - Power tool use and care
- Do not force the power tool. Use the correct power tool for your application. The correct power tool will do the job better and safer at the rate for which it was designed.
- Do not use the power tool if the switch does not turn it on and off. Any power tool that cannot be controlled with the switch is dangerous and must be repaired.
- Disconnect the plug from the power source and/or the battery pack from the power tool before making any adjustments, changing accessories, or storing power tools. Such preventive safety measures reduce the risk of starting the power tool accidentally.
- Store idle power tools out of the reach of children and do not allow persons unfamiliar with the power tool or these instructions to operate the power tool.Power tools are dangerous in the hands of untrained users.
- Maintain power tools. Check for misalignment or binding of moving parts, breakage of parts and any other condition that may affect the power tools operation. If damaged, have the power tool repaired before use. Many accidents are caused by poorly maintained power tools.
- Keep cutting tools sharp and clean. Properly maintained cutting tools with sharp cutting edges are less likely to bind and are easier to control.
- Use the power tool, accessories and tool bits etc., in accordance with these instructions and in the manner intended for the particular type of power tool, taking into account the working conditions and the work to be performed. Use of the power tool for operations different from those intended could result in a hazardous situation.
- Battery tool use and care
- a) Recharge only with the charger specified by the manufacturer. A charger that is suitable for one type of battery pack may create a risk of fire when used with another battery pack.
- b) Use power tools only with specifically designated battery packs. Use of any other battery packs may create a risk of injury and fire.
- c) When battery pack is not in use, keep it away from other metal objects, like paper clips, coins, keys, nails, screws or other small metal objects, that can make a connection from one terminal to another. Shorting the battery terminals together may cause burns or a fire.
- d) Under abusive conditions, liquid may be ejected from the battery; avoid contact. If contact accidentally occurs, flush with water. If liquid contacts eyes, additionally seek medical help. Liquid ejected from the battery may cause irritation or burns.
- Service
a) Have your power tool serviced by a qualified repair person using only identical replacement parts. This will ensure that the safety of the power tool is maintained
HEDGE TRIMMER SAFETY WARNINGS
- Keep all parts of the body away from the cutter blade. Do not remove cut material or hold material to be cut when blades are moving. Make sure the switch is off when clearing jammed material. Blades coast after turn off. A moment of inattention while operating the hedge trimmer may result in serious personal injury.
- Carry the hedge trimmer by the handle with the cutter blade stopped. When transporting or storing the hedge trimmer always fit the cutting device cover. Proper handling of the hedge trimmer will reduce possible personal injury from the cutter blades.
- Hold the power tool by insulated gripping surfaces only, because the cutter blade may contact hidden wiring or its own cord. Cutter blades contacting a“live”wire may make exposed metal parts of the power tool “live”and could give the operator an electric shock
- Keep hands away from blade. Contact with blade will result in serious personal injury.
- Use both hands when operating the hedge trimmer. Using one hand could cause loss of control and result in serious personal injury
- Only use with handle and guard properly assembled to hedge trimmer. The use of the hedge trimmer without the proper guard or handle provided may result in serious personal injury
- Check the hedge for foreign objects, e.g. wire fences
EXTENDED-REACH HEDGE TRIMMER SAFETY WARNINGS
1. Do not use the extended-reach hedge trimmer in bad weather conditions, especially when there is a risk of lightning. This decreases the risk of being struck by lightning.
2. To reduce the risk of electrocution, never use near any electrical power lines. Contact with or use near power lines may cause serious injury or electric shock resulting in death.
3. Always use two hands when operating the extended-reach hedge trimmer. Hold the extended-reach hedge trimmer with both hands to avoid loss of control.
4. Always use head protection when operating the extended-reach hedge trimmer overhead. Falling debris can result in serious personal injury.
5. Keep bystanders, especially children at a safe distance during the operation of the extended reach hedge trimmer.
6. Keep a firm footing and balance during operating.
SAFETY WARNINGS FOR BATTERY PACK
- Do not dismantle, open or shred battery pack.
- Do not expose battery pack to heat or fire. Avoid storage in direct sunlight.
- Do not short-circuit a battery pack. Do not store battery packs haphazardly in a box or drawer where they may short-circuit each other or be short-circuited by other metal objects. When battery pack is not in use, keep it away from other metal objects, like paper clips, coins, keys, nails, screws or other small metal objects, that can make a connection from one terminal to another. Shorting the battery terminals together may cause burns or fire.
- Do not remove battery pack from its original packaging until required for use.
- Do not subject battery pack to mechanical shock.
- In the event of battery leaking, do not allow the liquid to come in contact with the skin or eyes. If contact has been made, wash the affected area with copious amounts of water and seek medical advice.
- Observe the plus (+) and minus (–) marks on the battery back and equipment and ensure correct use.
- Do not use any battery pack which is not designed for use with the equipment.
- Keep battery pack out of the reach of children.
- Seek medical advice immediately if a cell or battery has been swallowed.
- Always purchase the battery pack recommended by the device manufacturer for the equipment.
- Keep battery pack clean and dry.
- Wipe the battery pack terminals with a clean dry cloth if they become dirty.
- Battery pack needs to be charged before use. Always use the correct charger and refer to the manufacturer’s instructions or equipment manual for proper charging instructions.
- Do not leave battery pack on prolonged charge when not in use.
- After extended periods of storage, it may be necessary to charge and discharge the battery pack several times to obtain maximum performance.
- Battery pack gives its best performance when it is operated at normal room temperature (20 °C ± 5 °C).
- When disposing of battery packs, keep battery packs of different electrochemical systems separate from each other.
- Recharge only with the charger specified by Worx. Do not use any charger other than that specifically provided for use with the equipment. A charger that is suitable for one type of battery pack may create a risk of fire when used with another battery pack.
- Retain the original product literature for future reference.
- Use only the battery pack in the application for which it was intended.
- Remove the battery pack from the equipment when not in use.
- Dispose of properly.
Pole hedge trimmer attachment
SYMBOLS

POSITEC Inc. has established a partnership with the RBRC Corporation to recycle any Positec batteries with the RBRC-call2recycle seal. For environmental protection, please do not discard batteries in the trash. After the batteries’ life cycle is ended, then please call 1-800-822-8837 for a free service that will properly dispose of the battery.
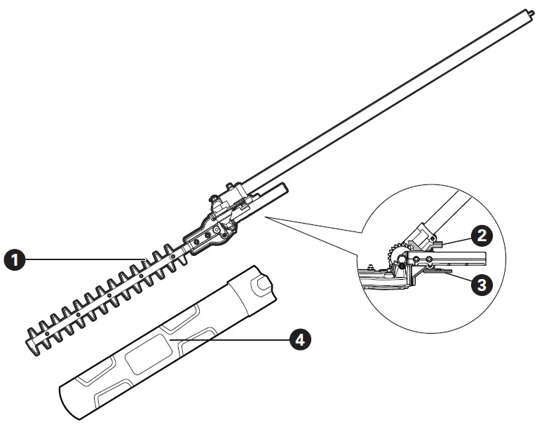
COMPONENT LIST
- BLADE
- ROTATION BUTTON
- RELEASE LEVER
- BLADE SHEATH
Not all the accessories illustrated or described are included in standard delivery.
TECHNICAL DATA
- Cutting diameter: 0.95” (24mm)
- Max. Cutting height: 10’ (3m)
- Blade length: 17” (430mm)
- Trimmer head rotation angle: -90 to 90 degrees (10 positions)
- Machine Weight: 4.52lbs (2.05kg)
Only use the appropriate accessories intended for this tool. Accessory information can be found on the product packaging, at a Worx dealer or on our website at www.worx.com.
HOW TO USE YOUR HEDGE TRIMMER
Before cutting an area, inspect it first and remove any foreign objects that could become thrown or entangled in the blades.
Always hold the trimmer with both hands and with the blade away from you before turning it on. When trimming new growth, use a wide sweeping action so that the stems are fed directly into the blade.
Allow the cutting blades to reach full speed before cutting. When operating, keep the cutting blades away from people and objects such as walls, large stones, trees, vehicles, etc.
If the blade stalls, immediately stop the trimmer. Release the two Switch Levers before attempting to clear jammed debris from the cutting blades. Wear gloves when trimming thorny or prickly growth.
Do not attempt to cut stems that are too thick for the cutting blade.
Top cutting
Use a wide sweeping motion. A slight downward tilt of the cutting blades in the direction of motion gives the best cutting results
Side cutting
When trimming the sides of the hedge, begin at the bottom and cut upwards, tapering the hedge inward at the top. This shape will expose more of the hedge, resulting in a more uniformed growth.
MAINTENANCE
Remove the battery from hedge trimmer before carrying out any adjustment, servicing or maintenance.
There are no user serviceable parts in your power tool. Never use water or chemical cleaners to clean your power tool. Wipe clean with a dry cloth. Always store your power tool in a dry place. Keep the motor ventilation slots clean. Keep all working controls free of dust.




















