JBL® GX-SERIES
car audio speaker
INSTALLATION MANUAL
GX302 GX402



GX502 GX602


GX600C GX642


GX862 GX962/GX963


| SPECIFICATIONS | GX302 | GX402 | GX502 | GX602 | GX642 | GX862 | GX962 | GX963 | GX600C |
| Type | 3-1/2″ (89mm) two-way speaker | 4″ (100mm) two-way speaker | 5-1/4″ (130mm) two-way speaker | 6-1/2” (165 mm) two-way speaker | 4” x 6” (100mm x 152mm) two-way speaker | 5” x 7” / 6” x 8” (143mm x 220mm) two-way speaker | 6” x 9” (152mm x 230mm) two-way speaker | 6” x 9” (152mm x 230mm) three-way speaker | 6-1/2″ (165mm) two-way component system |
| Continuous power handling | 25W | 35W | 45W | 60W | 40W | 60W | 100W | 100W | 70W |
| Peak power handling | 75W | 105W | 135W | 180W | 120W | 180W | 300W | 300W | 210W |
| Frequency response | 90Hz – 20kHz | 75Hz – 21kHz | 65Hz – 21kHz | 50Hz – 21kHz | 75Hz – 21kHz | 50Hz – 21kHz | 45Hz – 21kHz | 45Hz – 21kHz | 50Hz – 21kHz |
| Nominal impedance | 2.3 ohms | 2.3 ohms | 2.3 ohms | 2.3 ohms | 2.3 ohms | 2.3 ohms | 2.3 ohms | 2.3 ohms | 2.3 ohms |
| Sensitivity (2.83V/m) | 89dB | 90dB | 91dB | 92dB | 91dB | 92dB | 94dB | 94dB | 92dB |
| External diameter | 3-9/16″ (89mm) | 4-1/8″ (104mm) | 5-1/8″ (130mm) | 6-1/2″ (165mm) | 4-1/16” x 6-5/16” (102mm x 159mm) | 5-11/16” x 8-11/16” (143mm x 220mm) | 6-1/2” x 9-5/16” (164mm x 235mm) | 6-1/2” x 9-5/16” (164mm x 235mm) | 6-1/4” (158mm) |
| Mounting cutout diameter | 3-1/8″ (79mm) | 3-3/4″ (95mm) | 4-3/4″ (120mm) | 5-1/8″ (129mm) | 3-7/16″ x 5-3/4” (86mm x 145mm) | 5” x 7-5/16” (126mm x 185mm) | 5-15/16” x 8-3/4” (150mm x 221mm) | 5-15/16” x 8-3/4” (150mm x 221mm) | 5-1/8″ (129mm) |
| Total depth | 2″ (49mm) | 2-19/32″ (66mm) | 2-7/8″ (74mm) | 2-7/8″ (72mm) | 2-1/4″ (57mm) | 2-7/8″ (72mm) | 3-7/16” (87mm) | 3-3/8” (85mm) | 2-5/8” (66mm) |
| Mounting depth | 1-7/16″ (36mm) | 1-7/8″ (47mm) | 2-1/4″ (57mm) | 2-1/16″ (52mm) | 1-7/8″ (47mm) | 2-7/16″ (61mm) | 2-7/8” (74mm) | 2-7/8” (74mm) | 2-1/16” (52mm) |
GX302, GX402


GX502, GX962, GX963



GX602


![]()

![]()

GX 862, GX462






![]()

GX600C




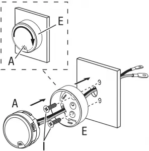
GX302, GX402, GX502, GX602, GX600C
GX642, GX862, GX962, GX963


![]()
HARMAN International Industries, Inc.
8500 Balboa Boulevard, Northridge, CA 91329 USA
© 2014 HARMAN International Industries, Incorporated. All rights reserved.
JBL is a trademark of HARMAN International Industries, Incorporated, registered in the United States and/or other countries.
Features, specifications and appearance are subject to change without notice.




















