
JBL Club 6.5″, 8″, 10″, and 12″
Marine Speaker
Installation Guide

Club 6.5 Inch Marine Speaker
THANK YOU FOR YOUR PURCHASE …
Your JBL product has been designed to provide you with the performance and ease of operation you would expect from JBL.
ABOUT THE MANUAL
This manual describes general installation guidelines. However, please note that proper installation of marine audio components requires qualified experience. If you do not have the knowledge and tools to successfully perform this installation, we strongly recommend consulting an authorized JBL dealer about your installation options. Keep all instructions and sales receipts for reference.
WHAT’S IN THE BOX

DIMENSIONS

Club 8″ speaker

Club 10″ speaker

Club 12″ speaker

SPEAKER SIGNAL WIRING
To send signal to the JBL marine speaker, connect the positive (+) and negative (-) speaker wires to the appropriate speaker outputs of your source unit or amplifier. Be sure to observe proper polarity.

SPEAKER LED WIRING
To provide power for the LEDs, plug the 24-gauge black (+), blue, green, and red LED wires from the speaker into the included female connector, then run the wires from the female connector to your compatible 12-volt power source or light controller (sold separately). If using a separate controller, be sure to connect each wire to the proper output.

If hardwiring the LEDs directly to your power source, you can choose the color of the LEDs by connecting the black wire to the positive (+) terminal, and the appropriate R, G, and/or B single wire or combination of wires to the negative (-) terminal.
There are 7 possible colors, depending on the wiring configuration you choose:
| Wire connected to positive (+12V) terminal | Wire connected to negative (-) terminal | Color produced |
| Black | Red | Red |
| Green | Green | |
| Blue | Blue | |
| Red + Green | Yellow | |
| Red + Blue | Purple | |
| Blue + Green | Aquamarine | |
| Red + Blue + Green | White |
APPLYING FOAM SEAL
To help seal your installation against water, and to provide an airtight acoustic seal, apply the self-adhesive foam seal to the speaker frame.

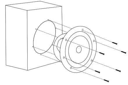
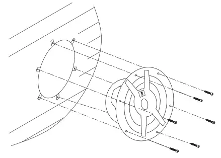
MOUNTING THE SPEAKER
- Use the included screws and drill bit to mount the speaker to the location. Use the included speed clips if necessary to provide a secure mount.
NOTE: It might be necessary to drill new speaker-mounting holes at the mounting location. Use caution when cutting and using screws with fiberglass to prevent scratches and cracks.
- Make sure that the sticker above the tweeter with the arrow and “TOP” printed on it is aligned with the arrow facing upward. This will ensure the speaker terminals are facing downwards to allow water to drain away from them, and that the grille orientation will be correct. Remove the sticker after speaker installation.
ATTACHING THE GRILLE
To attach either the white or grey grille, place it over the speaker at a slight angle and press down. Then twist it clockwise just a few degrees to lock into place. Make sure the JBL logo is at the bottom.

MOUNTING THE CLUB 10″ OR 12″ IN AN ENCLOSURE
The Club 10″ and 12″ subwoofers can be mounted in a free-air application, or in a sealed or ported subwoofer enclosure.

SEALED-BOX VOLUME (INCLUDES DRIVER DISPLACEMENT)

Vbox
| Speaker size | Enclosure Size | Tuning frequency |
| 10″ | Free air | 44.9Hz |
| 0.75 ft3 (21.2L)* | 61.8Hz* | |
| 1.25 ft3 (35.4L) | 55.6Hz | |
| 2.25 ft3 (63.6L) | 51.1Hz | |
| 3 ft3 (8514 | 49.6Hz | |
| 12′ | Free air | 34.3Hz |
| 1.25 ft3 (35.4L) | 56.5Hz | |
| 1.74 ft3 (49.3L)* | 51.2Hz* | |
| 2.25 ft3 (63.6L) | 47.9Hz | |
| 3 ft3 (85W | 44.9Hz |
*Recommended
VENTED-BOX VOLUME (INCLUDES DRIVER DISPLACEMENT)

Vbox
| Speaker size | Enclosure size | Port length | Port diameter | Tuning frequency |
| 10″ | 1.18 ft3 (33.5L)* | 9-7/8″ (250mm)* | 3-1/16″(78mm)* | 34Hz* |
| 1.25 ft3 (35.4L) | 9-7/8″ (250mm) | 3-3/16″ (81mm) | 34Hz | |
| 2.25 ft3 (63.6L) | 11-13/16″ (300mm) | 4-7/8″ (123mm) | 34Hz | |
| 3 ft3 (85L) | 7-7/8″ (200mm) | 5-3/4″ (146mm) | 34Hz |
| Speaker size | Enclosure size | Port length | Port diameter | Tuning frequency |
| 12″ | 1.25 ft3 (35.4L) | 11-13/16″ (300mm) | 2-5/8″ (66mm) | 27.8Hz |
| 2.25 ft3 (63.6L) | 11-13/16″ (300mm) | 3-7/8″ (97mm) | 27.8Hz | |
| 3 ft3 (85L) | 9-7/8″ (250mm) | 4-1/2″ (113mm) | 27.8Hz | |
| 3.12 ft3 (88.5L)* | 9-7/8″ (250mm)* | 4-5/8″ (117mm)* | 27.8Hz* |
TECHNICAL DATA (CLUB 10″ AND 12″ SUBWOOFERS ONLY)
| THIELE-SMALL PARAMETERS | Club 10″ (250mm) | Club 12″ (300mm) | |
| Voice coil DC resistance: | REVC (OHMs) | 3.47 | 3.23 |
| Electrical inductance: | LCES (mH) | 20.34 | 27.98 |
| Driver radiating area: | SD (CM2) | 320.47 | 510.71 |
| Motor force factor: | BL (TM) | 12.505 | 13.051 |
| Compliance Volume: | VAS (Liters) | 18.9086 | 60.6378 |
| Suspension compliance: | CMS (mm/N) | 0.13 | 0.164 |
| Moving mass, air load: | MMS (Grams) | 96.45 | 131.368 |
| Moving mass, without air load: | MMD (Grams) | 89.967 | 118.327 |
| Free-air resonance: | FS (Hz) | 44.9 | 34.3 |
| Mechanical Q: | QMS | 6.983 | 9.373 |
| Electrical Q: | QES | 0.603 | 0.537 |
| Total Q: | QTS | 0.555 | 0.508 |
| SPL, 1W/1m @ 4ohm: | Lm (dB) | 86.57 | 88.6 |
SPECIFICATIONS
| Club 6.5″ | Club 8″ | Club 10″ | Club 12″ | |
| Continuous power handling | 75W | 150W | 300W | 400W |
| Peak power handling | 225W | 450W | 900W | 1200W |
| Frequency response | 50Hz – 20kHz | 30Hz – 20kHz | 25Hz – 500Hz | 25Hz – 500Hz |
| Nominal impedance | 4 Ohm | 4 Ohm | 4 Ohm | 4 Ohm |
| Sensitivity | 92dB | 92dB | 89dB | 89dB |
| External diameter | 178mm (7″) | 225mm (8-7/8″) | 273mm (10-3/4″) | 325mm (12-13/16″) |
| Mounting cutout diameter | 133mm (5-1/4″) | 170mm (6-11/16″) | 221.5mm (8-3/4″) | 280mm (11-1/16″) |
| Total depth | 91mm (3-19/32″) | 112.3mm (4-7/16″) | 169.5mm (6-3/4″) | 198.5mm (7-13/16″) |
| Mounting depth | 65mm (2-9/16″) | 83.7mm (3-5/16″) | 127.5mm (5-1/16″) | 154.5mm (6-1/16″) |
HARMAN International Industries,
Incorporated 8500 Balboa Boulevard,
Northridge, CA 91329 USA
www.jbl.com
© 2022 HARMAN International Industries, Incorporated. All rights reserved.
JBL is a trademark of HARMAN International Industries, Incorporated,
registered in the United States and/or other countries. Features, specifications
and appearance are subject to change without notice.
CA_JBL Club Marine Speakers_OM_Global_SOP_V9.indd 16
6/17/2022




















