ALL-O-MATIC SL-150AC 1-2 Hp Slide Gate Operator
Parts List

| Item No. | Description | Part Number | Quantity |
|---|---|---|---|
| 1 | Frame Only | N/A | 2 |
| 2 | Gear Box | SL-151FM GBX-150 | 1 |
| 3 | Gear Box and Main Drive Sprocket | 40B22X1 | 2 |
| 4 | Gearbox Drive Sprocket Chain | 40NPX20 | 1 |
| 5 | 1/2 HP Dual Cap AC Motor | MTR-1051 | 1 |
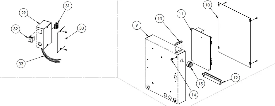
| 6 | 1 HP Dual Cap AC Motor | MTR-1100 | 1 |
| 7 | Dual Cap AC Motor Wire Harness | MTR-H1051 | 1 |
| 8 | Control Box Assembly | CBX-AY151 | 1 |
| 9 | Control Box | CBX-151 | 1 |
| 10 | Control Box Cover | CBC-151 | 1 |
| 11 | Control Box AC Control Board | ACPCB-UL | 1 |
| 12 | Control Box 14 Pin Terminal Strip | COM-1002 | 1 |
| 13 | Control Box Radio Receiver Strip | COM-1003 | 1 |
| 14 | Control Box Reset Push Button | COM-1004 | 1 |
| 15 | Control Box Alarm Buzzer | COM-1005 | 1 |
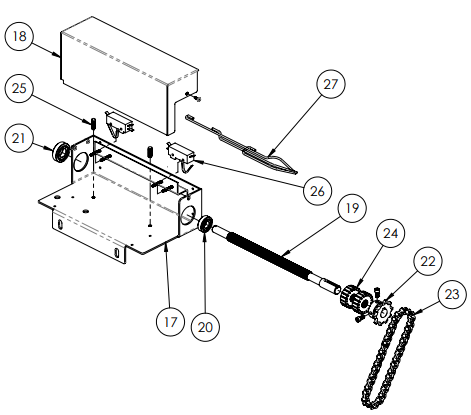
| 16 | Limit Shaft and Switch Box Assembly | LSA-AY151 ZBT-151 | 1 |
| 17 | Z Bracket Limit Switch Box | N/A | 1 |
| 18 | Limit Switch Box Cover | LSC-151 | 1 |
| 19 | Limit Shaft | LST-150 | 1 |
| 20 | Limit Shaft Bearing – 1/2 | BRG-6202A | 1 |
| 21 | Limit Shaft Bearing – 5/8 | BRG-6202B | 1 |
| 22 | Limit Shaft Sprocket – 5/8 | 41B10X5/8 | 2 |
| 23 | Limit Chain | 41NPX13 | 1 |
| 24 | Limit Switch Plastic Nut | COM-1008 | 2 |
| 25 | Limit Switch Springs (2 pcs) | SPG-7575 | 2 |
| 26 | Limit Switch | COM-1007 | 2 |
| 27 | Limit Switch Wire Harness | LSH-151 | 1 |
| 28 | Power Supply Assembly | PSB-AY151 | 1 |
| 29 | Power Supply Box | PSB-151 | 1 |
| 30 | Power Supply Box Cover | PSC-151 | 1 |
| 31 | Power Supply Box On/Off Power Switch | COM-1000 | 1 |
| 32 | Power Supply Box 110 Outlet | COM-1001 | 1 |
| 33 | Power Supply Box Wire Harness | N/A | 1 |
| 34 | Clutch and Drive Assembly | DSA-AY150 | 1 |
| 35 | Main Drive Shaft | DST-150 | 1 |
| 36 | Main Drive Shaft Pillow Block Bearings | BRG-205P | 2 |
| 37 | Main Drive Shaft Dog Clutch | DGC-150 | 1 |
| 38 | Main Drive Shaft Dog Clutch Sprocket | 40B18X1 | 1 |
| 39 | Main Drive Shaft Spring | SPG-150 | 1 |
| 40 | Metal Chain Idler | 41BB17 | 2 |
| 41 | Accessory Shelf Plate | ASP-151 | 1 |
| 42 | Loop Rack | LPR-2 | 1 |
| 43 | Loop Rack Harness 17 | LPR-H151 | 1 |
| 44 | Exterior Plastic Cover | EPC-150 | 1 |
| 45 | Chain Bracket | COM-1009A | 1 |
| 46 | Chain Bolt | COM-1010-1 | 1 |
ASSEMBLY
POWER SUPPLY ASSEMBLY: PSB-AY151

CONTROL BOX ASSEMBLY: CBX-AY151

LIMIT SWITCH AND SHAFT BOX: LSA-AY151

CLUTCH AND DRIVE ASSEMBLY: DSA-AY150

Van Nuys CA, USA 91406
EMAIL: [email protected]
BREAK SHARP EDGES .10-.40 MACHINED SURFACE FINISH IS
1.6 MICROMETERS DO NOT SCALE DRAWING
THE INFORMATION DISCLOSED HEREIN WAS ORIGINATED BY AND IS THE PROPERTY OF ALL-O-MATIC, INC. AND ALL PATENT, PROPRIETARY, DESIGN, USE, SALE, MANUFACTURING, AND REPRODUCTION RIGHTS THERETO ARE RESERVED BY ALL-O-MATIC, INC.


















