HCI Fitness Healthstep Recumbent Linear Stepper

Recumbent Linear Stepper
Product Information
The HealthStep Recumbent Linear Stepper is a high-quality exercise equipment designed and built for optimum safety. It is fully assembled and comes with a 90-day frame warranty, 90-day moving parts warranty, and 1-year non-moving parts warranty.
The maximum weight capacity for the HealthStep is 300 lbs. (136 kgs).
Safety Precautions
Before assembly and operation of this machine, be sure to read the entire manual and note the following safety precautions:
- Read all instructions carefully before using the machine.
- Consult your physician or other health care professional before beginning this or any type of exercise program.
- Always wear proper exercise apparel when using the machine.
- If at any time you feel faint, light-headed, or dizzy while operating the machine, stop immediately.
WARNING: Before beginning any exercise program, consult your physician, especially if you are over the age of 35 or have pre-existing health problems. We assume no responsibility for personal injury or property damage sustained by or through the use of this product.
Product Usage Instructions
Assembly
Before you start to assemble this unit, note that some of the parts and screws needed for assembly are already in place on the unit. Use the tool set provided, which includes a 6 mm L type Allen wrench tool, a 5 mm L type Allen wrench tool, and a 13×15 screwdriver/wrench combo tool. Follow the steps below:
Step 1
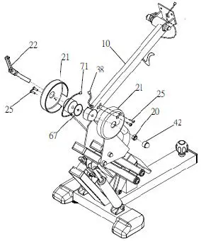
Using the screws that are in place on the Computer Post (10), attach the plastic covers (21). Next, attach the Computer Post (10) to the left side of the main frame by tightening the locking knob (26) into nut (42) to secure in place. Then connect the sensor wire (71) to the upper wire (38). Be sure that the sensor wire is not pinched when moving the computer post.

Step 2
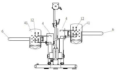
Place the Velcro pedal strap (6) between the metal pedal plate (4) and plastic pedal (41). Secure the plastic pedal (41) to the metal pedal plate (4) using 4 hex bolts as shown below.

Step 3
Connect the Upper Sensor Wire (38) & Display (17). Then attach the Computer to the Display Post Plate (13) using 2 Screws (57).

HealthCare International, Inc. PO Box 1509, Langley, WA 98260
www.HciFitness.com | 206-739-5400 [email protected] | [email protected]
SAFETY PRECAUTIONS
This exercise equipment was designed and built for optimum safety. However, certain precautions apply whenever you operate a piece of exercise equipment. Be sure to read the entire manual before assembly and operation of this machine.
Also, please note the following safety precautions:
- Read all instructions carefully before using the machine.
- Consult your physician or other health care professional before beginning this or any type of exercise program.
- Always wear proper exercise apparel when using the machine.
- If at any time you feel faint, light-headed or dizzy while operating the machine, stop exercise immediately. You should also stop exercising if you are experiencing pain or pressure.
- Keep children and pets away from the machine while in use.
- WARNING: IMPROPER USE OF THE RESISTANCE BANDS MAY CAUSE SERIOUS PHYSICAL INJURY. Use only as directed by your healthcare provider.
- Only one person can use the machine at a time.
- Make sure your machine is correctly assembled before you use it. Be sure all screws, nuts, and bolts are tightened prior to use and retighten periodically.
- Do not operate this or any exercise equipment if it is damaged.
- Keep hands and feet away from any moving parts. Do not insert any objects into any openings.
- Keep clothes, jewelry, or loose items away from moving parts.
NOTE:
MAXIMUM WEIGHT CAPACITY FOR THE HEALTH STEP IS 300 LBS. (136 KGS)
WARNING
BEFORE BEGINNING ANY EXERCISE PROGRAM CONSULT YOUR PHYSICIAN. THIS IS ESPECIALLY IMPORTANT FOR INDIVIDUALS OVER THE AGE OF 35 OR PEOPLE WITH PRE-EXISTING HEALTH PROBLEMS. READ ALL INSTRUCTIONS BEFORE USING THIS FITNESS EQUIPMENT. WE ASSUME NO RESPONSIBILITY FOR PERSONAL INJURY OR PROPERTY DAMAGE SUSTAINED BY OR THROUGH THE USE OF THIS PRODUCT.
Dear Valued Customer,
Thank you for your recent purchase of the fully assembled HealthStep Recumbent Linear Stepper from HCI Fitness. We believe that you have purchased one of the highest qualities and Recumbent Linear Stepper on the market today. We designed the HealthStep Recumbent Linear Stepper to be fun and easy to use for all ages right out of the box! Please review the owner’s manual and product tips to maximize your workout experience.

Wishing you the best of luck in reaching your health and fitness goals! HealthCare International is a leading supplier and distributor of innovative products for Health,
Wellness, Fitness & Active Aging. Visit our website – www.HCIFitness.com for information on all of our products.
Warranty Information
(Your Serial Number is found on a white sticker at the rear base of the unit, the front of the user manual, and on the box)
Serial #:_________________ Purchase Date:_______________
90 Days Frame, 90 Days Moving Parts, 1 Year Non-Moving Parts
NOTE:
Before you start to assemble this unit, please note that some of the parts and screws needed for assembly are already in place on the unit.
Need assistance? Email [email protected] or call 206-739-5400
Tool Set
| Tools | Q’ty |
| 6 mm L type Allen Wrench Tool | 1 |
| 5 mm L type Allen Wrench Tool | 1 |
| 13×15 Screwdriver/Wrench Combo Tool | 1 |
Assembly
Step 1
Using the screws that are in place on the Computer Post (10) attach the plastic covers (21). Next, attach the Computer Post (10) to the left side of the main frame by tightening the locking knob (26) into nut (42) to secure in place.
Then connect the sensor wire (71) to the upper wire (38).
Be sure that the sensor wire is not pinched when moving the computer post.

Step 2
Place the Velcro pedal strap (6) between the metal pedal plate (4) and plastic pedal (41)
Secure the plastic pedal (41) to the metal pedal plate (4) using 4 hex bolts as shown below.

Step 3
Connect the Upper Sensor Wire (38) & Display (17). Then attach the Computer to the Display Post Plate (13) using 2 Screws (57).

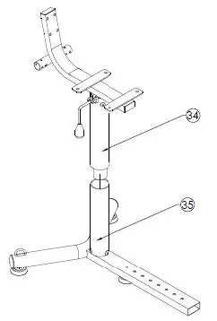
Step 4
Install Seat Inner Tube (35) into Seat Outer Tube (34)

Step 5
Attach the seat cushion (30) to Seat Support by using Hexagonal Bolt (39).
Locking knob (18) allows the swivel seat to be locked in place. Use the seat height adjustment lever to raise the seat up, then insert the locking knob (18) to lock the seat in place.

Step 6
Install the Back Seat (31) to Seat Support by using Hexagonal Bolt (50), Washer (69).

Step 7
Install Seat Handle Left (28) & Right (29) to Seat Support by using Hexagonal Bolt (49), Curved Washer (70) to two holes at the Seat Support first. Then insert Hexagonal Bolt (27) vertically with Curved Washer (40), Nylon Nut (20). Finally hook the resistance bands (66) to the buckle.

Step 8
Loosen the locking knob on the main rail to slide the seat assembly into the front assembly.
Align the seat rail and front assembly, then use the handle between the seat to slide the front assembly into the seat rail.
To adjust the seat length: turn the knob to the left and pull up on the knob to release the locking pin.
While holding the knob in the unlocked position (pull up), slide the seat out to your preferred setting.
Once your seat is in the correct position, you will hear a click and the knob will drop into place. Be sure to lock the seat rail knob by twisting the knob to the right before starting your workout.

You are now ready to start exercising!
Step Length Adjustment
The HealthStep step length can be adjusted from 4” to 9” long.
To extend the length of the stepping motion tighten the knob located between the pedals by turning the knob to the right.
To reduce the length of the stepping motion, loosen the knob located between the pedals by turning the knob to the left.
Keep Hands Clear of Moving Parts
Add image of knob adjustment
Display Console

Setup Workout Programs
Quick Start
- Begin pedaling and the display will start your workout counting upward.
- Press the MODE key to see different workout feedbacks.
- Scan Mode will cycle through all the workout feedbacks.
Exercise for Time:
- Press the MODE key to until the Time Function is indicated.
- Press the SET key to add time to your workout.
- Wait 5 seconds to set your workout time.
- Begin stepping to start the count down.
Press the Reset key to clear the workout time.
Exercise for Number of Steps:
- Press the MODE key to until the Steps Function is indicated.
- Press the SET key to add 100 steps to your workout.
- Wait 5 seconds to set your workout distance.
- Begin stepping to start the count down.
Press the Reset key to clear the workout distance.
Heart Rate Controlled Exercise:
For use with optional heart rate chest strap. Recommended Model HCI Fitness Call now 206-739-5400 or go to www.hcifitness.co and search “heart rate strap”
- Check that the Heart symbol is on the top right of the display.
- Press the MODE key to until Pulse Set is indicated.
- Press the SET key to increase maximum heart rate.
- Wait 5 seconds to set your max heart rate.
- Begin pedaling to start.
- Once the max heart rate is reached, the monitor will beep.
- Reduce speed and resistance to maintain max heart rate
- Press SET key to increase max heart rate.
Press the Reset key to clear the set heart rate workout.
Using Optional Heart Rate Monitors
Chest Strap
In order to ensure the chest strap is working correctly please refer to the manufacturer’s instructions. In general, the chest strap must remain wet to accurately work. Moistening the electrodes is very important. Be sure to fasten the strap correctly below your pectoral muscle.
Change Units:
- Hold the MODE key for 2 seconds.
- Press the SET key to change units. ML = Miles / KM = Kilometers
- Press the MODE key to set the units.
General Maintenance
- Cleaning – Use soap and warm water or grey antibacterial wipes to clean your unit and pedals.
- Tightening – Periodically inspect your unit to ensure that all screws, nuts, and bolts are tightened and retighten if necessary. Do not over tighten.
Resistance Bands Workout Poster

Resistance Bands Safety and Care
SAFETY:
- This product is not intended to replace the advice and direction of your healthcare provider. If you have any medical conditions, be sure to check with your healthcare provider before using this product.
- WARNING: IMPROPER USE OF THE RESISTANCE BANDS MAY CAUSE SERIOUS PHYSICAL INJURY. Use only as directed by your healthcare provider.
- By continuing the use of RESISTANCE BANDS exercises with your RESISTANCE BANDS product, you assume any and all risk. Please follow all instructions listed below to lessen your risk of injury.
- This product is not a toy and should not be used without adult supervision. Do not chew or allow others (including pets) in your household to chew on this product. Consult your physician before allowing children to exercise.
- Always examine RESISTANCE BANDS before use for nicks, small tears, and punctures or for peeling at each seal that may cause the product to break paying close attention to areas where product has been attached, wrapped or secured to an anchoring device. If you find any flaws upon examination, discard the product and replace before performing any exercises.
- Do not use this product in any manner that may cause them to snap towards the head and cause injury to eyes. Always wear suitable eye protection during use.
- Remove rings, watches or other jewelry before using. Beware of long, sharp fingernails or any other objects on the floor or under your shoe that could puncture the product.
- Ensure that the product is securely fitted and/or anchored to accessories, and around the feet when applicable, during use. When holding inside the loop, always hold the seal versus the center of the loop for optimal safety.
- Be sure to use this product in an area free from obstructions that could cause an entanglement that could result in serious injury.
- Do not stretch product more than 2 times its resting length. This includes each loop individually and/or combined. Over-elongating the product could result in serious injury.
- Do not use this product as a suspension device or while performing body weight training exercises that rely on the product to hold your body weight suspended in the air, these are not intended uses and could result in serious injury.
CARE:
- Store product in a box or hang in dark area. DO NOT expose to direct sunlight or direct heat.
- Remove rings, watches or other jewelry before using. Beware of long, sharp fingernails or any other objects on the floor or under your shoe that could puncture the product.
- Clean with mild soap and water, dry flat.
Exploded Diagram

Parts List
| NO. | Description | Q’ty | NO. | Description | Q’ty |
| 1 | Front Frame | 1 | 38 | Upper Sensor Wire 600mm | 1 |
| 2 | Bushing | 8 | 39 | Hexagonal Bolt M8x15L | 4 |
| 3 | Pedal Plate-R | 1 | 40 | Curved Washer | 10 |
| 4 | Pedal Plate-L | 1 | 41 | Pedal | 2 |
| 5 | Cylinder | 2 | 42 | Nut Cover | 11 |
| 6 | Pedal Strap | 2 | 43 | Foot Pad | 1 |
| 7 | Lower Pedal Arm-R | 1 | 44 | Hexagonal Bolt M8x110L | 4 |
| 8 | Lower Pedal Arm-L | 1 | 45 | Washer | 4 |
| 9 | Upper Pedal Arm | 2 | 46 | Nut M8 | 1 |
| 10 | Computer Post | 1 | 47 | Allen Key Bolt M8x30L | 2 |
| 11 | Plastic Cover | 5 | 48 | Plastic Cover | 2 |
| 12 | Hexagonal Bolt M6x25L | 8 | 49 | Hexagonal Bolt M6x15L | 5 |
| 13 | Computer Post Fixed Plate | 1 | 50 | Hexagonal Bolt 1/4″-20×1 3/4″ | 4 |
| 14 | Belt Pulley Fixed Plate | 1 | 51 | Screw M8x40L | 1 |
| 15 | Knob | 1 | 52 | Non-Slip footpad | 1 |
| 16 | Pulley | 1 | 53 | Magnet | 1 |
| 17 | Computer | 1 | 54 | Washer | 4 |
| 18 | Knob | 2 | 55 | Hexagonal Bolt M8x45L | 2 |
| 19 | Plastic Cover | 1 | 56 | Bushing | 8 |
| 20 | Nylon Nut M8 | 11 | 57 | Spring Washer | 2 |
| 21 | Post Cover | 2 | 58 | “+” Screw M5x12L | 2 |
| 22 | Lever M8x55L | 1 | 59 | Plastic Cover | 2 |
| 23 | Plastic Cover | 1 | 60 | Handle Sponge | 2 |
| 24 | Plastic Cover | 1 | 61 | Hexagonal Bolt M5x30L | 1 |
| 25 | “+” Screw (M4x15L) | 4 | 62 | Nylon Nut M5 | 1 |
| 26 | Lever M8x80L | 1 | 63 | Cylinder Middle Tube | 1 |
| 27 | Hexagonal Bolt M8x40L | 4 | 64 | “+” Screw M5x15L | 2 |
| 28 | Seat Handle-L | 1 | 65 | Hexagonal Bolt M6xP1.0x10L | 1 |
| 29 | Seat Handle-R | 1 | 66 | Latex Tube | 1 |
| 30 | Saddle | 1 | 67 | Washer | 1 |
| 31 | Back Seat | 1 | 68 | Adjustable Knob | 3 |
| 32 | Seat Support | 1 | 69 | Washer | 12 |
| 33 | Rear Frame | 1 | 70 | Curved Washer | 4 |
| 34 | Seat Outer Tube | 1 | 71 | Sensor + Wire 670mm | 1 |
| 35 | Seat Inner Tube | 1 | 72 | Bottle holder | 1 |
| 36 | Dipping Handle | 1 | 73 | Hexagonal Bolt M8xP1.25x25L | 4 |
| 37 | Plastic Cover | 2 | 74 | Washer | 2 |


















