
Model:
GALS24M1KG – Hammered Granite 2 FT x 4 FT
GALS24M1KW – Hammered White 2 FT x 4 FT
GALS28M2KG – Hammered Granite 2 FT x 8 FT
GALS28M2KW – Hammered White 2 FT x 8 FT
GALS44M2KG – Hammered Granite 4 FT x 4 FT
GALS44M2KW – Hammered White 4 FT x 4 FT
OVERHEAD GEARLOFT™ STORAGE RACK
Assembly Instructions
OVERHEAD GEARLOFT™ STORAGE RACK SAFETY
Your safety and the safety of others are very important.
We have provided many important safety messages in this manual and on your appliance. Always read and obey all safety messages.
This is the safety alert symbol.
This symbol alerts you to potential hazards that can kill or hurt you and others.
All safety messages will follow the safety alert symbol and either the word “DANGER” or “WARNING.” These words mean:
You can be killed or seriously injured if you don’t immediately follow instructions.
You can be killed or seriously injured if you don’t follow instructions.
All safety messages will tell you what the potential hazard is, tell you how to reduce the chance of injury, and tell you what can happen if the instructions are not followed.
DIMENSIONS


| MODEL | GALS24M1KG GALS24M1KW | GALS28M2KG GALS28M2KW | GALS44M2KG GALS44M2KW |
| A | 24″ (61 cm) | 24″ (61 cm) | 48″ (122 cm) |
| B | 48″ (122 cm) | 96″ (244 cm) | 48″ (122 cm) |
| C | 23″ (58.4 cm) min. and 37.8″ (96 cm) max. | 23″ (58.4 cm) min. and 37.8″ (96 cm) max. | 23″ (58.4 cm) min. and 37.8″ (96 cm) max. |
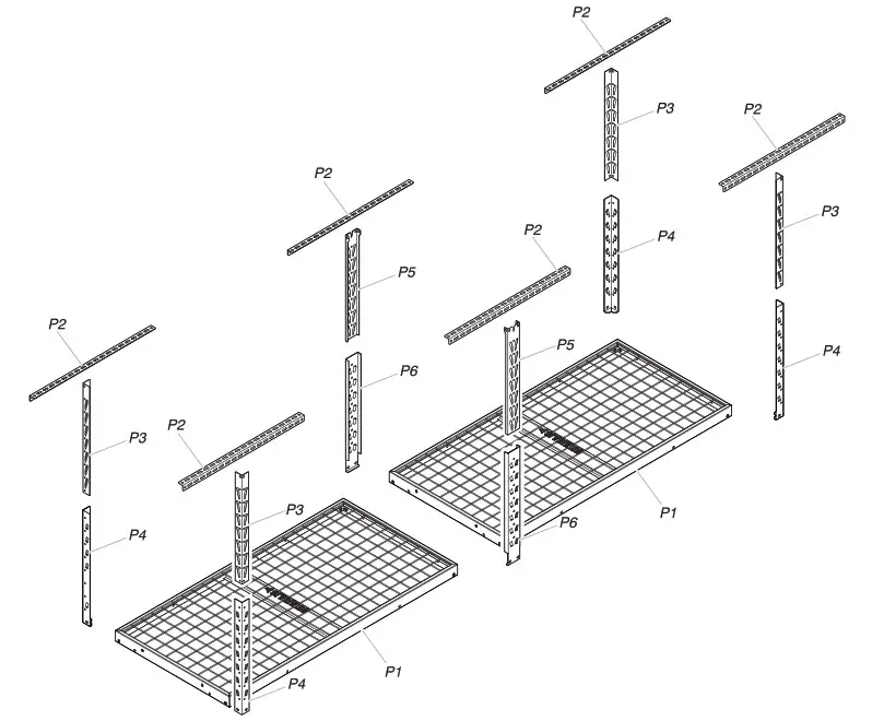
PARTS
2 FT x 4 FT
GALS24M1KG
GALS24M1KW


| Label | Description | Quantity |
| P1 | 2′ x 4′ rack section | 1 |
| P2 | Ceiling bracket | 4 |
| P3 | Vertical corner support – upper | 4 |
| P4 | Vertical corner support – lower | 4 |
| F1 | M8 – 1.25 x 12 socket-head cap screw | 12 |
| F2 | 5/16″ x 3″ lag bolt | 8 |
| F4 | M8 – 1.25 rectangular nut | 4 |
| F5 | EZ Connect locking pin | 4 |
PARTS – 2 FT x 8 FT
GALS28M2KG
GALS28M2KW


| Label | Description | Quantity |
| P1 | 2′ x 4′ rack section | 2 |
| P2 | Ceiling bracket | 6 |
| P3 | Vertical corner support – upper | 4 |
| P4 | Vertical corner support – lower | 4 |
| P5 | Vertical center support – upper | 2 |
| P6 | Vertical center support – lower | 2 |
| F1 | M8 – 1.25 x 12 socket-head cap screw | 22 |
| F2 | 5/16″ x 3″ lag bolt | 12 |
| F3 | M8 – 1.25 x 75 socket-head cap screw | 2 |
| F4 | M8 – 1.25 rectangular nut | 10 |
| F5 | EZ Connect locking pin | 6 |
| F6 | Spacer | 4 |
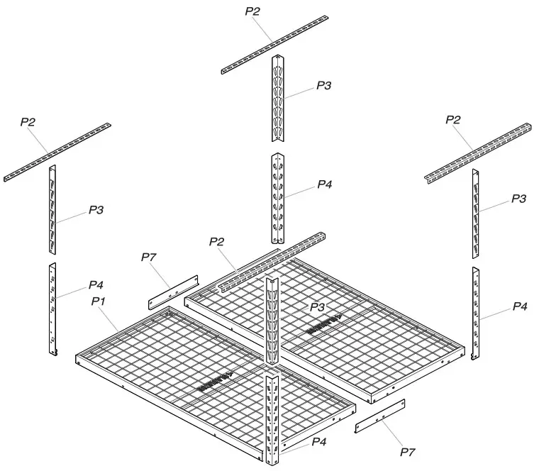
PARTS – 4 FT x 4 FT
GALS44M2KG
GALS44M2KW


| Label | Description | Quantity |
| P1 | 2′ x 4′ rack section | 2 |
| P2 | Ceiling bracket | 4 |
| P3 | Vertical corner support – upper | 4 |
| P4 | Vertical corner support – lower | 4 |
| P7 | Rack connection bracket | 2 |
| F1 | M8 – 1.25 x 12 socket-head cap screw | 22 |
| F2 | 5/16″ x 3″ lag bolt | 8 |
| F4 | M8 – 1.25 rectangular nut | 6 |
| F5 | EZ Connect locking pin | 4 |
ASSEMBLY INSTRUCTIONS
Unpack the Overhead GearLoft™ Storage Rack
- Unpack the rack sections, support sections, ceiling brackets and all hardware. Verify contents. See “Parts.”
- Dispose of all packaging materials properly.
Tools and Parts
- Install Overhead GearLoft TM Storage Rack according to manufacturer’s instructions and any local codes.
- Only use provided fasteners. Do not use an alternate form of mounting. Do not alter or modify any components included with this product.
- Gather the required tools and parts before starting assembly.
- Read entire manual before starting assembly.
![]()
Excessive Weight Hazard
Use two or more people to move storage rack.
Failure to do so can result in back or other injury.
Tools Needed
- Electric drill
- Drill bit (3/16″) – included
- 1/2″ socket wrench and/or 1/2″ open end wrench
- 6 mm hex wrench – included
- Stud finder (If ceiling has drywall covering joists/rafters)
- Tape measure
- Step stool or step ladder
- Pencil / Marker
- Masking tape
Overhead GearLoft™ Storage Rack Use Requirements
- Intended for garage use, installed into a wood framed/traditional wood structure type dwelling.
- To be used for storing lightweight items overhead and out of the way.
- Recommended to be positioned 80″ minimum above floor (standard door opening height).
- Check for clearance of all doors, vehicles, or any items to be positioned under the storage rack.
- The maximum weight of all items combined on the rack not to exceed:
2 ft x 4 ft – 350 lbs.
2 ft x 8 ft – 350 lbs.
4 ft x 4 ft – 350 lbs.
Assembling the Rack
- Determine the ceiling bracket locations

The storage rack ceiling brackets can be positioned parallel or perpendicular to the wood ceiling joists/rafters. Determine the application required for your desired installation. If drywall covers the joists, use a stud finder to determine the joist/rafter locations and mark with masking tape. For applications requiring installation of the brackets perpendicular to the joists/rafters, the maximum distance between them is 24″. The brackets included allow for a 24″ maximum span. See figure for typical ceiling layouts. Mark the location of the ceiling brackets on the joists/rafters or drywall, making sure the vertical supports can be positioned between the lag bolts used to attach the brackets. Position the center of the brackets on a 24″/48″ grid as required. - Attach the ceiling brackets
Using the provided drill bit (3/16″), drill all pilot holes in the center of the joists/rafters. Two lag bolts must be used on each bracket, one on each side of the vertical support. Mount the ceiling brackets (P2) using 5/16″ x 3″ lag bolts (F2) (8 or 12). - Connect the racks (4′ x 4′, 2′ x 8′)
Lay two rack sections upside down on the floor. Assemble the rack sections (P1) together using M8 – 1.25 x 12 socket-head cap screws (F1) (2) and M8 – 1.25 Rectangular nuts (F4) (2). - Attach the rack brackets (4′ x 4′)
Attach the rack connection brackets (P7) to both sides of the two bolted-together rack sections using M8 – 1.25 x 12 socket-head cap screws (F1) (8). - Attach lower corner supports
Attach the four lower corner supports (P4) to the rack corners using M8 – 1.25 x 12 socket-head cap screws (F1) (8). - Attach lower center supports (2′ x 8′)
Attach the two lower center supports (P6) to the rack assembly using M8 – 1.25 x 12 socket-head cap screws (F1) (4). - Attach upper corner supports

Attach the upper corner support (P3) to the ceiling brackets using M8 – 1.25 x 12 (F1) (4) and M8 – 1.25 rectangular nuts (F4) (4).
Make sure they are positioned on the 24″/48″ layout as required. - Attach upper center supports (2′ x 8′)

Attach the upper center supports (P5) to the ceiling brackets using one of the methods detailed above, depending on ceiling bracket mounting approach.
Parallel Mounting
Attach supports using M8 – 1.25 x 12 socket-head cap screws (F1) (2) and M8 – 1.25 rectangular nuts (F4) (2) on each upper center support.
Perpendicular Mounting
Attach supports using M8 – 1.25 x 75 socket-head cap screws (F3), M8 – 1.25 rectangular nuts (F4) and spacer (F6) (2) on each upper center support. Verify that all of the upper supports are properly spaced. They should be on a 24″/48″ pattern as shown in the figure.
Installing the Overhead GearLoft™ Storage Rack
![]()
Excessive Weight Hazard
Use two or more people to move storage rack.
Failure to do so can result in back or other injury.
- Attach the EZ Connect supports
Using two or more people, the rack system can be easily lifted and positioned overhead. The EZ Connect feature allows for positioning 23″ to 37.8″ from the ceiling. Lift the rack into place and connect the lower supports to the upper supports. Make sure the rack supports are facing the same way and the rack is level. - Complete the assembly
Make sure all bolts and screws are tight. Once the rack is in the desired location below the ceiling, place an EZ Connect locking pin (F5) in a hole on each of the corner and center supports to lock/retain them together. The pins go through both upper and lower supports.
NOTE: The rack system can be repositioned up or down by removing all locking pins and relocating the EZ Connect position on the supports. Use two or more people to relocate the rack and replace the EZ Connect locking pins (F5).
Storage Rack Care
- Wash storage rack with a mild liquid detergent and warm water using a soft, clean cloth.
- Check fastener tightness annually.
Registering Your Product
There are many benefits of registering your product. Find out more and register your product online at www.gladiatorgarageworks.com. In the USA, call 1-866-342-4089. Consumers in Canada can call 1-800-807-6777.
WARRANTY
For warranty information:
In U.S.A. call 1-866-342-4089 or visit our website at www.GladiatorGW.com
In Canada call 1-800-807-6777 or visit our website at www.gladiatorgarageworks.ca
There are many benefits for registering the product. Find out more and register the product online at www.gladiatorgarageworks.com.
W11406167B
In U.S.A. call: 1-866-342-4089 | In Canada call: 1-800-807-6777 Au Canada, composez le : 1 800 807-6777 En Canadá, llame al: 1-800-807-6777 |













