TOURATECH 01-053-0010-0 Tail Rack Bag

We recommend having the accessory parts fitted by a specialist workshop.
- Caution
- Note
- Warning
- Liquid
- Torque
- Template
- 2 Persons

- These instructions are written on our current state of Information is provided without any guarantee as to its Subject to technical ions.
- The order Of assembly Steps must be followed.
- Touratech accepts no liability for incorrectly fitted parts and resulting material damage Or personal injury!
- please Observe applicable road vehicle (construction and use) regulations as as EC/ECE Directives and applicable laws in your country. If parts are fitted which require inspection and/or approval after fitting, take your vehicle to a testing Station immediately and have the vehicle papers
- Check and if necessary tighten all bolted Connections after SO km. Standard tightening torques in Nm for bolted connections With Strength Class 8.8. For spial tightening torques refer to your workshop! Please take into account that fitting panniers, Crash bars, peg lowering kits (rider and enlargmentplate, front spoilers and engine guards may restrict the bike% lean angle!
- If modifications are made to the fairing, Stem, handlebar, fairing parts, etc., ensure that electrical Wiring, brake lines, accelerator and Clutch cables are correct. Check clearance, sides with full stering .
- Always disconnect the battery When working on the electrics!
- We recommend Cutting protective film to Size and applying it to impact areas that are be chipped by Stones. Work on the brake System and suspension Should always be out by a spec ia list works hop.
- The maximum on luggage racks is 5 kg! Luggage racks Zegapro TC is 10 kg! If other original accessories or aftermarket accessories are used, ensure Clearance, and fitment and do not Come into Contact With Other parts!
- Apply conventional lubricant to stainless bolts prior to assembly
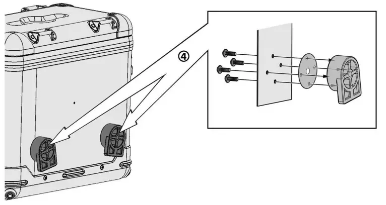
Mounting instructions





January, 2023 by: Touratech GmbH, Germany














