56001HP, 60001HP, 56007HP Industrial Ceiling Fans

Industrial Ceiling Fans – Assembly Instructions & Parts Manual
The Marley Engineered Products Ceiling Fans are designed for dual-purpose use. They can minimize temperature stratification in winter, reducing heating costs in high bay buildings. Their summertime application provides gentle downward movement of air for general air circulation and evaporative cooling. The fans are equipped with a permanent split capacitor motor and permanently lubricated ball bearings, adding to their efficiency and quietness.
Specifications
| Model Number | Blade Sweep | Color | Voltage | Max Hz | Max RPM | Max Amps | Wt Watts (Lbs) |
|---|---|---|---|---|---|---|---|
| 56001HP | 56 | White | 120 | 50/60 | 179 | 0.83 | 64 (24) |
| 56001HP-BRN | 56 | Brown | 120 | 50/60 | 179 | 0.83 | 64 (24) |
| 60001HP | 60 | White | 120 | 50/60 | 186 | 1.01 | 70 (30) |
| 60001HP-BRN | 60 | Brown | 120 | 50/60 | 186 | 1.01 | 70 (30) |
| 56007HP | 56 | White | 277 | 50/60 | 199 | 0.48 | 105 (24) |
IMPORTANT: Ceiling fans should be installed by a qualified installer. Read instructions carefully before attempting to assemble or service the Marley Engineered Products Ceiling Fan. Failure to comply with instructions could result in personal injury and/or property damage. Retain for future reference.
Recommended Mounting Heights
The fan blades should not be mounted lower than 10 feet above the floor. Make sure hanger hooks are mounted securely to structural ceiling members. Do not mount in an area that will allow the fan to get wet. When mounted in cathedral ceilings, the blade tip should be at least 12 inches from the angled roof line to prevent air blowback causing possible fan sway.
Important Safety Instructions
- Read and follow instructions carefully. Failure to comply with instructions could result in the risk of fire, shock, and injury to persons.
- Disconnect power before installing or servicing this equipment.
- Do not use in an explosive atmosphere.
- To reduce the risk of personal injury, do not bend the blade brackets when installing the brackets or cleaning the fan. Do not insert foreign objects in between rotating fan blades.
- Fan blades should not be mounted lower than 10 feet above the floor.
- To reduce the risk of personal injury, install the primary mounting directly from building structure and use only the hardware provided with the fan.
- All electrical wiring should be done by a qualified electrician in accordance with applicable National Electrical Code and local electrical codes.
- Do not allow moving blades to come in contact with any part of the body.
Installation Instructions
Remove fan components from carton carefully. Check for shipping damage. Check for missing parts against parts list. This fan includes a secondary support safety cable feature that complies with existing C.S.A. (Canadian Standards Association) requirements and all other proposed safety regulations for overhead air movement equipment. To ensure proper installation of this important safet feature, please read and follow these instructions carefully.
SPECIFICATIONS
| MODEL NUMBER | BLADE SWEEP | COLOR | VOLTAGE | MAX HZ | MAX RPM | MAX AMPS | WATTS | WT (LBS) |
| 56001HP 56001HP-BRN | 56″ 56″ | White Brown | 120 120 | 50/60 50/60 | 179 179 | 0.83 0.83 | 64 64 | 24 24 |
| 60001HP 60001HP-BRN | 60″ 60″ | White Brown | 120 120 | 50/60 50/60 | 186 186 | 1.01 1.01 | 70 70 | 30 30 |
| 56007HP | 56″ | White | 277 | 50/60 | 199 | 0.48 | 105 | 24 |
READ INSTRUCTIONS CAREFULLY BEFORE ATTEMPTING TO ASSEMBLE OR SERVICE THE MARLEY ENGINEERED PRODUCTS CEILING FAN. FAILURE TO COMPLY WITH INSTRUCTIONS COULD RESULT IN PERSONAL INJURY AND/OR PROPERTY DAMAGE.
RETAIN FOR FUTURE REFERENCE.
IMPORTANT SAFETY INSTRUCTIONS
- CAUTION: Read and follow instructions carefully Failure to comply with instructions could result in the risk of fire, shock, and injury to persons.
- WARNING: Disconnect power before installing or servicing this equipment.
- WARNING: Do not use in an explosive atmoshere.
- WARNING: To reduce the risk of personal injury do not bend the blade brackets when installing the brackets or cleaning the fan. Do not insert foreign objects in between rotating fan blades.
- CAUTION: Fan blades should not be mounted lower than 10 feet above the floor.
- CAUTION: To reduce the risk of personal injury, install the primary mounting directly from building structure and use only the hardware provided with the fan.
- All electrical wiring should be done by a qualified electrician in accordance with applicable National Electrical Code and local electrical codes.
- Do not allow moving blades to come in contact with any part of the body.
- Mount fan so that fan blades are 10 feet or higher from floor.
- Make sure hanger hooks are mounted securely to structural ceiling members.
- Do not mount in an area which will allow the fan to get wet.
- When mounted in cathedral ceilings, the blade tip should be at least 12 inches from the angled roof line to prevent air “blow back” causing possible fan sway.
Description
Unpacking
- Remove fan components from carton carefully.
- Check for shipping damage.
- Check for missing parts against parts list.
RECOMMENDED MOUNTING HEIGHTS
For heat reclamation, this fan should be mounted on the standard 2’ downrod included. On installations through drop ceilings, note the diameter of the downrod hole in the ceiling should be 21/2”.
INSTALLATION INSTRUCTIONS
This fan includes a “secondary support” safety cable fea-ture that complies with existing C.S.A. (Canadian Standards Association) requirements and all other proposed safety regulations for overhead air movement equipment. To insure proper installation of this important safety feature, please read and follow these instructions carefully.
- Carefully unwrap the coiled safety cable and motor lead wires.
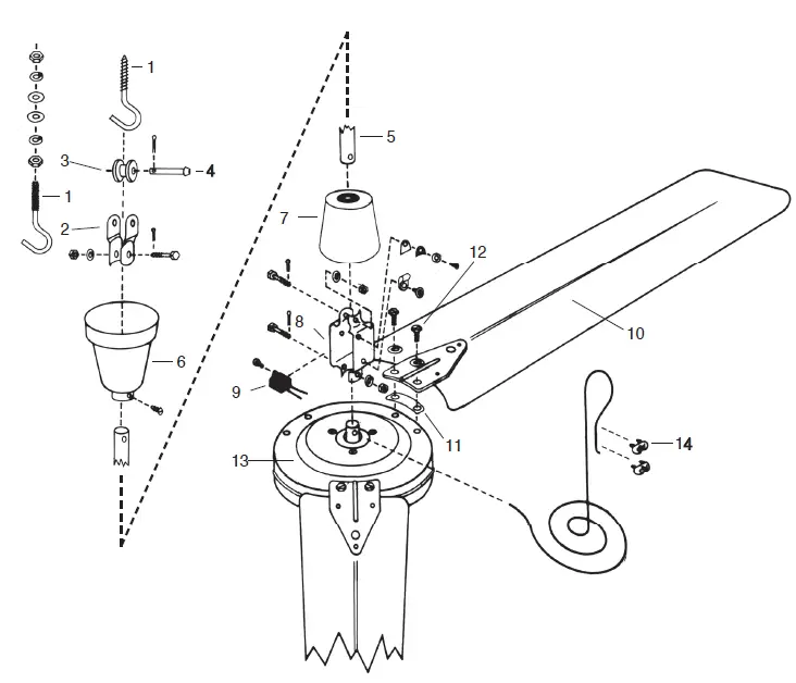
- At the motor yoke assembly (A), remove the cotter pin and loosen the hexagon nut. Carefully remove spring washer and the hexagon screw (E). (See Figure 1)
- Slide the upper canopy cover (B) (bell shaped) up the rod. Slide the lower canopy cover (C) up to rod.
- Feed the three wires and the safety cable through the center hole in the steel yoke connecting piece above the motor (A) and then continue feeding wires and cable through the downrod until the wires and cable come out at the upper shackle end (D).
- Mount the downrod to the yoke (A) and replace the hexagon screw. Secure the spring washer hexagon nut and spread the coffer pin.
NOTICE: The safety cable should be taped to one side of the yoke with electrical tape to prevent the cable from resting on top of motor during running operation.
(See Figure 2) - Slide the lower canopy (C) to be a 1/4” minimum height above the motor.
CAUTION: Do not allow the permanently installed lower canopy to touch the revolving motor as damage will occur. Make sure all wires are securely placed to avoid rubbing against the motor. - Attach the three blades, curved side down to the motor with the insulation pad mounted between the blade and the motor. Make sure blade holder is flat against motor platform when tightening blade nuts for secure fit.
CAUTION: Blades must be fastened to the motor as shown in Figure 1. DO NOT reverse blades when installing.
NOTE: Blades are weight balanced per set. DO NOT mix on multiple fan installations.
NOTE: Do not bend fan blade brackets.
WARNING: DISCONNECT CIRCUIT POWER BEFORE MAKING ANY ELECTRICAL CONNECTIONS. - Before attaching the appropriate “J” hook to the building structure member note the following:
IMPORTANT. WHEN MOUNTING THIS FAN, THE SUPPORT BEAM MUST BE SUITABLE FOR A 50 POUND LOAD LIMIT.
CAUTION: If pilot hole is used with the wood thread hook, the pilot hole should be drilled no larger than the minor diameter of the screw threads on the hook. Do not put lubricant on the “J” hook. At least 1-1/2″ of the screw threads should be secured into the structural wood joist. When the threaded bolt hook is used, be careful to secure tightly with supplied lockwashers and nuts. Attach the hook as instructed and hang the fan.
CAUTION:Make sure that blades are attached as shown. - This fan is equipped with the required “secondary support” cable. This cable must be affixed to the beam structures and securely clamped in such a manner to support the weight of the fan in the event the mounting hook or other parts fail. After wrapping cable around a structural member that will support 300 lbs., secure cable with supplied cable clamps as illustrated in Figure 3. (Note: Any additional materials needed for specific installations may be purchased from your local distributor.)
NOTICE: Leave approximately 3” but no more than 5” of slack on this safety cable to allow for possible fan movement. Do not exceed more than 5” total slack.
IMPORTANT CAUTION: The safety cable must not be placed between the rubber roller and hook but as illustrated in Figure 3. - When hanging fan on factory supplied “J” hook, make sure cable at top of rod is positioned behind “J” hook as illustrated in Figure 3.
IMPORTANT NOTICE: It is important to note proper installation position of the cable clamps as illustrated in Figure 4. To obtain maximum holding power, install U-bolt section of clip on dead or short end of cable and saddle on long end of cable. Improper installation reduces the efficiency of the connection by as much as 40 percent.
- MINIMUM SPEED ADJUSTMENT
- Motor must be in actual operating condition to achieve proper speed adjustment. (Motor will not slow down unless blades are attached.)
- Turn main control knob clockwise to lowest speed position.
- Locate and adjust minimum speed setting on front plate with screwdriver (rotate clockwise to decrease minimum speed, counter-clockwise to increase minimum speed so that motor runs sufficient torque to prevent stalling. If fan stops on its own the minimum setting is too low).
- Motor will now operate from this present minimum speed to full speed.
- Slide the upper canopy (B) up the rod to within 1/4” of the ceiling or beam and securely tighten the set screw (F).
- If a remote speed control or reverse switch is to be used refer to the Instruction Manual included with that controller for proper installation and wiring. Refer to Figures 5 and 6 for proper installation and wiring.

- Restore power.
- After completing installation, test run fan in normal operating manner. Inspect for any possible shake or wobble which may be caused by binding as a result of “tight cable”. If this should happen, shut off power supply and re-check instructions to correct problem.
NOTE: When any solid state motor speed control is used, a hummingnise will be present in the fan on low speed. This hum in no way affects the operation of the fan and is acceptable in most industrial applications.
SAFETY WARNING – PLEASE READ CAREFULLY
A qualified electrician in accordance with the national electric code and other local codes, which may apply, should install control. This control must be grounded when installed. Failure to follow these instructions may result in electrical shock or a fire hazard. To reduce the risk of fire or electrical shock this control must not be used at ratings exceeding those clearly marked on the device.
USER SERVICING INSTRUCTIONS
WARNING: THIS FAN HAS AN INTERNAL SELF-RE-SETTING THERMAL OVERLOAD PROTECTOR. ALWAYS DISCONNECT FROM POWER SUPPLY BEFORE SERVICING.
LUBRICATION
All bearings are permanently lubricated and do not require further lubrication.
CLEANING
This fan may be wiped off with a damp cloth. Do not allow the motor to get wet. Do not use solvents or harsh detergent.
CAUTION: Before servicing or cleaning unit, switch power off at service panel and lock service disconnecting means to prevent power from being switched on accidently. When the service disconnecting means cannot be locked, securely fasten a prominent warning device, such as a tag, to the service panel.


LIMITED WARRANTY
All products manufactured by Marley Engineered Products are warranted against defects in workmanship and materials for one year from date of installation, except the motor which is warranted against defects in workmanship and materials for three years from date of installation. This warranty does not apply to damage from accident, misuse, or alteration; nor where the connected voltage is more than 5% above the nameplate voltage; nor to equipment improperly installed or wired or maintained in violation of the product’s installation instructions. All claims for warranty work must be accompanied by proof of the date of installation.
The customer shall be responsible for all costs incurred in the removal or reinstallation of products, including labor costs, and shipping costs incurred to return products. Within the limitations of this warranty, inoperative units should be returned to Marley Engineered Products, and we will repair or replace, at our option, at no charge to you with return freight paid by Marley. It is agreed that such repair or replacement is the exclusive remedy available from Marley Engineered Products.
THE ABOVE WARRANTIES ARE IN LIEU OF ALL OTHER WARRANTIES EXPRESSED OR IMPLIED, AND ALL IMPLIED WARRANTIES OF MERCHANTABILITY AND FITNESS FOR A PARTICULAR PURPOSE WHICH EXCEED THE AFORESAID EXPRESSED WARRANTIES ARE HEREBY DISCLAIMED AND EXCLUDED FROM THIS AGREEMENT. MARLEY ENGINEERED PRODUCTS SHALL NOT BE LIABLE FOR CONSEQUENTIAL DAMAGES ARISING WITH RESPECT TO THE PRODUCT, WHETHER BASED UPON NEGLIGENCE, TORT, STRICT LIABILITY, OR CONTRACT.
Some states do not allow the exclusion or limitation of incidental or consequential damages, so the above exclusion or limitation may not apply to you. This warranty gives you specific legal rights, and you may also have other rights which vary from state to state.
Contact Marley Engineered Products in Bennettsville, SC, at 1-800-642-4328. Merchandise returned to the factory must be accompanied by a return authorization and service identification tag, both available from Marley Engineered Products. When requesting return authorization, include all catalog numbers shown on the products.
HOW TO OBTAIN WARRANTY SERVICE AND WARRANTY PARTS PLUS GENERAL INFORMATION
- Warranty Service or Parts 1-800-642-4328
- Purchase Replacement Parts 1-800-654-3545
- General Product Information www.marleymep.com
Note: When obtaining service always have the following:
- Model number of the product
- Date of manufacture
- Part number or description
470 Beauty Spot Rd. East
Bennettsville, SC 29512 USA


CAUTION:Make sure that blades are attached as shown.
IMPORTANT NOTICE: It is important to note proper installation position of the cable clamps as illustrated in Figure 4. To obtain maximum holding power, install U-bolt section of clip on dead or short end of cable and saddle on long end of cable. Improper installation reduces the efficiency of the connection by as much as 40 percent.



















