Smart Locks S350BBL Touch Screen Digital Keypad Smart Door Lock

Note:
- Before using this lock, please pair it to the mobile phone App .
- This lock is equipped with mechanical keys for manual unlocking. Remove mechanical keys from the package and keep them in a safe place and always have access to them.
- To power on the lock, four alkaline AA batteries(not included) are required. Non-alka-line and rechargeable batteries ARE NOT RECOMMENDED.
- This lock is used outdoors and indoors, it is designed to be exposed to direct sunlight or rain. The waterproof rating: IP45.
- The operation of setting lock has a stand-by time limit of 20 seconds; Without any activity, lock will shut after 20 seconds.
Please read this manual before operating your Smart Lock, and keep it for further reference.
Door Preparation
- Check door thickness and Door Frame.Door Preparation
- Door frame≧110mm
- Door thickness: 38-48mm
- Check door open direction.

Installation Template
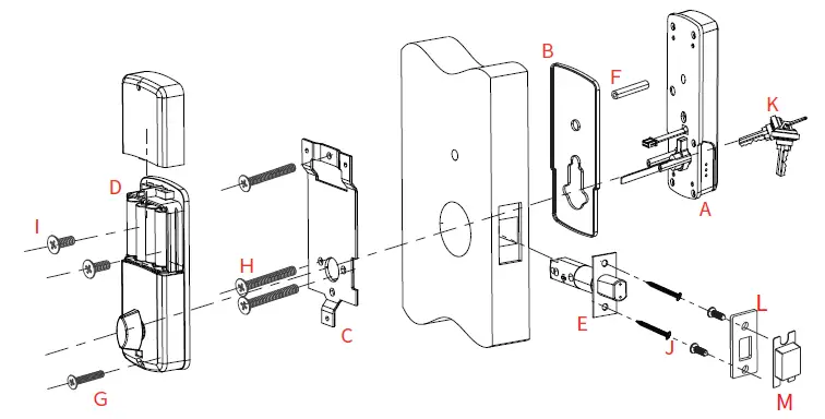
Packing List
Installation Diagram
- A Outdoor lock body * 1
- B Silicon gasket * 1
- C Mounting plate * 1
- D Indoor lock body * 1
- E Deadbolt * 1
- F Cylindrical sleeve bolt * 1
- G M4 x 25mm cross flat head bolt *1
- H M4 x 30mm cross flat head bolt * 3
- I M4 x 10mm cross flat head bolt * 2
- J M4 x 25mm cross flat head self-tapping screw * 2
- K Mechanical key * 2
- L Strike plate * 1
- M Latch holding plastic box * 1
Installation Instructions
- Check the required backset (60mm or 70mm).
- Align the template along the vertical center line of the deadbolt(E) at the desired height,and tape it to the door.
- Mark the holes first, then start drilling.

Install the deadbolt (E) with screws (J) on the door.
Note:
- The deadbolt has TWO backset options: 70mm or 60mm, please adjust it by yourself.
- DO NOT Push the latch out before installation.

Install outdoor unit(A) with gasket(B) and cylindrical sleeve bolt(F) on outdoor unit(A).
Install mounting plate (C) with M4 cross flat head bolt (H) on the door.
Note
- The cable goes through the notch on the lower right part of the mounting plate at first.
- Cable goes underneath deadbolt.

Install indoor unit(D) with M4 cross flat head bolts(I、G) on the door.
Note: If it’s a RIGHT opening door lock, pls put the lock spindle VERTICALLY into the hole connected to the knob at the indoor unit of the lock, and the rotating part of the knob should also be turned to VERTICAL position. (2) If it’s a LEFT opening door lock, pls put the lock spindle VERTICALLY into the hole connected to the knob at the indoor unit of the lock, but the rotating part of the knob should be turned to HORIZONTAL position.
Install 4 pieces AA Alkaline batteries.
Mark and drill holes for strike.
- Remove the keyhole cover with the pin, test the lock by totating the knob on unit D and using mechanical key(K).

Features
- Accessing the Lock –
Five ways to access the lock: App access, Mifare-1 card, Passcode & Mechanical key. - Safety – There are multiple safety mechanisms within the lock.
- Auto Lock: After an unlocking, it can lock automatically after a period of time (can be 5s, 10s, 30s, 60s or custom seconds, the time can be set via the smart phone App)
- Keypad Locked: After 6 failed passcode attempts, the keypad will shut down for 3 minutes. Mechanical key and App Unlock can be used to unlock in this state.
- Privacy Lock out Mode: It essentially is a ‘do not disturb’ mode, privacy button is below the knob of back panel, this will make the lock no longer accept passcode, card or fingerprint access except for mechanical key and App Unlock..
- Press the privacy button for about 2 seconds and activate the privacy lock out mode(keypad can’t input Passcode any more), people won’t be able to get in from outside except by using mechanical key.
- To deactivate the privacy lock out mode, please short press the privacy button once or turn the knob once, then passcode, card can work again.
- Randomizer – Before you enter your passcode, you can push some random numbers to prevent the passcode from being inferred based on the fingerprints on the frequently pushed numbers and from being seen by anyone nearby.
- Emergency Power Supply – If you fail to replace the batteries before they are fully discharged, you can still open the door with a mobile battery connected to the USB charging terminal.
- Real Time Record – You can manage your passcodes and check unlock records in real time on your App.
Specifications
| Material | Zinc Alloy | Model NO. | S350BBL | |
| Code Length | 38mm-48mm | Code Length | 6~9 digits | |
| Working Temperature | -20°C~70°C | Working Humidity | 20%~80%RH | |
| Working Power Consumption | ≤250mA | Static Power Consumption | ≤50uA | |
| Power Supply | 6V (4pcs AA Alkaline Batteries not included) | |||
| Unlocking Methods | App Access, Passcode, Mifare-1 Card & Mechanical Key | |||
| User Capacity | 1 Admin Passcode | |||
| Unlimited Bluetooth eKey users | ||||
| 150 custom & permanent passcodes(other types of passcodes are unlimited); 300 card | ||||
| Product Dimension | Front | 65(W) x 157(H) x 20(D) mm | ||
| Back | 67(W) x 164(H) x 30(D) mm | |||
App Operation Guide
- Search “TTLock” to download the App from Google play or Apple store. Or scan the QR code on the cover of this manual to download the App.
- Install and register an account with your phone number or email.
Note: The App only supports Android 4.3 / IOS7.0 version and above. Once you pair a device with your phone/account, the device will not be able to link to other accounts, unless you remove the link from the App.
App Connection
- Turn on the Bluetooth on your phone.
- Open the App. Then click “Add Lock” and “Lock”.
- Touch the touch screen button of the smart lock to activate lock, the number keys indicator light will be bright and Click “Next”on the App.
- Find the smart lock name which starts with “xx_xxx” and click “+”.
- Rename the name of smart lock and click “OK”, then Click “Finish”.
Note:
- If you do not see the + sign, it means that that device has already been paired with another phone / account and cannot be linked to your phone. You will need the previ-ous owner to remove the device from the account or transfer control of the device to your account. Also, remember that your phone must be connected to the internet (3G / 4G / Wifi) when ADD / LINK a new device.
- Remove a Bluetooth Admin: Disconnect the power of the lock once then recon-nect the power,press and hold the black button under the knob at the back panel of the lock, the lock will indicate “Please input initialization passcode”, then enter “000#” on the keypad, the lock will be indicate “deleting administrator successfully”, which means the lock has been restored to factory defaults after initialization.
App Operation Instruction
- Send eKey eKey is a function for you to authorize the Admin rights to other members, who has download the same APP in their own phones.All the people who holds can control the smart lock.
- Generate Passcode The passcode receiver can unlock the smart by entering the passcode manually. The passcode can be set as different type:Permanent /Timed / One-time(6 hours) /Erase (24 hours) / Customized / Recurring . All passcodes generated can be sent to those in need by mail and chatting tools.
- P3.3. eKeasscys: A file todes: A file to manago manage the ste the sa tatus and histus and histor ty of eKory of Peys.asscodes.
- P3.5. IC Carassc d: A file todes: A file to manago manage the se the sta tatus and histus and histor tory of IC cy of Parasscds.odes.
- gerprints.
- Records: View locking and unlocking information to check when and who used it. 783. . Authorized Admin: Authorize the admin to the users who can operate the lock as an A dmin user.
- Setting
- Basics: Display the Lock Number, MAC/ID, Battery lever, Lock Name(you can manually change name of the door), Lock Group(he administrator can add multiple locks for grouping,which is suitable for rental housing. It is more convenient for group management of personnel), Admin Passcode(the default passcode is the unlock passcode of the administrator, which can be manually changed to a custom passcode).
- Auto Lock: Off-by-default. Open the App-click Setting, click Auto Lock-turn on and set time to 10S, 15S, 30S, 60S or Custom seconds you need, then click OK. When the setup is completed, it will be automatically locked after unlocking (for example, it will be automatically locked 10 seconds after unlocking if the time is set as 10 seconds).
- Lock Clock: Calibrate time of the lock.
- Diagnosis: Analyse the problem of the lock.
- Read Operation Records: This operation will read all records stored in the lock.
- Firmware Upgrade: to check whether there is any update version.
- nlocking Notification: On-by-default. If this function is on, the administrator’s hone will receive the unlocking information when someone who assigned with a key unlocks the door with the App.
- sytem Settings
- Sound: On-by-default, you can manually close it to turn off App system unlock operation sound.
- Touch to Unlock: Off-by-default, this function is invalid when the “ttlock” App is turned off or running on the background of your phone. When the App is open and connect within 10 meters from the lock, any family members can unlock the door by pressing any one touch screen button for at least 2 seconds. It is recommended to close the option if you do not need it.
- 93.10.3. Lock Users: You can check your lock users here.
- 93.10.4. Lock Group: the administrator can add multiple locks for grouping, which is suitable for rental housing. It is more convenient for achieving group manage-ment of personnel. It can be modified or deleted if not needed.
- Transfer locks: This function is used to transfer the administrator rights. Once transferred, you will not the administrator again.
- Transfer gateway: This function is used to transfer the gateway. Once trans- ferred, you will lose the right for managing the gateway.
- anguages: App system language setting.
- Screen Lock: After the function is turned on, you need to use your or account password to open the the lock App. No need to verify again within 3 minutes.
Operation Instructions for Different Functions
Unlock
- Unlock with IC card: Swipe the valid mifare card to unlock it.
- Unlock with App: Open the app and click the lock icon in the interface to unlock it (The phone should be within 10 meters from the door lock).
- Unlock with passcode: enter the numeric passcode and then press the # key to confirm the unlocking (The Admin Passcode can be set in the App setting).
- Unlock by touching the keypad: Open the App, then turn on the“ Touch to Unlock option” in the System Settings. Touch the keypad to unlock the door (The phone is required to be connected to WiFi or mobile data network and within 10 meters from the door lock).
- Unlock by mechanical key: use a pointed object to open the circular keyhole which is under the touch screen button then insert the key to unlock it.
- Unlock manually: manually twist the knob on the Back panel to unlock it.
Lock
- Lock with App: Open the App, press and hold the lock icon for 5 seconds to lock it. (The phone should be within 10 meters from the door lock).
- Auto Lock: When you turn on the“ Auto Lock” option in the App and set the auto lock time, the lock will be locked automatically after you unlock the door.
- Lock with the # key: press and hold the # key on the front panel keypad for 3 to 5 seconds to lock.
- Lock by mechanical key: use a pointed object to open the circular keyhole which is under the touch screen button then insert the key to lock it.
- Lock manually: manually twist the knob on the Back panel to lock it.
Modify the Administrator’s Unlocking Passcode
Open the App – locate the lock you want to change admin passcode – click Setting – click Basic – click Admin Passcode – enter the new passcode with 6-9 numerical digits – click OK (The phone is required to be connected to WiFi or mobile data network and within 10 meters from the lock).
Remote Authorization of ekey
Open the App – click Send eKey – select the ekey type as “Timed” or “Permanent” – Enter the App account of the recipient-click Send button.
(The phone is required to be connected to WiFi or mobile data network)
Freeze / Delete / Authorize / Name / Operate Already Sent ekeys by Administrator
Open the App- click eKeys – click the ekey that has been sent – click Name / valitidity /delete the eKey info you need – clicking the menu on the upper right corner to conduct the freeze / authorization operation. (The phone is required to be connected to WiFi or mobile data network.)
Switch Administrator
- Delete the Administrator right
Open the App- locate the lock – click Setting – click Delete – enter your account password – click OK – Using a new phone to pair the lock again. A lock can only be paired with one administrator phone. Please stand within 10 meters away from the lock to open and connect the APP. - Switch through the Transfer locks function. Open the App – click System Settings – click Transfer Locks – Select Locks – click Next – enter the recipient’s APP account and the verification code – click Next – Finish (The phone is required to be connected to WiFi or mobile data network & within 10 meters from the lock ).
7. Remote Authorization of Passcode
Open the App – click Send passcode – select the type of the passcode (Permanent / Timed / One-time / Custom / Recurring) – click Generate. Then it will create a passcode. You can send the code to others by SMS, email and other chatting tools.(The phone is required to be connected to WiFi or mobile data network.)
Add or Clear IC card
Select “IC Cards” in the app, then select “Add IC Card” from the menu on the right. There, enter a name to identify the card and select the type of access (temporary or permanent). When you press Ok, the lock will instruct you to bring the IC card closer to the lock to complete the process. Select “Clear IC Cards”, all IC cards of this lock will be deleted.
Delete Already Sent Passcode by Administrator
Open the App – click Passcodes – select the passcode that has been sent – delete the passcode (The phone is required to be connected to WiFi or mobile data network and within 10 meters from the lock).
System Reset
The lock can be reset by below two ways. The default administrator is 123456 under initialization mode.
- Reset by TTLock App
Open the interface of the lock which you want to reset in App, click Settings – click Delete- Enter your account password – OK
- Reset on the lock
- Remove one of batteries
- Put the battery back, and keep pressing the privacy button (right below the knob) on the back pannel for about 14 seconds.
- When hearing the voice prompt “Please input the initialization passcode”, please enter 000#.
FQA
Q: How can I reset my ttlock app account if I forgot my password?
- Open the ttlock lock App, click Forgot password, enter the email address you registered for your ttlock account.
- Enter a new password, check Get code. You should receive verification code in the email, Enter the verification code to reset your password. Use the new password to sign in the account.
Q: Can I still use the smart lock when my phone is lost or turn off?
- Yes. You can still use the traditional physical key or password to lock / unlock the door.
- Use a new phone to download the App, Sign in your App account with the email or phone number and password. Enter the verification code, then you can use the new phone to unlock the door. Don’t forget to reset the door after you unlock it.
Q: The door won’t lock automatically when I close it.
- Check if Auto Lock is set. If not, press and hold the # key on the panel keypad for 3 to 5 seconds to lock the door.
- If the door doesn’t lock automatically when Auto Lock is set, then the lock has been installed incorrectly.
- The Auto Lock function is not activated when the batteries are completely discharged. Check if the batteries are discharged.
Q: Lock configuration failed.
- Remove the mechanical key from the cylinder.
- Check that the door was closed properly or if lock operation was interfered.
Q: The App is disconnected from the door unit and / or I can’t find my lock on the App.
- Close the App, turn off your phone’s Bluetooth. Then turn Bluetooth back on, and open the App.
- Refresh the App.
- The lock can only be connected to one user’s App. It’s possible that another user’s phone App is already connected to the lock. If don’t know which user is connected to it, you have to reset the lock.
Q: The smart lock has started beeping whenever I lock or unlock the door.
- This is an indication your battery is low; it’s time to change the batteries.
Q: I’m unable to open the door from a distance of 10 meters / yards
- The app works via a Bluetooth connection, which can be impacted by the environ- ment.
- For both security and functionality reasons, try moving as close as possible to the lock.”
- The battery is low, use the emergency power supply for the door.
Important Safeguards
- Read all instructions in their entirety.
- Familiarize yourself with all warning and caution statements.
- Remind all family members of safety precautions.
- Always have access to your lock’s standard key.
- If using the Lock with the # key or Auto-Lock features, make sure to have your smart-phone, passcode or standard key with you to prevent locking yourself out.
- Replace low batteries immediately. Preventing Inadvertent Unlocking of Your Door.
WARNING
Failure to follow these safeguards could result in your lock opening inadvertently.
- Avoid keeping and storing phones and fobs unnecessarily close to the lock when inside the home.
- Restrict access to your lock’s back panel and routinely check your settings to ensure they have not been altered without your knowledge.
- Protect the password to your ttlock app and your account.
- When sending an eKey, always double-check that you are sending it to the correct recipient.
- Protect and restrict access to your smartphone so that your app settings cannot be altered without your knowledge.
- When sending eKeys, be aware of the difference between an Admin user and other users in the system. The Admin user can send, disable and delete eKeys.
- If your smart phone is lost or stolen, reset your lock. Resetting your smart lock system will restore your lock to factory settings and delete all smart phones and fobs.

























