Franklin RT410 Mobile Hotspot

Welcome
This booklet helps you get started with your new Franklin Wireless RT410 Mobile Hotspot. For more help getting up and running with your new device, please contact T-Mobile. Visit the T-Mobile website for ongoing support and resources. There you’ll find user guides, tutorials, and more to help you get the most out of your device.
Note: Available applications and services are subject to change at any time.
Your RT410 Mobile Hotspot
See below for details on everything you will find in the box for your RT410.
- RT410 Mobile Hotspot
- Rechargeable Battery
- Micro-USB C type Charger
- Get Started Guide
Get Started
The following topics give you all the information you need to set up your device and wireless service the first time.
Parts and Functions
Learn your device’s primary parts and functions.
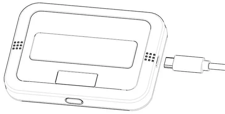
Device Layout
The following illustration outlines your device’s primary external features and buttons.
<TOP>
<Bottom>
| Part | Description |
| Display | View device status and information |
| SIM card slot | Install the SIM card. |
| AC Charging micro USB port | Connect the micro USB cable for charging. |
| Battery cover | Remove the battery cover to remove or insert the battery or SIM card. |
| Settings Reset button | Press to reset your device to its default settings. |
| Power (Menu) button | Long press to toggle power on or off. Short press to navigate device information |
SIM Card
The SIM card is an IC card containing your device’s phone number and other customer information. Note: Your device’s SIM card is preinstalled.
Handling a SIM Card
Keep the following in mind when handling a SIM card.
- Customer is responsible for any damage caused by inserting the SIM card in another-brand IC card reader, etc. The company is not responsible in such case.
- Always keep the IC chip clean.
- Wipe clean with a dry, soft cloth.
- Avoid applying labels. May damage the SIM card.
- See instructions included with the SIM card for handling.
- The SIM card is the property of the company.
- The SIM card is replaceable (at cost) in case of loss/damage.
- Return the SIM card to the company when cancelling subscription.
- Returned SIM cards are recycled for environmental purposes.
- Note that SIM card specifications and performance may change without notice.
- It is recommended that you keep a separate copy of information that is stored on the SIM card. The company is not responsible for damages from stored information that is lost.
- Always follow emergency procedures to suspend service if your SIM card or device (SIM card inserted) is lost or stolen. For details, contact Customer Service.
- Always power off the mobile broadband device before inserting or removing the SIM card.
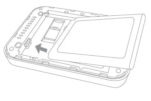
Insert or Remove a SIM Card
Follow these instructions to insert or remove a SIM card. Remember to power off your device before inserting or removing a SIM card.
Note: Your device’s SIM card is preinstalled. These instructions are for reference only.
- Press and hold the Power key to turn off the device before inserting or removing the SIM card.

- Remove the battery cover and Insert the SIM card gently with gold IC chip facing downward

- Remove the SIM card by gently pressing down and sliding outwards.
- Insert the Battery.

- Align the contacts of the battery with the contacts in the device.
- Attach the battery cover.

Charge the Battery
Follow these instructions to charge your device’s battery using the included AC adapter.
Battery Charging Cautions
Charging Conditions: Under low temperatures charging performance decreases. Charge your device in temperatures between 0°C – 50°C. Do not charge in places where there is high humidity.USB charging may be unavailable depending on Wi-Fi router temperature.
Use Supplied Accessories: Always use the supplied AC adapter.
Precaution for Extended Use: Your device may become hot when used for a long time or while charging, especially in high temperatures. Prolonged contact with skin may cause low-temperature burn injuries.
The RT410 and AC Adapter Becoming Warm or Hot: Your device and the AC adapter may become warm while charging. This is not a malfunction. However, stop using them immediately if they become extremely hot; this could indicate a malfunction. RISK OF EXPLOSION IF BATTERY IS REPLACED BY AN INCORRECT TYPE. DISPOSE OF USED BATTERIES ACCORDING TO THE INSTRUCTIONS.
Charge Using the AC Adapter
Use the supplied AC adapter. Plug the AC adapter into an electrical outlet. The indicator light on the power button illuminates red when charging starts. The light turns green when the battery is fully charged. Fully charging a battery may take up to three hours. After charging, disconnect the device from the charger. 
Unplug the AC adapter from the outlet, and remove the micro USB connector from the device. The socket-outlet shall be installed near the equipment and shall be easily accessible.
Turn Your Device On and Off
The instructions below explain how to turn your device on and off, or to restart your device if it cannot be powered on and off using the Power button
- Turn Your Device On
Press and hold the Power button until the device displays “Welcome”. - Turn Your Device Off
Press and hold the Power button until the device displays “Goodbye” Your device will power off
Restart Your Device
If your device will not turn on or off using the Power button, remove and re-insert the battery (see the section “Insert the Battery”), then press and hold the power button again.
Note: Restarting your device does not reset the device settings.
Set Up Your Hotspot
- Insert the Battery
Remove the back cover using the thumb catch on the bottom edge of the hotspot. Align the battery’s contacts with those inside the battery compartment and gently press down until the battery us seated. Replace the back cover. - Charge the Battery
Insert the small end of the USB cable into the micro-USB charging port on the right side of the hotspot. Plug the charging adapter into a standard AC power outlet. - Get Ready
Make sure you are in an area covered by your service provider. Make sure the device you are trying to connect to your Hotspot has its Wi-Fi (wireless network connection) mode turned on. Make sure you activated your Hotspot on your account with your service provider.
Hotspot LCD Screen
- Power Up the hotspot
To turn your Hotspot on or off, press and hold the Power Button on the front of the device for at least two seconds. - Main Screens
Your hotspot has a series of screens that let you view device information and system alerts. Press the Power Button (Navigation Key) to cycle through the following:- Signal strength/Battery Status WIFI Name
- WIFI Password
- Settings
- Admin Password

Connect to Your Hotspot
- Connect a Device to Your Hotspot via Wi-Fi
Turn on your hotspot and your Wi-Fi- enabled device. Open the Wi-Fi application or controls on the computer or Wi-Fi-enabled device that you want to connect to your Hotspot. Find your Hotspot’s Wi-Fi name and, enter your password to connect to the Internet.
Note: Your Wi-Fi name (SSID) and password appear on the Hotspot LCD display. The service described in this guide may require a subscription to a service plan and/or may incur additional charges. Not all services will work all devices. Contact your service provider for more details.
Hotspot Manager
Access, monitor, and customize your device settings using the Hotspot Manager.
- Log In to the Hotspot Manager
- Open a browser on a computer connected to your Hotspot.
- Navigate to http://myhotspot or http://192.168.128.1.
- Click Log In.
- Enter your password and click Log in. You’ll be taken to the Hotspot Manager home page.
Note: The default Admin password for logging in to the Hotspot Manager is password. It is recommended that you change the password as soon as possible. 
Connected Devices
View devices that are connected to your Hotspot’s Main or Guest Wi-Fi networks and configure access permissions.
- Set Permissions
- Log in to the Hotspot Manager.
- Click the Connected Devices tab.
- Click Access Permissions from the left menu to restrict access.

Hotspot Settings
Configure your Hotspot’s Wi-Fi, Mobile Network, Device, and Advanced Router settings.
- Configure Devices Settings
- Log in to the Hotspot Manager.
- Click the Settings tab.
- Click Device and Use the drop down menu to configure the following:
- Preferences: Change your Hotspot’s display timeout.
- Web Interface: Change your password to log in to the Hotspot Manager.
- Software Update: View and update software for your Hotspot.

Network Settings
Adjust your hotspot’s Mobile Settings, APN, SIM, and Advanced devices settings.
- Configure Network Settings
- Log in to the Hotspot Manager.
- Click the Settings tab.
- Click Mobile Network Settings and use the drop data menu to configure the following:
- Mobile Settings: Manage your mobile broadband data connection and roaming settings.
- APN: View and edit APN settings.
- SIM: Enable a PIN lock for the SIM card.
- Advanced: Perform a factory reset, clear account information, and edit your data profile.

Guest Networks
Create a separate Guest Wi-Fi network that you can share with temporary users.
- Set Up a Guest Network
- Log in to the Hotspot Manager.
- Click the Settings tab.
- Using the drop down menu, select Wi-Fi > Basic
- Next to Multi SSID, select ON.
- Under Guest Wi-Fi, enter a new WI-Fi name and password and adjust additional network settings as desired.

Reset Your Hotspot
You may want or need to clear your account information, reset user settings, or reset your device to its factory default settings.
- Reset Wi-Fi Settings Only
- Log in the Hotspot Manager.
- Click the Settings tab.
- Using the drop down menu, select Wi-Fi > Basic.
- Under Wi-Fi Settings Reset, click Reset.
- Restore All User Settings to Factory Defaults
- Log in to the Hotspot Manager.
- Click the Settings tab.
- Using the drop down menu, select Device > Backup and Restore.
- Scroll down and click Restore Factory Defaults.
- Note: If you’ve forgotten your Hotspot Manager password, you’ll need to perform a RTN Reset (See below).
- Reset Your Device and Restore All Settings (RTN Reset)
- Remove the battery cover.
- Press and hold the Reset button until you see the “Factory Reset Restarting…” message on the LCD Screen.
- Note: The Hotspot must be powered on when pressing the Reset button.
Important Safety Information
This booklet contains important operational and safety information that will help you safely use your hotspot. Failure to read and follow the information provided in this booklet may result in serious bodily injury, death, or property damage.
General Precautions
There are several simple guidelines to operating your hotspot properly and maintaining safe, satisfactory service.
- Avoid exposing your hotspot and accessories to rain or liquid spills. If your hotspot does get wet, immediately turn the power off and remove the battery.
- Do not expose your hotspot to direct sunlight for extended periods of time (such as on the dashboard of a car).
- Although your hotspot is quite sturdy, it is a complex piece of equipment and can be broken. Avoid dropping, hitting, bending, or sitting on it.
- Any changes or modifications to your hotspot not expressly approved in this document could void your warranty for this equipment and void your authority to operate this equipment.
Note: For the best care of your device, only an authorized personnel of your service provider should service your hotspot and accessories. Failure to do so may be dangerous and void your warranty.
Caring for the Battery
- Protecting Your Battery
The guidelines listed below help you get the most out of your battery’s performance. - Recently there have been some public reports of wireless hotspot batteries overheating, catching fire, or exploding. It appears that many, if not all, of these reports involve counterfeit or inexpensive, aftermarket-brand batteries with unknown or questionable manufacturing standards. Your service provider may or may not be aware of similar problems with their hotspots resulting from the proper use of batteries and accessories approved by your service provider or the manufacturer of your hotspot. Use only your service provider-approved or manufacturer-approved batteries and accessories found at their stores or through your hotspot’s manufacturer, or call your service provider to order. They may also be available at your service provider’s website. Buying the right batteries and accessories is the best way to ensure they’re genuine and safe.
- In order to avoid damage, charge the battery only in temperatures that range from 32° F to 113° F (0° C to 45° C).
- Don’t use the battery charger in direct sunlight or in high humidity areas, such as the bathroom.
- Never dispose of the battery by incineration.
- Keep the metal contacts on top of the battery clean.
- Don’t attempt to disassemble or short-circuit the Battery.
- The battery may need recharging if it has not been used for a long period of time.
- It’s best to replace the battery when it no longer provides acceptable performance. It can be recharged hundreds of times before it needs replacing.
- Don’t store the battery in high temperature areas for long periods of time. It’s best to follow these storage rules:
- Less than one month:-4° F to 140° F (-20° C to 60° C)
- More than one month:-4° F to 113° F (-20° C to 45° C)
- Disposal of Lithium Ion (Li-Ion) Batteries
- Do not handle a damaged or leaking Li-Ion battery as you can be burned.
- For safe disposal options of your Li-Ion batteries, contact your nearest service provider’s authorized service center.
- Special Note: Be sure to dispose of your battery properly. In some areas, the disposal of batteries in household or business trash may be prohibited.
Safety and Notices
The following topics address important safety precautions, general notes, and required RF exposure information for your mobile broadband device.
Safety Precautions
The following topics outline important safety precautions that must be observed when using your device.
Important Notice
Due to the nature of wireless communications, transmission and reception of data can never be guaranteed. Data may be delayed, corrupted (i.e., have errors) or be totally lost. Although significant delays or losses of data are rare when wireless devices are used in a normal manner with a well-constructed network, your device should not be used in situations where failure to transmit or receive data could result in damage of any kind to the user or any other party, including but not limited to personal injury, death, or loss of property. Franklin Wireless accepts no responsibility for damages of any kind resulting from delays or errors in data transmitted or received using your device, or for failure of your device to transmit or receive such data.
Safety and Hazards
Do not operate your device under the following conditions.
- In areas where blasting is in progress
- Where explosive atmospheres may be present
- Near medical equipment
- Near life support equipment, or any equipment that may be susceptible to any form of radio interference.
In such areas, your device MUST BE POWERED OFF. Your device can transmit signals that could interfere with this equipment. Do not operate your device in any aircraft, whether the aircraft is on the ground or in flight. In aircraft, your device MUST BE POWERED OFF. When operating, your device can transmit signals that could interfere with various onboard systems.
Note: Some airlines may permit the use of cellular phones while the aircraft is on the ground. Your device may be used at this time if allowed by airlines. The driver or operator of any vehicle should not operate the device while in control of a vehicle. Doing so will detract from the driver or operator’s control and operation of that vehicle. In some jurisdictions, operating such communications devices while in control of a vehicle is an offense.
Proper Battery Use and Disposal
Follow these guidelines to ensure safe and responsible battery use.
- Do not open, disassemble, puncture, crush, bend, or shred.
- Do not expose to water or other liquids, fire, explosion, or other hazards.
- Use the original RT410 battery supplied with your device.
- If using with a charger, use only the AC charger supplied with your device.
- Do not short circuit the battery.
- When replacing a battery, use the same model of battery that was supplied with your device.
- Follow local regulations when disposing of a used battery.
- Avoid dropping your device or the battery. If dropped and you suspect damage, take it to a service center for inspection.
- Battery usage by children should be supervised.
Note: Improper battery use may result in a fire, explosion, or another hazard.
FCC Compliance
This device complies with part 15 of the FCC Rules. Operation is subject to the following two conditions: (1) This device may not cause harmful interference, and (2) this device must accept any interference received, including interference that may cause undesired operation.
Note: Any changes or modifications not expressly approved by the party responsible for compliance could void the user’s authority to operate this equipment.
This equipment has been tested and found to comply with the limits for a Class B digital device, pursuant to part 15 of the FCC Rules. These limits are designed to provide reasonable protection against harmful interference in a residential installation. This equipment generates, uses and can radiate radio frequency energy and, if not installed and used in accordance with the instructions, may cause harmful interference to radio communications. However, there is no guarantee that interference will not occur in a particular installation. If this equipment does cause harmful interference to radio or television reception, which can be determined by turning the equipment off and on, the user is encouraged to try to correct the interference by one or more of the following measures:
- Reorient or relocate the receiving antenna.
- Increase the separation between the equipment and receiver.
- Connect the equipment into an outlet on a circuit different from that to which the receiver is connected.
- Consult the dealer or an experienced radio/TV technician for help.
RF Exposure Information and Specific Absorption Rate (SAR) Information
The following topics detail the specific absorption rate (SAR) information, electromagnetic safety information, and radiofrequency (RF) exposure information for this device. This device is designed and manufactured not to exceed the emission limits for exposure to radio frequency (RF) energy set by the Federal Communications Commission of the United States. During SAR testing, this device is set to transmit at its highest certified power level in all tested frequency bands, and placed in positions that simulate RF exposure in usage against, and near the body with the separation of 10 mm. Although the SAR is determined at the highest certified power level, the actual SAR level of the while operating can be well below the maximum value. This is because the device is designed to operate at multiple power levels so as to use only the power required to reach the network. In general, the closer you are to a wireless base station antenna, the lower the power output.Safety and Notices 90 The exposure standard for wireless employs a unit of measurement known as the Specific Absorption Rate, or SAR. The SAR limit set by the FCC is 1.6W/kg. Tests for SAR are conducted using standard operating positions accepted by the FCC with the device transmitting at its highest certified power level in all tested frequency bands. The FCC has granted an Equipment Authorization for this model device with all reported SAR levels evaluated as in compliance with the FCC RF exposure guidelines. SAR information on this model device is on file with the FCC and can be found under the Display Grant section of http://fcc.gov/oet/ea/ after searching on FCC ID: XHG-RT410
More information on the device’s SAR can be found from the following FCC website:
http://fcc.gov/oet/ea. While there may be differences between the SAR levels of various devices and at various positions, they all meet the government requirement. SAR compliance for body operation is based on a separation distance of 10 mm between the unit and the human body. Carry this device, at least 10 mm away from your body to ensure RF exposure level compliant or lower to the reported level. To support body operation, choose the belt clips or holsters, which do not contain metallic components, to maintain a separation of 10 mm between this and your body.



























