CANVAC CLF3301X Ultrasonic Humidifier

TECHNICAL INFORMATION
| CANVAC QAIR HUMIDIFIER | |
| Model | CLF3301X |
| Application | 65 m2 (for warm mist humidifying) |
| Width x Depth x Height | 227 x 152 x 367 mm |
| Max. humidifying capacity | >400 ml/h |
| Water tank capacity | 5.0 litres |
| Rated voltage | 220–240 VAC |
| Mains frequency | 50/60 Hz |
| Rated power output | 105 W for warm mist humidifying |
| Protection against electric shock: | Class II |
WHEN USING ELECTRICAL APPLIANCES YOU MUST FOLLOW THE SAFETY PRECAUTIONS TO AVOID THE RISK OF FIRE, ELECTRIC SHOCK AND PERSONAL INJURY.
The humidifier must only be used indoors in a heated domestic or similar environment.
SAFETY INSTRUCTIONS
Read the following safety instructions.
- Make sure that the mains supply voltage matches the voltage rating of the product.
- Check that the plug fits your wall socket.
- Never pull directly on the power cord; always pull out the plug to disconnect the unit from the mains electricity supply.
- Do not use the product in a wet environment (such as a swimming area or bathroom), as this could lead to an electric shock or fire.
- Never lean on the product or place other items on top of it (it may tip over and be damaged).
- Do not clean the unit while it is in use or directly after use (as it is still hot and may cause burns).
- Remove the water tank before you move the unit.
- Do not place the unit in direct sunlight or near a heat source.
- If the power cord is damaged it must be replaced with an identical power cord from the dealer.
- Unplug the unit before you clean it, or if you do not intend to use it for some time.
- Do not touch the plug or power cord if your hands are wet (risk of electric shock).
- Do not place other items on top of the unit.
- Do not clean the mist nozzle when the water is still hot.
- Avoid standing close to the hot mist.
- Do not let children get close to the unit.
- Return the unit to our service workshop for repair if it is damaged or does not work correctly. (Do not attempt to repair the unit yourself.)
This appliance is fitted with an ultraviolet lamp. If the unit is used incorrectly or is damaged it may leak ultraviolet radiation. Ultraviolet radiation can damage the eyes and skin. If the unit is obviously damaged you absolutely must not turn it on. To get the ultraviolet lamp replaced, return the unit to the dealer or an approved service centre.
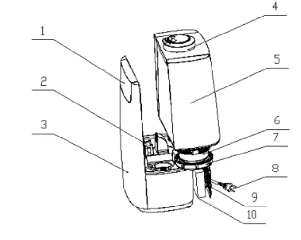
MAIN COMPONENTS

- LED display
- Bowl, ultrasonic transducer, aroma pad, ultraviolet lamp
- Front panel
- Mist nozzle
- Water tank
- Water filter
- Tank lid
- Plug
- Air filter cover
- HEPA air filter
FEATURES
- High humidification capacity.
- Warm or cold mist operation.
- Air purification with built-in HEPA filter and active carbon filter.
- Aroma diffuser (water-soluble aromatic oils can be bought separately from retail outlets).
- Ultraviolet lamp for killing bacteria.
- Built-in ionising feature (producing negative ions) to improve air quality.
- Three settings: auto, night and humidistat.
- Timer for up to 10 hours.
- Automatic shut-off when water tank is removed.
- Automatic shut-off when water tank is empty.
PLACEMENT
- Place the unit on a flat, steady surface. It is recommended that the unit is placed on a moisture-resistant surface.
- Position the humidifier well away from heat sources such as a stove or open fireplace. Do not place it in direct sunlight.
- Position the humidifier well away from moisture-sensitive furniture and electronic devices.
The mist emitted by the humidifier should not be directed towards furniture or electronic devices (they may be damaged by the mist).
USER INSTRUCTIONS
OPERATING CONDITIONS
- The humidifier starts working when the temperature is between 5 and 40 ˚C and the relative humidity is below 80%.
- Use clean water that is below 40 ˚C (if your tap water is hard we recommend that you use distilled water).
- clean the water tank and water bowl before long periods of disuse or at least twice each week if the unit is in continuous use.
- We recommend that you soak the unit’s water filter for 24 hours before using the filter for the first time.
INSTRUCTIONS FOR USE
- Remove the water tank from the unit. Unscrew the lid and fill the tank with clean water. Screw the lid back on (making sure that it fits securely). Refit the water tank in the unit (making sure that it fits securely).
- Check that the mist nozzle and handle guard are correctly fitted to the water tank.
- Plug the unit in and turn it on (by pressing the start button).
- Follow the instructions below to use the aroma diffuser feature (water-soluble aromatic oils can be bought separately from retail outlets).
- Remove the aroma pad.
- Place a few drops of water-soluble aromatic oil on the pad.
- Refit the aroma pad in the unit (the aroma diffuser will start automatically when you turn the unit on).
- When you have finished using the aroma diffuser feature (or if the unit will not be used for some time) remove the pad from the aroma diffuser and clean it. Refit the pad when you have cleaned it.
- If the tank is removed while the unit is in operation the unit will switch itself off. When you refit the water tank the unit will remain switched off. To restart, you need to turn the unit on and readjust the settings as required.
CONTROL PANEL
When the % symbol is lit the number display shows the ambient humidity. When the °C symbol is lit the number display shows the ambient temperature. When the letter H is lit the timer is active (press the timer button to see the remaining time). The humidity level (%) is displayed for 10 seconds, followed by the temperature level (°C) for 5 seconds.

- Power Plug in the unit (you will hear a beep and the unit will go into standby mode).To start the unit, press the button again (LED display lights up). To turn off the unit, press the power button again to return to standby mode.
- Ionisation (negative ions) Press this button to activate the ionisation feature (negative ions). Press the button again to turn off this feature.
- Night mode Press this button to reduce the brightness of the display in all display modes (the night mode symbol will go dim for 20 seconds).To turn off night mode, press any button.

- Timer for automatic shut-off To set the timer (1–10 hours), press the button repeatedly until the desired number of hours are shown; the letter “H” will be displayed while the timer is active, and the unit will shut off automatically when the set time has elapsed.
- To deactivate the timer, press the button until “C” appears in the display.
- Ultraviolet lamp To activate the ultraviolet lamp (bactericidal function), press and hold this button for 3 seconds. To deactivate the ultraviolet lamp, press the button again.
- Warm mist To activate the warm mist feature, press this button. Press the button again to deactivate this feature. When the warm mist feature is turned off the unit will only produce cool mist.
- Humidistat To set the desired humidity, press this button (the unit will shut off when the desired humidity is reached).The humidity can be set in the range 40~80% (relative humidity). When the unit is turned on it will humidify the air for 2 minutes (regardless of the humidity level in the room).
- AUTO mode Press and hold this button for 3 seconds to set the unit to automatic mode.This unit maintains the relative humidity at 55~68%. The unit will decide which is the most suitable humidification method itself (based on the humidity in the room).
- Mist level To set the mist volume, press this button (levels 1, 2 or 3). Level 1 is the lowest mist volume and level 3 is the highest.

CLEANING AND MAINTENANCE
BOWL AND ULTRASONIC TRANSDUCER
- In areas with very hard water the ultrasonic transducer may become coated with limescale (if so, clean the transducer inside the bowl using descaler, which is widely available from supermarkets).
- Apply a small amount of the descaler to the surface of the ultrasonic transducer (amount depends on extent of deposits). Then place it in water for 10–15 minutes.
- Clean with a soft brush or sponge to remove the deposits.
- Rinse twice in clean water.
- Do not clean the ultrasonic transducer with tools that could damage its surface (metal or other hard objects).
INSIDE OF WATER TANK
- Clean the inside of the water tank and the mist nozzle at least twice each week if you use the unit frequently.
- Wipe off any deposits from the inside of the water tank using a soft cloth.
- More stubborn deposits can be rubbed off gently using a soft cleaning sponge.
- Do not use detergents that contain acid, alkali or bleach to clean the water tank.
OUTSIDE OF WATER TANK
- Clean with a cleaning sponge and dry with a soft cloth.
- If necessary the mist nozzle can be removed for cleaning.
- Do not pour water directly into the mist nozzle after you have cleaned the inside.
AIR FILTER
We recommend that you replace the air filter once or twice each year, depending on the local environmental conditions. Press the filter cover to release it. Remove the old filter and fit the replacement. Place the old filter in a bag and seal it to avoid spreading dirt.
LONG-TERM STORAGE
- Pour all the water out of the tank, clean the tank and then dry the unit.
- Make sure that all water has been removed from the unit before storing it.
PRODUCT DISPOSAL
According to law, electrical and electronic devices must be disposed of at recycling stations and certain parts must be recycled. Electrical and electronic devices marked with a recycling symbol must be taken to a municipal recycling station.
TROUBLESHOOTING
If the unit is not working correctly, check the following before reporting a fault. If the unit still does not work after you have checked the possible causes, there is some other problem. If so, contact the dealer/service centre to arrange repair.
| PROBLEM | POSSIBLE CAUSE | SOLUTION |
| No mist | Check the plug | Plug into the wall socket |
| Check the power switch | Turn on the power switch | |
| No water in tank | Fill with water | |
| Not enough water in tank | Fill with water | |
| Mist has an odd smell | Unit is new | Remove the tank lid and place the water tank in a cool, dry place for 12 hours |
| Dirty water / water in tank is old | Clean the water tank / pour out the old water and fill with fresh water | |
| Unusual noise | Tank is incorrectly positioned | Place the tank in the correct position |
| Not enough water in tank | Fill with water | |
| Unit is on an uneven surface | Place the unit on a flat, steady surface | |
| Mist leaking out from area around nozzle | Poor seal between mist nozzle and water tank | Dip the cover from the mist nozzle in water and refit it |


















