condair US-Series Ultrasonic Humidifier
Product Information
Ultrasonic Humidifier US-Series
The Ultrasonic Humidifier US-Series by Condair is designed for humidification and evaporative cooling purposes. It is equipped with various spare parts for maintenance and repair.
Product Usage Instructions
Ultrasonic Humidifier Spare Parts List:
| Part Number | Description | Quantity Required (US 7) | Quantity Required (US 13) | Quantity Required (US 20) | Quantity Required (US 40) |
|---|---|---|---|---|---|
| 2594399 | N/A | 1 | 1 | 1 | 1 |
Cleaning and Disinfecting Kit:
| Part Number | Description |
|---|---|
| 2594996 | Kit, Cleaning & Disinfection, US Humidifier |
Reverse Osmosis System Spare Parts List:
| Part Number | Description | Quantity |
|---|---|---|
| 2594388 | N/A | 1 |
Ultrasonic Blower Pack Spare Parts List:
| Part Number | Description | Quantity |
|---|---|---|
| 2588752 | SP, Fan 1, BP, US Humidifier | 1 |
Warranty:
The company provides a warranty that covers replacement parts.The defective part(s) should be returned to the company’s factory, with the customer bearing the prepaid freight charges. Parts used for repairs are warranted for the balance of the term of thewarranty on the original humidifier or 90 days, whichever is longer.
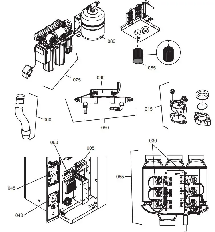
Spare Parts List: Ultrasonic Humidifier
- Spare Parts List: Ultrasonic Humidifier
Table 1: Ultrasonic Humidifier Spare Parts List (refer to Fig. 1 on the previous page)
| Item # | Part Number | Description | Quantity Required Ultrasonic Humidifier | |||
| US 7 | US 13 | US 20 | US 40 | |||
| 005 | 2594399 | SP, Battery Lead-Acid, 12 V 1.2 Ah | 1 | 1 | 1 | 1 |
| 015 | 2594400 | SP, Transducer Kit (x4), US Humidifier | 4 | 8 | 12 | 24 |
| 030 | 2594403 | SP, Misting Unit Board (x2), US Humidifier | 1 | 2 | 3 | 6 |
| 040 | 2594405 | SP, Control Board and Display, US Humidifier | 1 | 1 | 1 | 1 |
| 045 | 2594406 | SP, Driver Board, US Humidifier | 1 | 1 | 1 | 2 |
| 050 | 2594407 | SP, Battery Pack Board, US Humidifier | 1 | 1 | 1 | 1 |
| N/S | 2595482 | SP, Blowerpack Board, UB | 1 | 1 | 1 | 2 |
| 060 | 2594409 | SP, Flexible Tube (x1), UB, Direct Mount | 1 | 2 | 3 | 0 |
| 2594413 | Flexible Tube (x1), UB, Remote Mount | 1 | 2 | 3 | 6 | |
| 065 | 2594410 | SP, Humidifier Reservoir Assembly (3L) | 1 | 0 | 0 | 0 |
| 2594411 | SP, Humidifier Reservoir Assembly (6L) | 0 | 1 | 0 | 0 | |
| 2594412 | SP, Humidifier Reservoir Assembly (9L) | 0 | 0 | 1 | 2 | |
| 075 | 2594387 | SP, RO Unit with Transformer, US Humidifier | 1 | 1 | 1 | 1 |
| 080 | 2586532 | Ultrasonic FlowThru Tank, 2.1 gal | 1 | 1 | 1 | 1 |
| 085 | 2594401 | Kit, Filter, US 7-20 Humidifier | 1 | 1 | 1 | 0 |
| 2594995 | Kit, Filter US-40 Humidifier | 0 | 0 | 0 | 1 | |
| 090 | 2588690 | SP, UV Assembly Complete, US Humidifier | 1 | 1 | 1 | 2 |
| 095 | 2588698 | SP, UV Ballast, US Humidifier | 1 | 1 | 1 | 2 |
| N/S | 2588699 | SP, UV Tube Assembly, US Humidifier | 1 | 1 | 1 | 2 |
| N/S | 2595485 | SP, Fuse Kit, US Humidifier | 1 | 1 | 1 | 1 |
| N/S | 2595486 | SP, Air Intake Fan 24V | 1 | 1 | 1 | 2 |
| N/S | 2595483 | SP, Power Supply 24 VDC | 1 | 1 | 1 | 1 |
| N/S | 2595484 | SP, Power Supply 48 VDC | 1 | 1 | 1 | 1 |
| N/S | 2594408 | SP, Power Supply Assembly, UB (blowerpack) | 1 | 1 | 1 | 2 |
| N/S | 2594402 | SP, Monobed DI and Cartridge 60GPH 110V | 1 | 1 | 1 | 1 |
| N/S | 2595819 | SP, Monobed Dionizer 60GPH 110V | 1 | 1 | 1 | 1 |
| N/S | 2595820 | SP, Cartridge for Monobed Dionizer | 1 | 1 | 1 | 1 |
| N/S | 2591510 | Fill Cup Assy – US Humidifier | 1 | 1 | 1 | 2 |
| N/S | 2594404 | SP, Level Switch, US Humidifier | 1 | 1 | 1 | 2 |
| N/S | 1510142 | Humidstat, Control, 0-10 V, Dig. Wall | 1 | 1 | 1 | 1 |
| N/S | 2573522 | SP, Fill Valve Assembly | 1 | 1 | 1 | 2 |
| N/S | 2594747 | SP, Drain Valve Assembly | 1 | 1 | 1 | 2 |
Cleaning and Disinfecting Kit
| Item # | Part Number | Description |
| N/S | 2594996 | Kit, Cleaning & Disinfection, US Humidifier |
N/S = item not shown
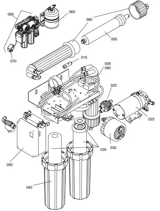
Spare Parts List: Reverse Osmosis System
- Spare Parts List: Reverse Osmosis System
Table 2: RO-U Spare Parts List (refer to Fig. 2 on the previous page)
| Item # | Part Number | Description | Quantity |
| 005 | 2594388 | SP, RO membrane (x2) 100 gal, US Humidifier | 1 |
| 015 | 2594396 | SP, NoReturn Valve 0.25″, US Humidifier | 1 |
| 020 | 2594394 | SP, Shut Off Valve, US Humidifier | 1 |
| 025 | 2594395 | SP, Booster pump, 24 VDC, US Humidifier | 1 |
| 030 | 2594393 | SP, Permeate pump, US Humidifier | 1 |
| 035 | 2594386 | SP, RO Filter Kits, US Humidifier | 1 |
| 040 | 2594392 | SP, Filter Holder, US Humidifier | 1 |
| 050 | 2594390 | SP, Water Safe Guard , US Humidifier | 1 |
| 060 | 2586532 | Ultrasonic FlowThru Tank 2.1 gal | 1 |
| N/S | 2594398 | SP, Accessories FlowThru Tank, US RO | 1 |
| 065 | 2594387 | SP, RO Unit with Transformer, US Humidifier | 1 |
| 070 | 2594391 | SP, Transformer 120V to 24V / 40VA | 1 |
| 080 | 2594397 | SP, RO Membrane Holder, US Humidifier | 1 |
| N/S | 2594389 | SP, Shut off valve, 24 VDC, US Humidifier | 1 |
N/S = item not shown
Spare Parts List: Ultrasonic Blower
- Spare Parts List: Ultrasonic Blower
Table 3: Ultrasonic Blower Pack Spare Parts List (refer to Fig. 3 on the previous page)
| Item # | Part Number | Description | Quantity |
| 1 | 2588752 | SP, Fan 1, BP, US Humidifier | 1 |
| 2 | 2588753 | SP, Fan 2, NP, US Humidifier | 1 |
| 3 | 2588754 | SP, Fan Assembly, BP, US Humidifier | 1 |
| 4 | 2588755 | SP, Mist Channel, BP, UB-20 | 1 |
| 2588757 | SP, Mist Channel, BP, UB-13 | 1 | |
| 2588758 | SP, Mist Channel, BP, UB-07 | 1 | |
| 5 | 2588756 | SP, Pressurized Box, BP, US Humidifier | 1 |
| 6 | 2588764 | SP, Filter Set, BP, US Humidifier | 1 |
Warranty
Condair Inc. and/or Condair Ltd. (hereinafter collectively referred to as THE COMPANY), warrant for a period of two years after installation or 30 months from manufacturer’s ship date, whichever date is earlier, that THE COMPANY’s manufactured and assembled products, not otherwise expressly warranted, are free from defects in material and workmanship. No warranty is made against corrosion, deterioration, or suitability of substituted materials used as a result of compliance with government regulations.
THE COMPANY’s obligations and liabilities under this warranty are limited to furnishing replacement parts to the customer, F.O.B. THE COMPANY’s factory, providing the defective part(s) is returned freight prepaid by the customer. Parts used for repairs are warranted for the balance of the term of the warranty on the original humidifier or 90 days, whichever is longer.
The warranties set forth herein are in lieu of all other warranties expressed or implied by law. No liability whatsoever shall be attached to THE COMPANY until said products have been paid for in full and then said liability shall be limited to the original purchase price for the product. Any further warranty must be in writing, signed by an officer of THE COMPANY.
THE COMPANY’s parts or materials that are considered consumables, including but not limited to: cylinders, filters, nozzles, membranes, media, gaskets, O-rings, etc. are NOT covered by the warranty.
THE COMPANY makes no warranty and assumes no liability unless the equipment is installed in strict accordance with a copy of the catalog and installation manual in effect at the date of purchase and by a contractor approved by THE COMPANY to install such equipment.
THE COMPANY makes no warranty and assumes no liability whatsoever for consequential damage or damage resulting directly from misapplication, incorrect sizing or lack of proper maintenance of the equipment.
THE COMPANY makes no warranty and assumes no liability whatsoever for damage resulting from freezing of the humidifier, supply lines, drain lines, or quality of the water used.
THE COMPANY retains the right to change the design, specification and performance criteria of its products without notice or obligation.
THE COMPANY’s limited warranty on accessories, not of the companies manufacture, such as controls, humidistats, pumps, etc. is limited to the warranty of the original equipment manufacturer from date of original shipment of humidifier.
Extended Warranty:
Extended warranties are available to purchase under the conditions listed above.
U.S.A. 835 Commerce Park Drive Ogdensburg, New York 13669 CANADA 2740 Fenton Road Ottawa, Ontario K1T 3T7
- TEL: 1.866.667.8321
- FAX: 613.822.7964
- EMAIL: [email protected]
- WEBSITE: www.condair.com
Contact
Condair Ltd. 2740 Fenton Road, Ottawa, Ontario K1T3T7 TEL: 1.866.667.8321, FAX: 613.822.7964 EMAIL: [email protected], WEBSITE: www.condair.com
Proprietary Notice
This document and the information disclosed herein are proprietary data of Condair Ltd. Neither this document, northe information contained herein shall be reproduced, used, or disclosed to others without the written authorization of Condair Ltd., except to the extent required for installation, operation or maintenance of the customer’s equipment. Liability Notice Condair Ltd. does not accept any liability due to incorrect installation or operation of the equipment or due to the use of parts/components/equipment that are not authorized by Condair Ltd.
Copyright Notice
Copyright 2022, Condair Ltd. All rights reserved.




















