beurer GS 39 Talking glass bathroom scale

Instruction for Use

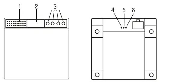
- Display
- User memory key 1, 2, 3, 4 (Pushbutton)
- kg/lb/st
- Language
+/-
Included in delivery
Check that the device packaging has not been tampered with and make sure that all contents are present. Before use, ensure that there is no visible damage to the device or accessories and that all packaging material has been removed. If you have any doubts, do not use the device and contact your retailer or the specified Customer Services address.
- 1 x talking glass bathroom scale GS39
- 3 x 1.5 V, AAA batteries
- These instructions for use
Signs and symbols
The following symbols are used on the device, in these instructions for use, on the packaging and on the type plate for the device:
| WARNING Warning notice indicating a risk of injury or damage to health. | |||
| IMPORTANT Safety note indicating possible damage to the device/accessory. | |||
| NOTE Note on important information | |||
![]() | Observe the instructions for use | ||
![]() | Disposal in accordance with the Waste Electrical and Electronic Equipment EC Directive – WEEE | ||
![]() | Do not dispose of batteries containing hazardous substances with household waste | ||
|
| Dispose of packaging in an environmentally friendly manner | ||
|
| This product satisfies the requirements of the applicable European and national directives. | ||
| The products demonstrably meet the requirements of the Technical Regulations of the EAEU. | |||
| United Kingdom Conformity Assessed Mark | |||
| Manufacturer | |||
![]()
| The danger of tipping: position yourself in the center of the weighing surface. | ![]()
| The danger of slipping: do not step on the scale with wet feet. |
|
| Place the scale on an even surface. No carpet. | ![]() | Do not load the scale be- yond 150 kg/330 lb/24 st. |
Intended use
- The device is only intended for weighing humans and for recording your last measurement result.
- The device is only intended for private use, and not for medical or commercial purposes.
Warnings and safety notes
Warning
• Important: do not step onto the scale with wet feet or if the surface of the scale is damp – danger of slipping!
- Do not step onto the outer edge of the scale on just one side: danger of tipping!

- Swallowing batteries can be extremely dangerous. Keep the batteries and scale out of the reach of small children. Should a battery be swallowed, seek medical assistance immediately.
- Keep packaging material away from children (risk of suffocation).
Notes on handling batteries
- Always insert the batteries correctly, taking into account the polarity (+ / -). Keep batteries clean and dry and away from water. Always select the correct battery type.
- Never short-circuit batteries and battery compartment contacts.
- Never charge, forcibly discharge, heat, disassemble, deform, encapsulate or modify batteries.
- Never weld or solder on batteries.
- Never mix batteries of different manufacturers, capacities (new and used), size, and type within a device.
- Risk of explosion! Failure to comply with the points mentioned above can result in personal injury, overheating, leakage, venting, breakage, explosion or fire.
- If a battery has leaked, put on protective gloves and clean the battery compartment with a dry cloth.
- If your skin or eyes come into contact with battery fluid, wash the affected area with water and seek medical assistance.
- Choking hazard! Keep batteries out of the reach of children. Seek medical attention immediately if swallowed.
- Never allow children to replace batteries without adult supervision.
- Store batteries away from metal objects in a well-ventilated, dry and cool place.
- Never expose batteries to direct sunlight or rain.
- Remove batteries from the device if it is not used for a long period of time.
- Dispose of discharged batteries immediately and properly. Never dispose of batteries in a fire.
- When disposing of batteries, keep batteries with different electrochemical systems separate.
General notes
- Please note that measuring tolerances are possible for technical reasons, as this scale is not calibrated for use in a professional medical context.
- The scale’s maximum capacity is 150 kg (330 lb / 24 st). The measurements are displayed in 100-g intervals (0.2 lb).
- When supplied to the customer, the scale is set to weigh and measure in “kg” and “cm”.
- Place the scale on an even, hard surface; a hard surface is crucial for achieving accurate measurements.
- Repairs may only be carried out by Beurer Customer Services or authorized retailers. Before submitting a complaint, please check the batteries first and replace them if necessary.

Storage and maintenance
The accuracy of the measurements and service life of the device depend on its careful handling:
Important
- The device should be cleaned from time to time. Do not use any abrasive cleaning products and never submerge the device in water.
- Make sure that no liquids come into contact with the scale. Never submerge the scale in water.
- Never rinse it in running water.
- Do not place any objects on the scale when it is not in use.
- Do not press the button violently or with pointed objects.
- Do not expose the scale to high temperatures or strong electromagnetic fields (e.g. mobile telephones).
- Protect the device from knocks, damp, dust, chemicals, marked temperature fluctuations and nearby sources of heat (ovens, heaters).
General tips
- As far as possible, weigh yourself at the same time of day (ideally in the morning), after having been\ to the toilet, on an empty stomach and without clothing, in order to obtain results which can be compared.
- Stand up straight and still during the measurement.
Voice function
The device has 5 language settings
German (DE), English (EN), French (FR), Spanish (ES) and Russian (RU) The device is set to German when supplied to the customer. To change the language, switch the scale on as described in the “4.2 Measuring weight” chapter and wait until “0.0” is shown on the display. Now press the middle button, “Language”, on the back of the scale, until the desired language is announced.
Volume control
- You can adjust the volume of the language function as you wish, or switch it off by repeatedly pressing the ” +/-” button on the back of the scale.
Note Language off (no beep) means that voice output is not selected and the measurement value will not be announced.
Use
Batteries
If present, pull the battery insulating strip off the battery compartment cover or remove the battery’s protective film and insert the battery according to the polarity. If the scale fails to operate, remove the battery completely and insert it again. Your scale is equipped with a “replace battery” indicator. When the scale is operated with a battery that is too weak, “Lo” appears in the display field and the scale automatically switches off.
| Display | DE | EN | FR | ES | RU |
| Lo | Batterie schwach | Battery weak | Batterie faible | Pila débil | Слабый заряд батарейки |
The battery must be replaced in this case (3 x AAA 1,5V).
Place the scale on a firm, flat surface; a firm floor covering is a basic requirement for correct weight measurement.
When supplied to the customer, the scales are set to weigh in “kg”. To the rear of the scales, there is a button „kg/lb/st” which you can use to change to ‘pounds’ and ‘stones’ when the scale is in
Measuring weight
Place the scale on a firm-level floor (no carpet); a firm floor covering is required for correct measurement.
Step onto the scale. Stand still with your weight distributed equally on both feet.
The entire display (Fig. 1) appears up to “0.0”(Fig. 2) as a self-test (tap-on technology).
| Display | DE | EN | FR | ES | RU |
| 8888 | Beep | Beep | Beep | Beep | Звуковой сигнал |
Now the scale is ready to measure your weight.
| Display | DE | EN | FR | ES | RU |
| 0.0 | Das Gerät ist betriebs- bereit | The device is ready for use | L’appareil est prêt à fonc- tionner | El aparato está preparado para el servicio. | Прибор готов к работе |
Now step onto the scale. Stand still on the scale with your weight distributed evenly between both legs. The scale immediately begins to measure your weight. After flashing twice the final measurement result appears on the display. (Fig. 3)
There is also an acoustic output. The scale switches off 10 seconds after you step down from it. The measuring result remains visible during this time.
If the scale detects an error during weighing, “—-” or “ ” appears in the display (Fig. 4+5).
| Display | DE | EN | FR | ES | RU |
| Fehler | Error | Erreur | Error | Неисправность |
The new measurement is automatically saved in the selected storage location.
Tip: Another storage location can be only selected when “0.0” appears on the display.
Cleaning and maintenance
The device should be cleaned from time to time.
This should be done using a damp cloth and, if necessary, a small amount of detergent.
Important
- Never use abrasive solvents or cleaning products!
- Never submerge the device in the water!
- Do not clean the device in a dishwasher!
What if there are problems?
If the scale identifies an error during measurement, ” “, ” ” or ” ” is displayed.
If you stand on the scale before the display shows “0.0”, the scale will not function correctly.
| Possible error causes: | Solution: |
| – The maximum weight capacity of 150 kg has been exceeded. | – Only weigh up to the maximum permissible weight. |
| – Scale is on a carpet. | – Place the scale on a flat, solid surface. |
| – The scale cannot determine a weight. | – Stand still with your weight distributed equally on both feet. |
Disposal
Empty, completely flat batteries must be disposed of through specially designated collection boxes, recycling points, or electronics retailers. You are legally required to dispose of the batteries. The codes below are printed on batteries containing harmful substances:
- Pb = Battery contains lead
- Cd = Battery contains cadmium
- Hg = Battery contains mercury
For environmental reasons, do not dispose of the device in the household waste at the end of its service life. Dispose of the device at a suitable local collection or recycling point in your country.
Dispose of the device in accordance with EC Directive – WEEE (Waste Electrical and Electronic Equipment). If you have any questions, please contact the local authorities responsible for waste disposal.
Technical specifications
| Model: | GS 39 |
| Dimensions: | 340 mm x 350 mm x 23 mm |
| Weight: | Approx. 1950 g |
| Measurement range: | 3-150 kg |
| Graduation: | 100 g |
| Battery: | 3 x 1.5V AAA (LR03) |
| Scale interval d: | The display can be read in increments of 0.1 kg. |
| Repetition accuracy: | The measuring tolerance for repeated measurements is +/- 0.4 kg (several measurements in direct succession on the same scale with the position of scale and person the same as far as possible). |
| Absolute precision: | In comparison with a calibrated weight, the measured value is +/-1% +0.1 kg. E.g. at 40 kg this corresponds to +/- 0.5 kg; at 100 kg this corresponds to +/-1.1 kg. |
Warranty / Service
Further information on the warranty and warranty conditions can be found in the warranty leaflet supplied.































