taurus 990551 Bathroom Scale Digital Glass

Dear customer,
Thank you for choosing to purchase a Mellerware brand product. Thanks to its technology, design and operation and the fact that it exceeds the strictest quality standards, a fully satisfactory use and long product life can be assured.
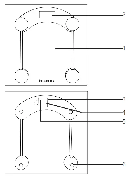
Parts Description
- Safety glass platform
- LCD Display
- Battery compartment
- Battery compartment cover
- Weight unit selector lever (kg/lb) (Inside battery compartment)
- Non slip foot / Sensor

Safety Advice And Warnings!
Read these instructions carefully before switching on the appliance and keep them for future reference. Failure to follow and observe these instructions could lead to an accident. Clean all the parts of the product that will be in contact with food, as indicated in the cleaning section, before use.
Working environment
Place the appliance on a horizontal, hard, rigid, flat, stable surface that is free from vibrations.
Avoid any contact of the weighing area with objects not to be weighed. Otherwise, it will not show the right weight.
Personal safety:
Do not use the appliance with wet feet.
Always use the appliance with bare feet -remove any socks or shoes
Use and care:
Do not move the appliance while in use.
Do not overload the appliance’s weight capacity.
Remove the batteries from the appliance if you are not going to use it for a while.
This appliance is not for professional or industrial or medical/hospital use, it is intended for household use only.
Children should be supervised to ensure that they do not play with the appliance.
This appliance is not intended for use by persons (including children) with reduced physical, sensory or mental capabilities, or lack of experience and knowledge, unless they have been given supervision or instruction concerning use of the appliance by a person responsible for their safety.
This appliance should be stored out of reach of children and/or the disabled.
Do not store the appliance in a vertical position.
CAUTION: Do not use the appliance if the
glass is cracked or broken. 2.3.10. Any misuse or failure to follow the instructions for use renders the guarantee and the manufacturer’s liability null and void.
Assembling the battery/s
Caution:
During the handling of batteries, do not touch both poles at the same time, as this will provoke the partial discharge of the stocked energy therefore affecting longevity.
Remove the cover of the battery compartment.
Check that the plastic covering that protects the battery has been removed (some batteries are sold with a protective covering)
Put the battery in its compartment, ensuring that the positive and negative poles are alligned with the symbols on the scale. Caution: During the handling of batteries, do not touch both poles at the same time, as this will provoke the partial discharge of the stocked energy therefore affecting longevity.
Replace the cover of the battery compartment.
It is essential that the batteries should always be the same kind and the same charge. Never mix alkaline batteries with standard one (Carbon- Zinc) and/or rechargeable ones.
N.B. When changing the batteries, the configuration of the appliance will be removed, and you will need to reset the parameters of the appliance.
Instructions For Use
Before use:
Remove the appliance’s protective film (if applicable).
Before using the product for the first time, clean the parts that will come into contact with your skin in the manner described in the cleaning section.
Use and care:
Remove the battery compartment cover.
Check that the plastic covering that protects the battery has been removed (some batteries are sold with a protective covering) this scale uses a 3V CR2032 lithium battery (included).
Put the battery in its compartment. Insert the Lithium battery (Included).See figure 1 (Note: Make sure battery is pushed all the way into its slot). Also make sure the “+” side of the battery is facing out.
Caution: During the handling of batteries, do not touch both poles at the same time, as this will provoke the partial discharge of the stored energy therefore affecting longevity.
Select the weight unit by either pushing the weight unit selector lever to the far right (lb) or the far left (kg).
Replace the cover ofthe battery compartment.
Place the scale on a hard flat surface. Do not use the scale on a carpet as the reading will be inaccurate. Step on the scale and step off to switch it on. The digit “0.0” will be displayed.
If you step on the scale before “0.0” appears, you will not obtain a reading. If this happens, step off the scale then wait for the display to turn off and follow the above steps again.
To measure your weight, simply stand on the scale with both feet. Be sure to stand erect and remain still. After a few seconds the display will flash your weight and remain locked in for a few seconds. The scale will switch off automatically after a few seconds after use. Please Note: if a weight less than 3KG is placed on the scale, the scale will not activate.
If the scale has not been used for a longtime, proceed as follows:
- First step on the scale to activate.
- Second wait for the scale to turn off. Then you may use the scale normally.
- If the reading appears inaccurate please check if the battery and the contact point is well connected. If scale has not been in use for a long time, replace the battery and try again.

Cleaning And Maintenance
Clean the equipment with a damp cloth with a few drops of washing-up liquid and then dry.
Do not use solvents, or products with an acid or base pH such as bleach, or abrasive products, for cleaning the appliance.
Never submerge the appliance in water or any other liquid or place it under running water.
Anomalies and Repair
Take the appliance to an authorised support centre if product is damaged or other problems arise.
If the connection to the mains has been damaged, it must be replaced and you should proceed as you would in the case of damage. coming from the lid or spout.
Specifications
- Minimum weight capacity: 3Kg
- Maximum weight capacity: 180kg
- Display: 4 digits LCD
- Power: 3V CR2032 lithium battery
- Operating temperature: 5-35 degree Celsius
- Unit: Kg/ lb.
- Automatic shutdown: 8 seconds
- Graduation: 0.1kg/0.2lb
- Low battery indicator: Lo
- Overload indicator oL.
- Error display: Err
Recycling
These electrical products, cables, batteries, packaging, and the manual, should not be mixed with general household waste. For proper recycling, please take these products to your nearest Creative Housewares office where they will be accepted for recycling free of charge.
Alternatively, please contact your local authority or household waste disposal service for further details of your nearest designated collection point. Correct product disposal saves resources and prevents negative effects on human health and the environment.
Warranty
Thank you for purchasing a Taurus product. Taurus guarantees that your product has been thoroughly inspected and tested before being dispatched and is free from mechanical and electrical defects and complies with the applicable safety standards. With every Taurus product purchased you get a 2 year warranty as detailed in the terms and conditions below.
First Year – 1 Year Retail Warranty:
Should defects due to faulty parts or workmanship develop, under normal domestic use, within 12 months from the original date of purchase please return the product to the store from where it was purchased for a refund or replacement.
Second Year – 1 Year Extended Warranty
Taurus takes pride in their product quality and therefore offer an extended 12 month warranty over and above the 1 Year Retail Warranty. Should defects due to faulty material or workmanship develop, under normal domestic use, after the 12 month period and within 24 months from the original date of purchase, please return the product postage pre-paid to Taurus for repair. Taurus will repair the product free of charge and return it to you directly. Taurus will replace a product with a similar product in the same or better condition, if the repair cannot be conducted for whatever reason. NB: The 1 Year Extended Warranty is only valid for customers who have registered their warranty online at www.taurusappliances.co.za within the first year after making their purchase. See overleaf for details and instructions.
Before returning your product, check the following:
- Your household mains supply socket is in good condition, working and switched on.
- The mains supply circuit is not overloaded (White trip switch on your DB board is off).
- You have read the trouble shooting guide in your Instructions for Use.
- All accessories and parts are present
The following conditions apply:
- Please ensure you retain your receipt as this must be presented when making a claim under the terms of the guarantee. It is impossible to determine the guarantee period without proof of purchase, so please keep this in a safe place. (NB. Your guarantee can be scanned onto the Taurus web site for safe storage – see reverse side for details.)
- If a refund or exchange is required the product must be complete with all accessories, parts and packaging. Missing parts will render the guarantee void.
- Upon receipt of your appliance, check it for any transport damage to ensure it is safe for use. Return it to the store as soon as possible for exchange if damaged. The guarantee is void if products are damaged after use, so please do not use the damaged product.
- Your product is designed for normal domestic household use. Failure to read and comply with the instructions for use, cleaning and maintenance will render your guarantee void, so please read these instructions carefully to ensure your safety, and to get the most effective use from the product. (e.g. not removing lime scale; water deposits; insect infestation, and/or burnt products)
- Any abuse, negligent, improper or accidental use or care will render the guarantee void and Creative Housewares (Pty) Ltd will not be liable for any loss or damage.
- Any attempted repair, or replacement of unauthorised parts will render the guarantee void, so please contact an authorised service centre or service agent for any service or repair requirements.
- NB: The guarantee on replaced products will be from the original date of purchase and not from when the date replacement was made.
- All repairs carry a 3 month guarantee even if this falls outside of the 2 year guarantee period.
- Taurus will attempt to conduct repairs within reasonable time in line with industry standards but cannot be held responsible or liable for any circumstances not under our control.
Repairs Out of the Warranty Period
If service or repair becomes necessary outside the warranty period, this service is still available however all transport/postage, spares and labour costs will be for the customers’ account. All chargeable repairs will require the customers’ written acceptance of the quote. Once the go-ahead has been received Taurus will undertake to conduct the repair within a reasonable time and maintain the condition of the product as received. All repairs are guaranteed for 3 months from the date of the repair. For any service, enquiries and complaints please contact our Customer Care on 086 111 5006 or e-mail help@ creativehousewares.co.za from 08h00 to 15h00 Monday to Friday excluding public holidays. Please also note that the company is normally closed for 2 weeks around Christmas and New Year.
Please send all products for repair postage pre-paid to one of the service centres listed on the back of this page.
ONLINE WARRANTY REGISTRATION
Why register your warranty?
We at Taurus pride ourselves on bringing premium quality appliances to market, and as a commitment to this level of quality we offer a 2 year warranty (1 Year Retail + 1 Year Extended) on all of our products. We often hear that our customers lose their receipts and can therefore no longer claim if they have a problem. To take advantage of the 1 Year Extended Warranty you will need to register your warranty online within the first year of purchase in order to make a valid claim. Now you can register your product, upload your warranty online, never have to worry about losing your receipt again and enjoy the benefit of your 2 year warranty.
Added Benefits
In addition to providing you with an online profile of your registered products we will also provide a host of value added benefits:
- Incentives and Competitions for registered users
- New recipes or ideas for your products
- New product developments – be the first to get the latest appliances
- Special offers on promotional items
How to Register your Online Warranty?
STEP1 Create your user profile
If you haven’t done so already, simply visit www.taurusappliances.co.za, click on the “Product Registration” link and follow the easy instructions. You will receive a username and password once registered. This will give you access to your user profile.
STEP2 Pick a registration method
DESKTOP/ LAPTOP
- Open your internet browser and visit www.taurusappliances.co.za
- Click on the “Registration” link and login using your user name and password.
- Click on “Register your products and upload receipts” and follow the easy instructions.
- Scan and upload your receipt
SMART PHONE/ TABLET
- Scan the QR code above or visit www.taurusappliances.co.za
- Click on the “Registration” link and login using your user name and password.
- Click on “Register your products and upload receipts” and follow the easy instructions.
- Scan or take a photo and upload your receipt.
FAX
- Fax the following to 021 931 4058
- First Name and Surname
- Contact telephone and fax number.
- Product Model number and Type.
- Traceability Code (found on the Warranty Card or on a label on the product)
- A clear and legible copy of your receipt.
Notes
- The online warranty system is a safe storage facility for your receipt.
- You will be required to register on the Taurus website. You will receive a username and password once registered. This will give you access to your profile.
- From your profile you will be able to load products that you have purchased. In order to successfully register your warranty you will need to either scan and upload, or fax through your receipt to us.
- All instructions on how to load your products are available inside your profile.
- Please note that you must check that your receipt has been uploaded correctly. Creative Housewares cannot be held responsible for faxes or files not received.
- For assistance with registration please email: [email protected].
NB: Your 1 year extended warranty is only valid if your product is registered online within the first year after purchasing your Taurus product. Failure to register your product on-line within the first year will render the extended warranty as void.






















