Nord Essential Medical Bed
Owner’s Manual
Invacare® NordBedTM Essential
Bed Service Manual
PROVIDER: Keep this manual.
The procedures in this manual MUST be performed by a qualified technician.
©2022 Invacare Corporation All rights reserved. Republication, duplication or modification in whole or in part is prohibited without prior written permission from Invacare. Trademarks are identified by TM and ®. All trademarks are owned by or licensed to Invacare Corporation or its subsidiaries unless otherwise noted.
General
1.1 Introduction
This document contains important information about assembly, adjustment, and advanced maintenance of the product. To ensure safety when handling the product, read this document and the user manual carefully and follow the safety instructions.
Find the user manual on Invacare’s website or contact your Invacare representative. See addresses at the end of this document.
Invacare reserves the right to alter product specifications without further notice.
Before reading this document, make sure you have the latest version. You find the latest version as a PDF on the Invacare website.
For pre-sale and user information, see the user manual.
For more information about the product, for example, product safety notices and product recalls, contact your Invacare representative. See addresses at the end of this document.
1.2 Symbols in this Document
Symbols and signal words are used in this document and apply to hazards or unsafe practices which could result in personal injury or property damage. See the information below for definitions of the signal words.
WARNING Indicates a hazardous situation that could result in serious injury or death if it is not avoided.
CAUTION Indicates a hazardous situation that could result in minor or slight injury if it is not avoided.
IMPORTANT Indicates a hazardous situation that could result in damage to property if it is not avoided.
Tips and Recommendations Give useful tips, recommendations, and information for efficient, trouble-free use.
Safety
2.1 General Safety Information
W ARNING! Risk of injury or damage to property
- The procedures in this manual must only be performed by a qualified technician.
- Use only original accessories and spare parts.
- Do not handle this product or any available optional equipment without first completely reading and understanding these instructions and any additional instructional material such as user manuals, installation manuals, or instruction sheets supplied with this product or optional equipment.
- After each assembly, check that all fittings are properly tightened and that all parts have the correct function.
WARNING! Risk of contamination Clean and disinfect the product before servicing.
IMPORTANT! Assembly of accessories might not be described in this service manual. Refer to the manual, delivered with the accessory. Additional manuals can be ordered from Invacare. See addresses at the end of this document. Due to regional differences, refer to your local Invacare catalog or website for available accessories or contact your local Invacare representative. See addresses at the end of this document.
IMPORTANT! Some replacement parts are only available as a kit. Always use the complete new kit when replacing a part. Spare parts can be ordered from Invacare. Refer to your local Invacare website to access the electronic spare parts catalog (ESPC).
IMPORTANT! Refer to the user manual of this product for information on Technical data Product components Labels Additional safety instructions The information contained in this document is subject to change without notice.
2.2 Main parts of the bed
Parts of standard bed:
| A Back section B Thigh section C Leg section D Mattress retainer E Mattress support extension F Castor with brake G Height adjustment actuator, the upper half H Back section actuator | I Control unit J Height adjustment actuator, the lower half K Thigh and leg section actuator L Mattress support platform, the upper half M Mattress support platform, the lower half N Lifting mechanism, the upper half O Lifting mechanism, the lower half P Base frame |
Setup
3.1 General safety information
WARNING! Risk of injury or damage Damaged parts may affect the safety of the product. Check all parts for shipping damage before use. In case of damage, do not use the product and contact your Invacare provider for further instructions.
3.2 Installing bed ends
3.2.1 Bed ends for Sanne-bracket
CAUTION! Risk of squeezing
If the bed end is not correctly locked it can fall down and cause injury to the user.
– Make sure the locking pins are engaged.
Mounting
- Pull out the locking pin and rotate by 90 degrees to disengage from the bed end on both sides.

- Align the slots in the bed end with the tabs on the Sanne bracket and place the bed end onto the tabs.
- Push down firmly and ensure that the bed end is fully seated in the tabs.
Rotate the locking pin and allow it to engage with the bed end on both sides.
Dismounting
- Pull out the locking pin and rotate by 90 degrees to disengage from the bed end on both sides.
- Hold the bed end firmly on each side and pull up vertically on both sides at the same time.
3.2.2 Bed ends for Quick-bracket
Mounting 
- Align the slots on the bed end with the tabs on the Quick bracket and lower the bed end onto the brackets.

- Press down firmly and ensure the bed end is fully seated on the brackets.
Dismounting
- Hold the bed end firmly on each side and pull up vertically on both sides at the same time.
3.2.3 Bed end brackets
Depending on the bed end to be mounted, it might be required to pre-mount or change the bed end brackets.
Mounting
- Insert the bed end brackets into the side tubes of the mattress support platform.
- Fix the bed end brackets on the side tubes with the screws from below and tighten firmly.
Dismounting
- Remove the screws and pull the bed end brackets out of the side tubes.
3.3 Mattress support extension
For patients, taller than 185 – 190 cm it is recommended to extend the mattress support of the bed.
WARNING! Risk of injury
The user gets trapped or suffocated.
- Always extend the mattress when extending the bed.
- There must be a distance of more than 2,5 cm, between the bed end and the mattress bow, to avoid entrapment of fingers.
- Always make sure to tighten the screws for the mattress support extension.
The bed can be extended by 10 cm in the foot end of the bed.
A separate accessory kit is required to extend the bed by 20 cm in the foot end.
- If applicable, dismount the side rails, bed ends and lifting pole.
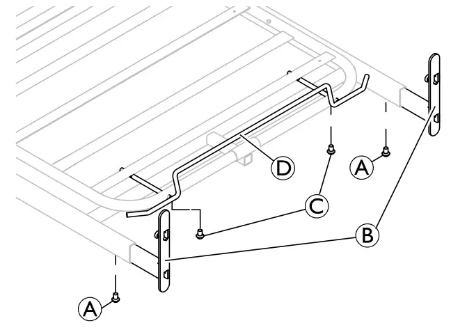
a. Loosen the screws A underneath the side tubes.
b. Pull out the bed end brackets B by 10 cm and re-tighten both screws A.
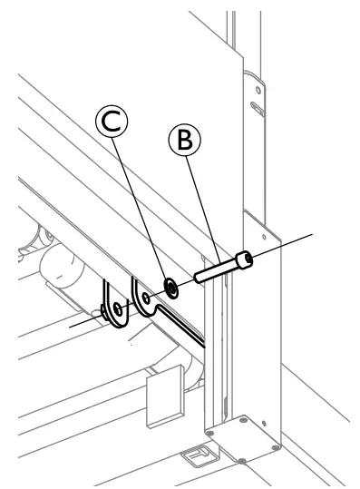
c. Loosen the screws C on the mattress bow D and pull it out to match the extension.
d. Make sure there is at least 2,5 cm between the mattress bow and the bed end and re-tighten both screws C.- Replace the mattress or put it in a fitting mattress piece.
- If applicable, mount the side rails, bed ends, and lifting pole.
Loose mattress pieces should always be fitted in the head end of the bed.
Accessories
4.1 Side Rails
4.1.1 Installing side rails
WARNING! Risk of personal damage
There is a risk of entrapment or squeezing while assembling or disassembling the side rail.
- Pay attention to your fingers.
- Follow instructions carefully.
- After each assembly, check that all fittings are properly tightened and that the side rail has the correct function.
Removable 3/4 length side rails
WARNING! Risk of entrapment
There’s a risk of entrapment or suffocation between mattress support, side rail and bed end. When using removable side rails, always make sure that the distance between the bed end and the side rail’s handle upper edge is less than 6 cm in the head end and more than 32 cm in the foot end of the bed.
4.1.2 Installing the Freya / Embla side rail
WARNING! Risk of entrapment/suffocation
The user can get trapped or fall out of the bed if the side rail is not correctly mounted or damaged.
- Make sure that all gliding shoes are correctly guided into the bed end guideways.
- Make sure that all side rail bars are above the locking pin and properly locked.
- Make sure that the straps between the bars are not damaged or loose.
Mounting
- Lift the upper bar in one end of the side rail. The release buttons C must face up/outwards.
- Press in the locking pin A in the end of the side rail.
- Guide the three gliding shoes B (in the end of the side rail bars) up into the bed end guideways, until they have all passed the locking pin D.
- Repeat steps 2 and 3 to mount the other side of the side rail.
Dismounting
- Lower the side rail.
- Lift the lower bar, in one end, to make the locking pin D visible and press it in with a pointed object (e.g. a pencil).
- Lower all three bars, until they are out of the guideways.
- Repeat steps 2 to 3 to dismount the other end of the side rail.
4.1.3 Installing the Ane side rail
Mounting 
- Place the mounting clamps of the side rail over square tube A, with the release system B at the head end of the bed. 2.

- Tighten the finger screws C to attach the side rail on square tube A and make sure it is steady and fastened.
Dismounting
- Loosen the finger screws C and remove the side rail.
4.1.4 Installing the Torill side rail
WARNING! Risk of entrapment/suffocation
There’s a risk of entrapment or suffocation between the side rail and the bed end.
- Never install the short and long versions of the side rail on the same bed. One side rail per side of the bed
- Always make sure that the side rail is mounted close to the head end of the bed and the distance between the bed end and the side rails top bar is more than 3 cm and less than 6 cm.
- Two side rails per side of the bed
- Always make sure that one side rail is mounted close to the head end and the other close to the foot end of the bed.
- Always make sure that the distance between the bed ends and the side rails’ top bar is more than 3 cm and less than 6 cm.
- For long side rails, additionally, make sure that the middle gap between the two side rails’ top bars is less than 6 cm.
Mounting
Depending on the individual need of the end-user only one or two side rails of the same length can be mounted on each side of the bed.
The installation of the long and the short version of the Torill side rail is similar.
- Raise the side rail to its high position and remove the two bolts and washers on the brackets.
- Place both brackets of the side rail on the side tube of the mattress support platform.

- Position the side rail with a distance of 36 cm between the top bar and the bed end.
- Insert bolt B with washer C underneath the side tube of the mattress support platform and firmly tighten with a 6 mm Allen key on both brackets of the side rail.

- Repeat the procedure at the head end on the other side of the bed or at the foot end on the same side of the bed, depending on the side rail version used, desired configuration, and availability of additional side rails.
Dismount
- Untighten the bolts and remove on both side rail brackets.
- Lift the side rail of the side tube.
4.2 Backup battery
The bed can be equipped with a backup battery. The backup ensures that the bed can be adjusted during a power failure or transport.
Mounting the backup battery
Place the mounting brackets of the backup battery over the square tube at the foot end of the base frame.- Fix the backup battery by tightening the two-finger screws.
- On the control unit turn the lock 90 degrees counter-clockwise to open the lid and remove it.
- Connect the cable from the backup battery to the control unit in the socket labeled with the battery symbol.
- Put the lid back on the control unit and close it by turning the lock 90 degrees clockwise.
Charging the batteries
WARNING! Risk of explosion
Old or faulty batteries may generate an explosive gas mixture during charging.
The battery box is provided with vents to ensure adequate ventilation of the box. Do not block or cover the vents, as this may result in pressure built-up and the risk of explosion.
1. Connect the control unit to the mains.
· The control unit must be connected to the mains for 24 hours prior to first use.
· Batteries must be charged, at least, every 6 months for maintenance purposes.
Preventive maintenance
Frequent, sudden discharges reduce the lifetime of the battery.
We recommend the batteries be tested at least once a year. Batteries are not damaged by continuous connection to the mains.
Exchanging the batteries
WARNING! Environmental Hazard
Disposal of batteries.
This product may contain substances that could be harmful to the environment if disposed of in places (landfills) that are not appropriate according to legislation.
- DO NOT dispose of batteries in normal household waste.
- Batteries MUST be taken to a proper disposal site.
- The return is required by law and free of charge.
- Do only dispose of discharged batteries.
- Cover terminals of lithium batteries prior to disposal.
- For information on the battery, type see battery label or technical data.
- Batteries have to be exchanged after 4 years. Depending on how the backup is used the exchange may have to take place earlier.
- Batteries must be exchanged for assets.
- Batteries must be replaced with batteries of the same type or mechanically and electrically compatible batteries. See technical data.
- Batteries, in a set, must have identical production codes.
Prior to insertion make sure that the battery set is correctly connected according to the drawing (in the battery box), and that none of the connections are loose.
Technical data
- Battery type: Lead-acid
- Capacity: 1.2 Ah
- Input voltage: 2945 V DC
- Output voltage: 24 V DC, 1.2 A
Servicing
5.1 General servicing information
IMPORTANT! The mattress support must be supported during service inspections, to prevent accidental lowering. Only personnel who have received the necessary instructions or training may perform service and maintenance of the bed. After reconditioning the bed, or if bed functions change, service must be carried out according to the checklist.
A service contract can be made in the countries, where Invacare has its own sales company. In certain countries, Invacare offers courses in service and maintenance of the bed. Spare parts lists and additional user manuals are available from Invacare.
Before Use
- Ensure that all manual and electrical parts function correctly and are in a secure state.
- Check, by raising and lowering the bed, that the shear arms run smoothly in the guideways.
After three months
- Ensure that all manual and electrical parts are functioning, and tighten bolts, screws, nuts, etc.
Every year
- We recommend a safety test comprising the actuators’ performance and mechanical state.
Every second year
- We strongly recommend a service according to the below checklist after two years of normal use and then every second year.
Actuators, hand control, and control unit are serviced by exchanging the faulty part.
5.1.1 Checklist – Maintenance
Checkpoints
- Circlips, cotter pins, and plastic fixing ring – properly locked and intact.
- Screws – tightened.
- Weldings – intact.
- Check the guideways – no bending.
- Side rail locking and moving system – properly locking and running smoothly.
- Castor fittings – tightened.
- Castor brakes – locking properly.
- Height adjustment actuators – running properly.
- Mattress support section actuators – running properly.
- Cables – correctly wired and undamaged.
- Electric plugs – undamaged.
- Cable insulation and actuator housings no cracks or damages.
- Damaged coating – repaired.
- Full-length side rails – straps not frayed or cracked.
- Accessories – correctly assembled and correct function.
5.2 Inspection after relocation
– Prepare for new user
IMPORTANT! When the bed has been relocated; before being given to a new user it has to be thoroughly inspected.
Inspection must be done by a trained professional.
For regular maintenance see the maintenance chart.
5.2.1 Checklist – After relocation
Checkpoints
- Check the locking of the actuators (pipe pins correctly mounted).
- Check the electronic wiring for the actuators (cables not squeezed).
- Check that the enclosing of the actuators is intact (no cracks that enable fluids to pierce).
- Check that all actuators have been properly reset and have their full range.
- Check that all cables are properly mounted on the control box.
- Check the sections of the mattress support by using the hand control to activate all functions of the moving parts.
- Check the function of the brakes.
- Check that the bed ends are properly locked (pins all the way in for Sanne brackets or fully seated for the Quick brackets).
- Check the locking function(s) of the side rails.
- Check that all bed slats are intact.
5.3 Cleaning and Disinfection
5.3.1 General safety information
CAUTION! Risk of contamination
Take precautions for yourself and use appropriate protective equipment.
CAUTION! Risk of electric shock and product damage
- Switch off the device and disconnect from the mains, if applicable.
- When cleaning electronic components consider their protection class regarding water ingress.
- Make sure that no water splashes to the plug or the wall outlet.
- Do not touch the power socket with wet hands.
IMPORTANT! Wrong fluids or methods can harm or damage the product.
- All cleaning agents and disinfectants used must be effective, and compatible with one another, and must protect the materials they are used to clean.
- Never use corrosive fluids (alkalines, acid, etc.) or abrasive cleaning agents. We recommend an ordinary household cleaning agent such as dishwashing liquid, if not specified otherwise in the cleaning instructions.
- Never use a solvent (cellulose thinner, acetone, etc.) that changes the structure of the plastic or dissolves the attached labels.
- Always make sure that the product is completely dried before taking into used again.
For cleaning and disinfection in clinical or long-term care environments, follow your in-house procedures.
5.3.2 Cleaning Intervals
IMPORTANT! Regular cleaning and disinfection enhance smooth operation, increase service life, and prevents contamination. Clean and disinfect the product regularly while it is in use, before and after any service procedure, when it has been in contact with anybody’s fluids, before using it for a new user.
5.3.3 Cleaning by Hand
All components (excluding removable textiles)
- Cleaning agent: We recommend using a mild detergent with neutral or near neutral pH (5-9).
Commercially available consumer products like hand dishwashing liquid or all-purpose cleaners can be used. Read the instructions on the label of your cleaning agent and use it at the indicated concentration. - Max. water temperature: 40 °C
- Wipe surfaces thoroughly with a soft cloth slightly moistened with the detergent solution until all visible soil is removed.
- Remove all detergent residue with a clean damp cloth.
- Wipe dry using a clean soft cloth. Removable textiles (including upholstery and mattresses)
· See attached label on each product.
5.3.4 Disinfection Instructions
Information on recommended disinfectants and methods can be found at https://vahonline.de/en/for-users.
In Domestic Care Method:
Follow the application notes for the used disinfectant and wipe-disinfect all accessible surfaces.
Disinfectant: Ordinary household disinfectant.
Drying: Allow the product to air-dry.
In Clinical and Long-Term Care
Follow your in-house disinfection procedures and only use the disinfectants and methods specified therein.
5.3.5 Lubrication
We recommend lubricating the bed according to the following table:
| Part of bed | Lubrication method | |
| A | Hi-Lo actuator (rear attachment) | Grease |
| B | Gliding shoes | Grease |
| C | Lifting arm roll | Grease |
| D | Bearings and rotation points | Oil (medically clean) |
| E | Motor suspension | Oil (medically clean) |
For ordering of correct oil and grease, please contact your Invacare provider.
5.4 Control Unit
The control unit is placed underneath the mattress support platform near the foot end of the bed.
To open the control unit, turn the lock 90 degrees counter-clockwise and remove the lid. 2.
To close the control unit, place the lid and turn the lock 90 degrees clockwise.
The sockets inside the control unit are labeled with symbols, indicating where to connect the respective plugs. Additionally, the sockets for the actuators are labeled with colors matching the color coding on the actuator cables.
- A Hand Control
- B Backup battery (optional)
- C not in use (covered with a blind plug)
- D Height adjustment actuator, the lower half
- E Mains power cable
- F Height adjustment actuator, the upper half
- G Tight section actuator
- H Back section actuator
IMPORTANT! For beds with the Trendelenburg and/ or the Anti-Trendelenburg function ALWAYS power off the control unit before replacing the hand control with a different model.
5.5 Wiring
IMPORTANT!
Ensure the cables are mounted and routed correctly Make sure cables do not touch the floor and cannot block the castors. Make sure cables cannot get squeezed by moving parts during operation. For the correct routing of the cables between the actuators and the control unit see the following pictures.
5.6 Resetting the System
Only for beds with Trendelenburg and/or Anti-Trendelenburg function
If a height adjustment actuator is newly connected or reconnected to the control unit, the system needs to be reset to ensure proper function.
To reset the system with the hand control:
- Insert the magnetic key A in the slot on the side of the hand control.
- Press and hold buttons B and C for 3 seconds to initiate the system reset and hold the buttons pressed until the following sequence is complete:
a. The height adjustment actuators move to their maximum position (bed in highest position).
b. All actuators of the mattress support sections move to their minimum position (mattress support completely flat)
c. The height adjustment actuators move to their minimum position (bed in lowest position).
Ireland:
Invacare Ireland Ltd,
Unit 5 Seatown Business Campus Seatown Road
Swords, County Dublin EirCode: K67 K271 — Ireland
Tel : (353) 1 810 7084
Fax: (353) 1 810 7085
[email protected]
www.invacare.ie
United Kingdom:
Invacare Limited Pencoed Technology Park, Pencoed
Bridgend CF35 5AQ
Tel: (44) (0) 1656 776 222
Fax: (44) (0) 1656 776 220
[email protected]
www.invacare.co.uk

Invacare Rea AB
Växjövägen 303 SE-343 71 Diö Sweden
1657008-B 2022-03-11 *1657008B*
Making Life’s Experiences Possible®

Rotate the locking pin and allow it to engage with the bed end on both sides.
a. Loosen the screws A underneath the side tubes.


Place the mounting brackets of the backup battery over the square tube at the foot end of the base frame.


















