Presence Smart Outdoor Camera
User Guide
Pack content:

(A) 1 Presence camera.
(B) 1 mounting strap and green screws.
(C) 1 mounting holder and its black screw.
(D) 1 Allen key.
(E) 6 mounting screws (3 sizes).
(F) 2 wall screws and 2 anchors.
(G) 1 protectiveenvelope.
(H) 1 User Guide.
(I) 1 QR code card.
Required Tools (not included):
- Phillips and slotted screwdrivers.
- Step ladder.
- Drill – Ø6mm (only required if there is no junction box where the product is installed).
- A caulking gun and Silicone sealant (recommended tool).
- Level (recommended tool).
For optimal performance install Presence at a height between 2.5 and 4 meters (8 and 14 ft.) with a tilt angle of around 30°.
Guided installation video available at: https://www.netatmo.com/presence-installation
Read carefully the safety information on page 48 before proceeding to the installation.
Pick a spot on the wall to install Presence.
Check with your smartphone that you have Wi-Fi reception at the spot you chose.
If you do not, try to move your Wi-Fi router closer.
Caution: electrical danger.
Disconnect power at the fuse or circuit breaker before proceeding to the installation.
Prepare the installation.
If you are replacing an old light fixture, disassemble the light fixture.
If there is a junction box behind it, go to step (3A).
If there is no junction box behind it or if you run a new wire to power Presence, go to step (3B).
3A. Secure the mounting strap to the junction box.
Fasten the mounting strap (B) to your junction box. Make sure that the UP sign is at the top.
You can use the screws provided (E).
Skip (3B) and go directly to step (4).
3B. Secure the mounting strap to the wall.
Drill two holes above and to the left of the power cable and secure the mounting strap as shown in the picture.
You can use the screws and anchors provided (F) or others that are better suited for your wall.
Make sure that the UP sign is at the top.
Hang the camera with the wire tie.

Carefully hang the camera with the wire tie from the green screw.
Put the camera in the protective envelope (G) to avoid any damage.
Connect the wires.
Use the wire terminal behind the plate.
Blue/White (NEUTRAL) supply wire to Blue wire
Brown/Black (HOT) supply wire to Brown wire
Yellow and Green (GROUND) supply wire to Yellow and Green wire Make sure the ground (GND) wire from the wire terminal is also screwed to the mounting strap (B) with the second green screw.
Secure the plate on the mounting strap.
Align the central holes of the wall plate with those of the mounting strap and pass the green screw through one of the holes of the “U” shaped guide.
Then turn the plate horizontally (use a level if needed) and fasten the green screw tight.
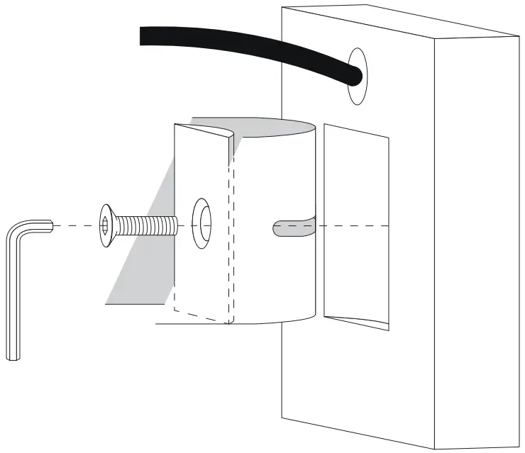
Secure the camera to the plate.
Use the provided mounting holder and black screw (C) to secure the camera to the mounting strap and plate.
You can now cut and remove the wire tie and the protective envelope.
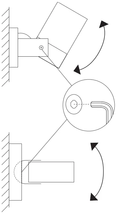
Tilt the camera to record video from the correct angle.
Use the Allen key (D) to untighten the screws on the side or the back to tilt the camera.
Make sure to secure them properly afterward
The screws on both sides must be tight for the camera to be securely installed.
Reconnect the power.
The presence will start for the first time and the floodlight will turn on. This can take up to a minute.
If the floodlight does not turn on, go to page 34 for troubleshooting advice.
Protect the wiring.
We recommend that you caulk the mounting surface on the top and sides of the plate with silicone weather sealant.
Leave the bottom unsealed so moisture can drain out.
Download the app.
To set up Presence from your smartphone or tablet, go to: https://presence.netatmo.com
Presence cannot be set up from a computer.
Apple home-Kit
Your Presence camera is compatible with Apple HomeKit. You will need to scan the code in the provided card, “Homekit setup code”, during the setup of Apple HomeKit through the App.
The code is unique and cannot be generated again. Keep it in a safe place.
Do not throw the code card away.
Setup card
![]() | ![]() |
| During the product setup, show this black QR code to the camera only when required by the App. Until the floodlight starts to blink. | To perform a factory reset, show this red QR code to the camera. The floodlight will make five fast blinks twice to confirm the operation. All the data and configuration will be lost. |
![]() ![]() | ![]() Do not throw it away. |
This card contains unique configuration codes.
You will need them to reconfigure your Presence camera. Keep the card in a safe place. Do not throw it away.
A. SETUP QR code (black): During the product setup or Wi-Fi configuration, show the black QR code to the camera only when required by the App. Until the floodlight starts to blink.
B. RESET QR code (red): To perform a factory reset, show the red QR code to the camera. The floodlight will make five fast blinks twice to confirm the operation. All the data and configuration will be lost.
When showing a QR code to Presence, keep it at a distance of 30 cm / 1 ft. Make sure there is enough ambient light for the camera to read the code. It may not work at night.
Installation troubleshooting.
| Problem | Possible causes | Solutions |
| The floodlight does not turn on (Presence does not start). | The fuse is blown or the circuit breaker is turned o! | Replace the fuse or turn the circuit breaker on. |
| The switch that controls old light fixture is o! | Turn the old switch on and keep it on at all times. Presence needs to be permanently powered. | |
| Incorrect circuit wiring. | (Go back to step 5). | |
| The fuse blows or the circuit breaker trips when the light is turned on. | Crossed wires or power wire is grounded out. | (Go back to step 5). |
For further help please check the FAQ section on the app or go to http://support.netatmo.com.
Need to replace the microSD card? Learn more about it at: https://www.netatmo.com/change-sd-card.
IMPORTANT: Safety information
- Class I electrical appliance: use only on 100-240 V AC 50-60Hz.
- Risk of electric shock or fire. Good knowledge of electrical systems is required. If not qualified, do not attempt to install it. Contact a qualified electrician.
- Disconnect power at the fuse or circuit breaker before installing or servicing.
- No user-serviceable parts inside. To avoid electrical shock, do not disassemble the product.
- To prevent wiring damage or abrasion, do not expose wiring to sharp objects such as the edges of metal sheets.
- Assistance may be required to support the product during installation.
- Handle the product with care during the installation. Sharp edges could hurt you or damage the walls. The front glass could break if hit. Broken glass should be replaced.
- Keep a minimum distance of 1 meter (3.3 feet) between the light and your eyes or any surface in front.
FCC Statement
This equipment has been tested and found to comply with the limits for a Class B digital device, pursuant to part 15 of the FCC rules.
These limits are designed to provide reasonable protection against harmful interference in a residential installation. This equipment generates, uses, and can radiate radio frequency energy and, if not installed and used in accordance with the instructions, may cause harmful interference to radio communications. However, there is no guarantee that interference will not occur in a particular installation.
If this equipment does cause harmful interference to radio or television reception, which can be determined by turning the equipment o! and on, the user is encouraged to try to correct the interference by one or more of the following measures:
- Reorient or relocate the receiving antenna.
- Increase the separation between the equipment and the receiver.
- Connect the equipment to an outlet on a circuit different from that to which the receiver is connected.
- Consult the dealer or an experienced radio/TV technician for help.
Should you need further certification information (FCC ID, IC) please open the cover at the bottom of the product by pulling back the strip with your nails.
FCC Radiation Exposure Statement
This equipment complies with FCC RF radiation exposure limits set forth for an uncontrolled environment. This transmitter should be installed and operated with a minimum distance of 20 centimeters between the radiator and your body and must not be co-located or operating in conjunction with any other antenna or transmitter. This equipment complies with Part 15 of the FCC Rules.
Operation is subject to the following two conditions:
- This device may not cause harmful interference, and
- This device must accept any interference received, including interference that may cause undesired operation.
Caution!
Any changes or modifications to this unit not expressly approved by the party responsible for compliance could void the user’s authority to operate the equipment.
Legal notice
“Made for iPod”, “Made for iPhone”, and “Made for iPad” mean that an electronic accessory has been designed to connect specifically to iPod, iPhone, and iPad and has been certified by the developer to meet Apple performance standards. Apple is not responsible for the operation of this device or its compliance with safety and regulatory standards. Please note that the use of this accessory with an iPhone may affect wireless performance.
Safety warnings
This device is not intended for use by persons (including children) with reduced physical, sensory or mental capabilities, or lack of experience and knowledge unless they have been given supervision or instruction concerning the use of the appliance by a person responsible for their safety. Children should be supervised to ensure that they do not play with the appliance.
Canadian Compliance Statement
This device complies with Industry Canada license-exempt RSS standard(s). Operation is subject to the following two conditions:
(1) this device may not cause interference, and (2) this device must accept any interference, including interference that may cause undesired operation of the device. This device and its antenna(s) must not be co-located or operating in conjunction with any other antenna or transmitter.
Taiwan Wireless Statements
Use of the Works with Apple HomeKit logo means that an electronic accessory has been designed to connect specifically to iPod touch, iPhone, or iPad, respectively, and has been certified by the developer to meet Apple performance standards. Apple is not responsible for the operation of this device or its compliance with safety and regulatory standards.
Controlling this HomeKit-enabled accessory automatically and away from home requires an Apple TV with tvOS 10. x or later or an iPad with iOS 10. x or later set up as a home hub.
Apple and the Apple logo are trademarks of Apple Inc., registered in the U.S. and other countries. App Store is a service mark of Apple Inc.
Google Play and the Google Play logo are trademarks of Google Inc.
Wireless connectivity
Wi-Fi and Bluetooth: 2400-2496 MHz @ 100 mW
America, Australia, New Zealand: 916.3 – 916.5 MHz @ 16 mW
Japan, Singapore, Taiwan, Malaysia: 922.32 – 922.52 MHz @ 16 mW
China: 868.3 – 868.5 MHz @ 16 mW
Europe (and the rest of the World default): 869.3 – 869.5 MHz @ 16 mW
EU Declaration of Conformity
Hereby, Netatmo declares that this NOC01 is in compliance with the essential requirements and other relevant provisions of Directive 2014/53/EU and ROHS 2011/65/EC.
The original EU declaration of conformity may be found at http://www.netatmo.com/declaration/noc.
Netatmo SAS – 93, rue Naionale – 92100 Boulogne-Billancourt
Boulogne-Billancourt, 01/12/2016
CEO
Frédéric POTTER
NETATMO ONE -1. YEAR-LIMITED WARRANTY.
Netatmo (SAS) warrants the product hardware components (‘Product’) against defects in material and workmanship when used in accordance with Netatmo’s documentation (‘Documentation’) for a period of ONE (1) YEAR after the date of original retail purchase (‘Warranty Period’) from Netatmo or Netatmo’s authorized reseller by the end-user purchaser (“Customer” or “you”).
- APPLICABLE PROVISIONS IN THE EVENT OF A BREACH OF LIMITED WARRANTY
If the Product fails to conform to the Limited Warranty, Netatmo will, at its sole discretion and upon your submission of a valid claim to Netatmo (I) use commercially reasonable efforts to repair the defective Product with new or refurbished hardware functionally equivalent to the Product being repaired; (II) replace the defective Product with a Product equivalent to new in performance and reliability; or (III) exchange the defective Product for a refund of the Product’s purchase price. A returned or repaired Product will be replaced under the terms of the Limited Warranty for the remaining Warranty Period, or ninety (90) days, whichever period is longer. This Limited Warranty is not transferable from Customer to subsequent Product owners, and the Warranty Period will not be extended for any such transfer. - CONDITION OF APPLICATION
Netatmo’s warranty obligations are conditioned on Customer (I) notifying Netatmo through the contact information available at http://www.netatmo.com during the Warranty Period of any failure of the Product to meet the Limited Warranty, including a detailed description of the alleged failure, (II) otherwise complying with Netatmo’s then-current return policy (see General Sales Conditions section “Right to cancel and return policy”), (III) shipping, at Customer’s cost, the affected Product to Netatmo for repair or replacement, and (iv) providing Netatmo with valid proof of purchase.
If Netatmo determines, after analysis of a returned Product, that the Product is an Ineligible Product (see Document and Section of Included Documentation), Netatmo will no longer have warranty obligations. Netatmo will bear all costs of return shipping to Customer, except with respect to any Ineligible Product, for which Customer will bear all shipping costs. - EXCLUSIONS
Netatmo will have no warranty obligation with respect to the following circumstances (‘Exclusions’) (‘Ineligible Products’): (I) a Product that has no defects in materials or workmanship, (II) Products with defects that are not reproducible by Netatmo, (III) Products marked as ‘sample’ or sold ‘AS IS’, (iv) Products whose serial number has been defaced or removed, or (v) Products that have been subject to (a) any modifications, alterations, repair, or service by any party other than Netatmo or Netatmo’s authorized representatives; (b) handling, storage, installation, testing, or use not in accordance with the applicable Documentation; (c) abuse, negligence, neglect, accidents, abuse or misuse; (d) any breakdowns, fluctuations, or interruptions in electric power or the telecommunications network; or (e) any Acts of God, including fire, flood, tornado, earthquake, hurricane, excessive snow, lightning, riot, insurrection, the act of war or another disaster. - WARRANTY DISCLAIMER
EXCEPT TO THE EXTENT SET FORTH ABOVE IN THIS LIMITED WARRANTY, THE PRODUCTS ARE PROVIDED ON AN ‘AS IS BASIS, AND NETATMO DISCLAIMS ALL WARRANTIES AND CONDITIONS WITH RESPECT TO THE PRODUCTS, WHETHER IMPLIED, EXPRESS, OR STATUTORY, INCLUDING THE IMPLIED WARRANTIES OF MERCHANTABILITY, FITNESS FOR A PARTICULAR PURPOSE, TITLE, NON-INFRINGEMENT OF THIRD-PARTY RIGHTS, QUIET ENJOYMENT, AND ACCURACY. NETATMO DOES NOT WARRANT THAT OPERATION OF THE PRODUCTS WILL BE ERROR-FREE OR UNINTERRUPTED OR THAT THE PRODUCTS WILL IN EVERY CASE PROCESS ALL DATA CORRECTLY. - LIMITATION OF LIABILITY
5.1 IN NO EVENT WILL (a) NETATMO BE LIABLE FOR ANY CONSEQUENTIAL, EXEMPLARY, SPECIAL, OR INCIDENTAL DAMAGES, INCLUDING ANY DAMAGES FOR LOST DATA OR LOST PROFITS, ARISING FROM OR RELATING TO THIS LIMITED WARRANTY OR THE PRODUCTS, EVEN IF NETATMO KNEW OR SHOULD HAVE KNOWN OF THE POSSIBILITY OF SUCH DAMAGES, AND (b) NETATMO’S TOTAL CUMULATIVE LIABILITY ARISING FROM OR RELATED TO THIS LIMITED WARRANTY AND THE PRODUCTS, WHETHER IN CONTRACT OR TORT OR OTHERWISE, EXCEED THE FEES ACTUALLY PAID BY CUSTOMER TO NETATMO OR NETATMO’S AUTHORIZED RESELLER FOR THE PRODUCT AT ISSUE IN THE PRIOR 12 MONTHS (IF ANY). THIS LIMITATION IS CUMULATIVE AND WILL NOT BE INCREASED BY THE EXISTENCE OF MORE THAN ONE INCIDENT OR CLAIM. NETATMO DISCLAIMS ALL LIABILITY OF ANY KIND OF NETATMO’S SUPPLIERS.
5.2 THE NETATMO ONLINE SERVICES (‘SERVICES’) PROVIDE YOU INFORMATION (‘PRODUCT INFORMATION’) REGARDING INDOOR AND OUTDOOR MEASUREMENTS. WITHOUT LIMITING THE GENERALITY OF THE DISCLAIMERS ABOVE, ALL PRODUCT INFORMATION IS PROVIDED FOR YOUR CONVENIENCE, ‘AS IS, AND ‘AS AVAILABLE. NETATMO DOES NOT REPRESENT OR WARRANT THAT PRODUCT INFORMATION WILL BE AVAILABLE, ACCURATE, OR RELIABLE. YOU USE ALL PRODUCT INFORMATION, THE SERVICES, AND THE PRODUCT AT YOUR OWN DISCRETION AND RISK. YOU WILL BE SOLELY RESPONSIBLE FOR (AND NETATMO DISCLAIMS) ANY AND ALL LOSS, LIABILITY, OR DAMAGES RESULTING FROM YOUR USE OF THE PRODUCT INFORMATION, SERVICES, OR PRODUCT. - CONSUMER PROTECTION
SOME STATES DO NOT ALLOW THE EXCLUSION OF IMPLIED WARRANTIES OR THE EXCLUSION OR LIMITATION OF INCIDENTAL OR CONSEQUENTIAL DAMAGES, SO THE ABOVE LIMITATIONS OR EXCLUSIONS MAY NOT APPLY TO YOU. THIS WARRANTY GIVES YOU SPECIFIC LEGAL RIGHTS, AND YOU MAY ALSO HAVE OTHER RIGHTS WHICH VARY FROM STATE TO STATE. THE DISCLAIMERS, EXCLUSIONS, AND LIMITATIONS OF LIABILITY UNDER THIS LIMITED WARRANTY WILL NOT APPLY TO THE EXTENT PROHIBITED BY APPLICABLE LAW.
LIMITED WARRANTY FOR PURCHASES WITHIN AUSTRALIA.
Our goods come with guarantees that cannot be excluded under the Australian Consumer Law. You are entitled to a replacement or refund for a major failure and compensation
for any other reasonably foreseeable loss or damage. You are also entitled to have the goods repaired or replaced if the goods fail to be of acceptable quality and the failure does not amount to a major failure. The company giving the warranty (the warrantor) is Netatmo Limited., 18/F Wanchai Central Bldg., 89 Lockhart Rd, Wanchai, Hong Kong, [email protected] or contact your local reseller for assistance. The warranty applies for a period of 12 months from purchase from an authorized Netatmo reseller. Any faults or defects arising from misuse or normal wear and tear are not covered by warranty. Any modifications to products will void the warranty. Items not covered by warranty are components that are expected to be replaced regularly, including without limitation: batteries and bracelets. The warrantor has the right to request the return of the product at your expense. The warranty does not cover any consequential loss or damage.
WARNING
Privacy
The Netatmo PRESENCE camera was designed for outdoor personal use. Countries’ laws and regulations may restrict the use of your Netatmo PRESENCE. Please check the laws of your country.
To respect privacy, please avoid installing your Netatmo PRESENCE monitoring the street or your neighbors’ property. We also advise you to inform your family, relatives, and home employees, if any, that you have installed a camera.
Security
By using Netatmo PRESENCE, you agree that you will not rely on its services for any life safety or critical purposes. Mobile notifications are provided for informational purposes only.
https://support.netatmo.com
Product model: NOC01
FCC ID: N3A-NOC01
IC : 10860A-NOC01
Copyright Netatmo © 2016 All rights reserved. Reproduction and distribution prohibited without written authorization from Netatmo
QSG-PR-V7





















