
Smart Outdoor Camera
Smart Outdoor Camera with Siren
User guide

More languages are available at netatmo.com/outdoor-cam-setup

Pack content:
| (A) 1 Smart Outdoor Camera. (B) 1 mounting strap and green screws. (C) 1 mounting holder and its black screw. (D) 1 Allen key. | (E) 6 mounting screws (3 sizes). (F) 2 wall screws and 2 anchors. (G) 1 protective envelope. (H) 1 User Guide. (I) 1 QR code card. |

Required Tools (not included):
– Phillips and slotted screwdrivers.
– Step ladder.
– Drill – Ø6mm (only required if there is no junction box where the product is installed).
– Caulking gun and Silicone sealant (recommended tool).
– Level (recommended tool).

For optimal performance install the Smart Outdoor Camera at a height between 2.5 and 4 meters (8 and 14 ft.) with a tilt angle of around 30°.
Guided installation video available at: https://www.netatmo.com/outdoor-cam-setup
Read carefully the safety information on page 48 before proceeding to the installation.
Pick a spot on the wall to install the Smart Outdoor Camera.
Check with your smartphone that you have Wi-Fi reception at the spot you chose.
If you do not, try to move your Wi-Fi router closer.
Caution: electrical danger.

Disconnect power at fuse or circuit breaker before proceeding to the installation.
Prepare the installation.

If you are replacing an old light fixture, disassemble the light fixture.
If there is a junction box behind it, go to step (3A). If there is no junction box behind it or if you run a new wire to power the Smart Outdoor Camera, go to step (3B).
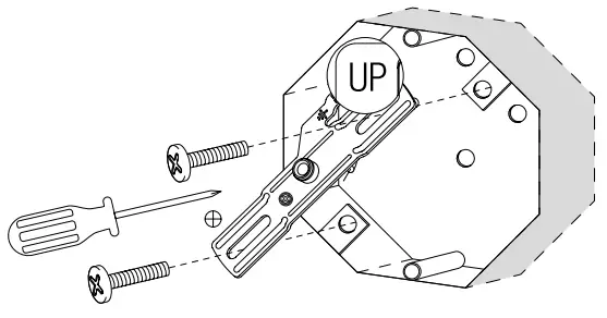
Secure the mounting strap to the junction box.

Fasten the mounting strap (B) to your junction box.
Make sure that the UP sign is at the top.
You can use the screws provided (E).
Skip (3B) and go directly to step (4).
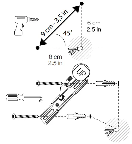
Secure the mounting strap to the wall.

Drill two holes above and to the left of the power cable and secure the mounting strap as shown in the picture.
You can use the screws and anchors provided (F) or others that are better suited for your wall.
Make sure that the UP sign is at the top.
Hang the camera with the wire tie.

Carefully hang the camera with the wire tie from the green screw.
Put the camera in the protective envelope (G) to avoid any damage.
Connect the wires.

Use the wire terminal behind the plate.
Blue/White (NEUTRAL) supply wire to Blue wire
Brown/Black (HOT) supply wire to Brown wire
Yellow and Green (GROUND) supply wire to Yellow and Green wire
Make sure the ground (GND) wire from the wire terminal is also screwed to the mounting strap (B) with the second green screw.
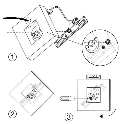
Secure the plate on the mounting strap.

Align the central holes of the wall plate with those of the mounting strap and pass the green screw through one of the holes of the “U” shaped guide.
Then turn the plate horizontal (use a level if needed) and fasten the green screw tight.
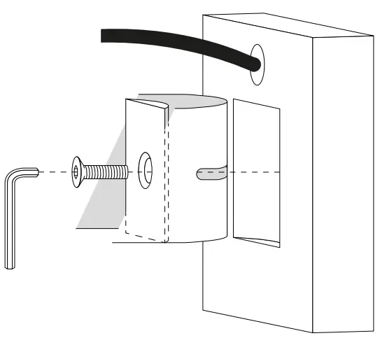
Secure the camera to the plate.

Use the provided mounting holder and black screw (C) to secure the camera to the mounting strap and plate.
You can now cut and remove the wire tie and the protective envelope.
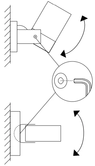
Tilt the camera to record video from the correct angle.

Use the Allen key (D) to untighten the screws on the side or the back to tilt the camera.
Make sure to secure them properly afterward The screws on both sides must be tight for the camera to be securely installed.
Reconnect the power.

The Smart Outdoor Camera will start for the first time and the floodlight will turn on. This can take up to a minute.
If the floodlight does not turn on, go to page 34 for troubleshooting advice.
Protect the wiring.

We recommend that you caulk the mounting surface on the top and sides of the plate with silicone weather sealant.
Leave the bottom unsealed so moisture can drain out.
Download the app.

To set up your Camera from your smartphone or tablet, go to netatmo.com/outdoor-cam-setup.
The Smart Outdoor Camera cannot be set up from a computer.
Apple home it

Your Camera is compatible with Apple HomeKit.
You will need to scan the code in the provided card, “Homekit setup code”, during the setup of Apple HomeKit through the App.
The code is unique and cannot be generated again. Keep it in a safe place.
Do not throw the code card away.
Setup card

This card contains unique configuration codes.
You will need them to reconfigure your Camera.
Keep the card in a safe place. Do not throw it away.
A. SETUP QR code (black): During the product setup or Wi-Fi configuration, show the black QR code to the camera only when required by the App. Until the floodlight starts to blink.
B. RESET QR code (red): To perform a factory reset, show the red QR code to the camera. The floodlight will make five fast blinks twice to confirm the operation. All the data and configuration will be lost.
When showing a QR code to the Camera, keep it at a distance of 30 cm / 1 ft. Make sure there is enough ambient light for the camera to read the code.
It may not work at night.
Installation troubleshooting.
| Problem | Possible causes | Solutions |
| The floodlight does not turn on (the Smart Outdoor Camera does not start). | The fuse is blown or the circuit breaker is turned off. | Replace the fuse or turn the circuit breaker on. |
| The switch that controls the old light fixture is off. | Turn the old switch on and keep it on at all times. Your Camera needs to be permanently powered. | |
| Incorrect circuit wiring. | ||
| Fuse blows or circuit breaker trips when light is turned on. | Crossed wires or power wire is grounding out. |
For further help please check the FAQ section on the app or go to http://support.netatmo.com.
Need to replace the microSD card? Learn more about it at: https://www.netatmo.com/change-sd-card.

IMPORTANT: Safety information
Class I electrical appliance: use only on 100-240 V AC 50-60Hz.
Risk of electric shock or fire. Good knowledge of electrical systems is required. If not qualified, do not attempt to install. Contact a qualified electrician.
Disconnect power at fuse or circuit breaker before installing or servicing.
No user-serviceable parts inside. To avoid electrical shock, do not disassemble the product.
To prevent wiring damage or abrasion, do not expose wiring to sharp objects such as edges of metal sheets.
Assistance may be required to support the product during installation.
Handle the product with care during the installation. Sharp edges could hurt you or damage the walls. The front glass could break if hit. Broken glass should be replaced.
Keep a minimum distance of 1 meter (3.3 feet) between the light and your eyes or any surface in front.
FCC Statement
This equipment has been tested and found to comply with the limits for a Class B digital device, pursuant to part 15 of the FCC rules.
These limits are designed to provide reasonable protection against harmful interference in a residential installation.
This equipment generates, uses and can radiate radio frequency energy and, if not installed and used in accordance with the instructions, may cause harmful interference to radio
communications. However, there is no guarantee that interference will not occur in a particular installation.
lf this equipment does cause harmful interference to radio or television reception, which can be determined by turning the equipment off and on, the user is encouraged to try to correct the interference by one or more of the following measures:
– Reorient or relocate the receiving antenna.
– Increase the separation between the equipment and receiver.
– Connect the equipment into an outlet on a circuit different from that to which the receiver is connected.
– Consult the dealer or an experienced radio/TV technician for help.
Should you need further certification information (FCC ID, IC) please open the cover at the bottom of the product by pulling back the strip with your nails.
Si vous avez besoin de plus d’informations sur la certification (FCC ID, IC), ouvrez le couvercle en-dessous du produit en tirant la languette avec vos ongles.
FCC Radiation Exposure Statement
This equipment complies with FCC RF radiation exposure limits set forth for an uncontrolled environment. This transmitter should be installed and operated with a minimum distance of 20 centimeters between the radiator and your body and must not be co-located or operating in conjunction with any other antenna or transmitter. This
the equipment complies with Part 15 of the FCC Rules.
Operation is subject to the following two conditions:
(1) This device may not cause harmful interference, and
(2) This device must accept any interference received, including interference that may cause undesired operation.
Caution!
Any changes or modifications to this unit not expressly approved by the party responsible for compliance could void the user’s authority to operate the equipment.
Legal notice
“Made for iPod”, “Made for iPhone”, and “Made for iPad” mean that an electronic accessory has been designed to connect specifically to iPod, iPhone, and iPad and has been certified by the developer to meet Apple performance standards. Apple is not responsible for the operation of this device or its compliance with safety and regulatory standards. Please note that the use of this accessory with iPhone may affect wireless performance.
Safety warnings
This device is not intended for use by persons (including children) with reduced physical, sensory or mental capabilities, or lack of experience and knowledge unless they have been given supervision or instruction concerning the use of the appliance by a person responsible for their safety. Children should be supervised to ensure that they do not play with the appliance.
Canadian Compliance Statement
This device complies with Industry Canada license-exempt RSS standard(s). Operation is subject to the following two conditions:
(1) this device may not cause interference, and (2) this device must accept any interference, including interference that may cause undesired operation of the device.
Taiwan Wireless Statements
Use of the Works with Apple HomeKit logo means that an electronic accessory has been designed to connect specifically to iPod touch, iPhone, or iPad, respectively, and has been certified by the developer to meet Apple performance standards. Apple is not responsible for the operation of this device or its compliance with safety and regulatory standards.
Controlling this HomeKit-enabled accessory automatically and away from home requires an Apple TV with tvOS 10.x or later or an iPad with iOS 10.x or later set up as a home hub.
Apple and the Apple logo are trademarks of Apple Inc., registered in the U.S. and other countries. App Store is a service mark of Apple Inc.
Google Play and the Google Play logo are trademarks of Google Inc.
Wireless connectivity
Wi-Fi and Bluetooth: 2400-2496 MHz @ 100 mW
America, Australia, New Zealand: 916.3 – 916.5 MHz @ 16 mW
Japan, Singapore, Taiwan, Malaysia: 922.32 – 922.52 MHz @ 16 mW
China: 868.3 – 868.5 MHz @ 16 mW
Europe (and the rest of the World default): 869.3 – 869.5 MHz @ 16 mW
EU Declaration of Conformity
Hereby, Netatmo declares that this NOC01 is in compliance with the essential requirements and other relevant provisions of Directive 2014/53/EU and ROHS 2011/65/EC.
The original EU declaration of conformity may be found at http://www.netatmo.com/declaration/noc.
WARNING
Privacy
The Netatmo Smart Outdoor Camera was designed for outdoor personal use. Countries’ laws and regulations may restrict the use of your Smart Outdoor Camera. Please check the laws of your country.
To respect privacy, please avoid installing your Smart Outdoor Camera to monitor the street or your neighbors’ property. We also advise you to inform your family, relatives and home employees, if any, that you have installed a camera.
Security
By using a Smart Outdoor Camera, you agree that you will not rely on its services for any life safety or critical purposes. Mobile notifications are provided for informational purposes only.
| CE marking is the manufacturer’s declaration that the product meets the requirements of the applicable EC directives. | |
| WEEE symbol designates safe and responsible collection, recycling, and recovery procedures for all types of electronic waste | |
| The product complies with the requirements of the relevant ACMA Standards. | |
| The product complies with the Technical Regulations Conformity Certification of Specified Radio Equipment. | |
| Truman logo | |
| Universal recycling symbol | |
| The product requires an AC power supply to operate properly. It accepts voltage from 100V to 240V with a frequency from 50Hz to 60Hz. | |
| The product complies with the limits for a Class B digital device, pursuant to part 15 of the FCC rules (USA). | |
| The product complies with Industry Canada license-exempt RSS standard(s). | |
| Model Number | |
| Serial number |


![]()
Copyright Netatmo © 2020 All rights reserved. Reproduction and distribution prohibited without written authorization from Netatmo



















