NEO DEANTE Boro BMO N10M

USAGE INSTRUCTION

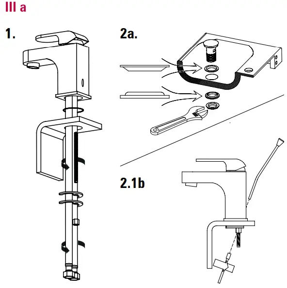
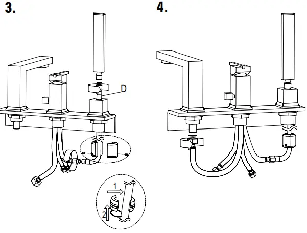
INSTALLATION
- Before making any inlet pipe connections, all supply pi-pes must be throughly flushed to remove debris. Failing to do this may cause demage of the cartridge or low water flow.
- The place and way of installation needs to ensure free access to any possible dismantling and a possibility of car-rying out maintenance or repair activities.
- The mixer should be installed by a persons with appro-priate qualifications. For a built-in product, the Purchaser should check its proper operation before installation in the presence of the person supervising the operation of the product. Any possible damage caused as a result of unprofessional assembly or maintenance is not covered by warranty.
- Mounting valves on any type of extensions / reducers is not recommended. Mixer installation should be carried out using all original components included in the product and supplied by the producer.
- To purchase parts, contact producer via [email protected]
- In line with a possibility of contamination of the water which may cause product damages it’s necessary to use angle, check valves with filters in the connection between mixer hoses to the installation, or sealing screen for wall mounted mixers and showers.
- Flexible hoses must not be bent or twisted. Hoses may only be screwed into the fitting by hand.
- Mixers are intended for indoor installation. Do not allow the mixer or water inside to freeze.
- It is recommended to turn off the main water valve during long absence.
- Do not leave the product unattended during a pressure test.
- It is not advisable to use a thermostatic tap with flow gas and electric water heaters.
- The Warrantor reserves the right to make production changes and corrections of the product arising from tech-nological progress and aesthetic values without prior no-tice.
- The manufacturer declares that the colour (shade) of a product from the same line may be slightly different and is in a similar shade. The difference in shade is not a defect of the product and may result from the normal production process.
requirements for taps other than thermostatic taps

Requirements for thermostatic taps

MAINTENANCE
A user is obliged to clean the following on a regular basis: aerator, ball valves with a filter, tap’s surface, to check con-nections of hoses, filters. Recommendation:
- Use a soft cloth
- Do not use chlorine or alcohol based cleaner, strong acids, bases or solvents
- Do not use cleaner with cleaning beads
- Use biodegradable cleaning agents with a delicate struc-ture based on fruit acids, ie recommended Deante agents.
- Mixer should be at the room temperature during cleaning
- After cleaning, rinse the washed surface thoroughly to get rid off residual chemicals and wipe dry.
- Do not use high pressure or steam cleaners Details of the warranty on www.deante.eu
MIXER MODELS
Standing model with a pull-apart spout


Wall model


Standing model




Flush-mounted model






Standing multi-hole model






















