
Instruction
User Guide
The following exercise actions are for reference only

Confirm the contents of the package are all concluded


Pull-up fitness equipment assembly steps
| 1.Please connect (A) Base and (B) Major frame as shown in the figure. Please be careful not to take the wrong orientation for (A) and (B). | ![]() |
| . 2.Assemble (C) U plate as shown in the figure. Note: if in unstable condition, please pay attention to prevent the product from dumping. | ![]() |
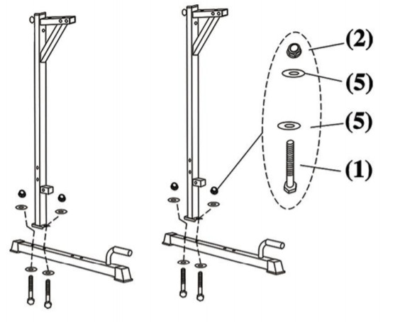
| 3.Please assemble connecting pipes (D) and (E) as shown in the figure. Note: if in unstable condition, please pay attention to prevent the product from dumping. | ![]() |
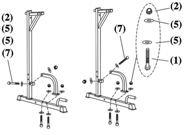
| 4.Assemble (F) crossbars B as shown in the figure. Note: if in unstable condition, please pay attention to prevent the product from duping | ![]() |
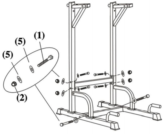
| 5.Adjust the height of the expansion pipe (G) and fix it with the knob. Note: if in unstable condition, please pay attention to prevent the product from duping. | ![]() |
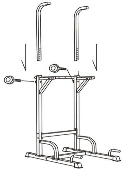
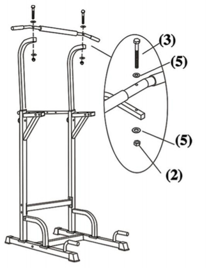
| 6.Assemble the (H) cross-bar A as shown in the figure. Caution: be careful not to pinch your hand. | ![]() |
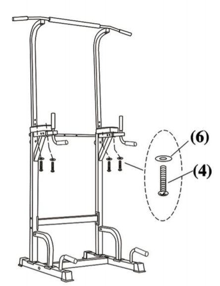
| 7.Assemble (I) armrest as shown in the figure. Caution: be careful not to pinch your hand. | ![]() |
| 8.Please assemble the (J) armrest cushion as shown. Caution: be careful not to pinch your hand. | ![]() |
| 9.Please assemble (K) safety cushions as shown in the figure. Caution: be careful not to pinch your hand. | ![]() |
Notification of the product

- Kindly please use this product in-house, since it is designed for households.
- Before use, please check that screws, nuts, and other fixing parts have been installed. Confirm that these parts are fixed.
- Please wear sports clothes, warm-up before exercise, and stretch for about 5 minutes after exercise to adjust the body well.
- This product can also be used with rehabilitation exercises by the elderly, children, people. with disabilities. But keep away from children to prevent danger.
- Pay special attention to children. Plastic bags can cause asphyxiation.
- Due to the weight and height of the product, please carry or move it by more than two people. Please tip or fall carefully.
- Do not place or keep in the following places; An unstable place, such as one that is inclined or slippery, or one that often vibrates. A place of smoke, moisture, or dust. A place with poor ventilation. Extremely hot or cold places. Direct sunlight or close to heating appliances. In case of an earthquake, please keep it in a safe place.
- If you have any questions, please feel to contact us by email at any time.
Tightening instructions for non-slip screws

Secure the nuts on either side with two wrenches,One hand doesn’t rotate, the other hand rotates,ln this way, the screw can be turned.
Sand exit instructions
Sand used to clean pipes, No influence on use ,In order not to affect beautiful, You can move it to the back.
Guarantee
We promise a one-year warranty. If there are any problems with the products you received, please feel free to contact us. We will take it seriously. We just want to you know that your satisfaction is always our top priority.

























