aliyuncs FDV-3000 Fish Finder CameraFDV-3000 Fish Finder Camera

Thank you for purchasing our angling machine.It will bring a new visual perception of the underwater world to you. This manual contains important safety and operating information. Please read all the information carefully before you use the device to avoid accidents and keep it for future
reference.
Safety Instructions
Before using the angling device,please make sure you have read and learn the following safety precautions.
- Never try to open the case of the device or attempt to modify it in any way. Maintenance and repair should be carried out only by authorized service providers. Should repair is required, please contact retailer directly.
- Fishing line can not be close to the propeller and other sharp objects.
- When using the angling machine,please keep the device and its lens far away from overheated equipment.
- Use only the recommended power accessories. Use of power sources other than recommended by the manufacturer or specified in this manual for the device may lead overheating, distortion of the equipment, fire, electric shock or other hazards.
Preparing For Using
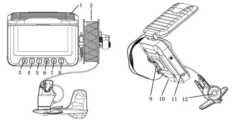
Parts Of The Device
| 1 | Cover | 2 | Winding bracket |
| 3 | Power button/ Mode Switch button | 4 | Up Button |
| 5 | Down Button | 6 | Brightness Button |
| 7 | Menu Button | 8 | OK Button |
| 9 | Mounting hole | 10 | Video input port |
| 11 | TF card slot /USB port | 12 | Lens |
Charging The Battery
The device has a built in 4,000mah lithium battery. Please follow below steps to charge the battery before first use or in low power.
- Turn off the device.
- Connect the device to the power adapter 5V2A through USB cable.
- Remove the USB cable when the battery is full.
When the battery symbol on the display shows less than two bars, it means the battery is low, please charge.
Basic Operation
Turning On And Off The Device
- a. Open the flip cover.
- b. Confirm whether the video input plug has been inserted into the video input port, and insert it firmly.
- c. Long press the power button to turn on the display, the display will show the image in front of the camera.
- d. If the light is relatively dark,please press the Brightness Button to turn on the infrared light,it will show the “INFRARED” on the display when you press the Brightness Button. Press the Up button to choose you would like to turn on the infrared light or warm fill light, and then press the up button again to select the black and white mode or turn off the fill light or Color mode.
- e. When the screen brightness is not suitable, please pressing the Brightness button twice, brightness level will display on the display screen. Press the Up or Down buttons to adjust the brightness of the display in 9 levels, and there is a corresponding digital display on the bottom right of the display.
- f. Long press the power switch to turn off the display.
Open the cover to turn on the device. Press the Menu button to enter the settings menu interface. Please press the up/down button to select.
- Record
Click the OK button to enter the Record, you can choose to take a photo or a video.
Options: [Record Video]/[Take Photos]. - My Files
Click the OK button to enter My Files, you can view the photos or videos have taken. Press the up and down button to choose the video or photo file. Press the menu button to return.
Options: [Video file] / [photo file]. - Setup
Click the OK button to enter the setting menu.
- Language
Select language by pressing Up or Down button.
Options: [English]/[simplified Chinese]/ [traditional Chinese]/[Pусский] - Date and Time
Short press the power button to move left and right to select the item that needs to be modified and then use the up or down buttons to adjust the time or date. Press the menu button to return, and press the OK button to exit the setting.Date stamp
Set whether to keep the shooting date & time/date on the photo when the photo is taken.
Options: [Date & Time]/ [Date] /[Off] - Resolution
Set the resolution of the photo. The higher the resolution, the sharper the image and the more storage space the photo takes up.
Options: [1280×960] / [640×480]. - Movie Size
Set the resolution of the video. The higher the resolution, the sharper the image and the more storage space the photo takes up.
Options: [720×480] / [640×480]. - Power Save
Set the auto shutdown time.
Options: [1min]/[3min]/[5min]/[OFF]. - Memory Info
View the capacity of internal memory card. - Format
Formatting the memory card will delete all files including the protected files. Please copy the important files before format.
Options: [Yes]/[No]. - Reset All
Restore all of the parameters to factory default settings.
Options: [Yes]/[No]. - Version Info
Look up the firmware information.
Recording Video
- Capture Picture
After power on,the default mode is video recording.Please press the Power button/ Mode switch button to switch to Capture Picture. Preview the current picture through the display screen, press the OK button to shoot.Click up or down button to zoom in/out 4x. - My Files
After power on,please press the menu button to enter My Files.- When you review the Video Files,press the OK button to play this video.Press up or down button to fast forward or rewind.Press brightness button to pause playback and Press the OK button to stop playback.press power button to delete,then will prompt “Delete this file”,press up or down button to choose Yes or NO,press OK button to confirm.
- When you review the Photo Files,press the OK button can review the photos.Press the up or down button to review the photos,press power button to delete,then will prompt “Delete this file”,press up or down button to choose Yes or NO,press OK button to confirm.
Download Files To The Computer
- Connect the angling device to a computer through USB cable.
- Open the cover. The display screen will show”Connecting the computer”.
- Click [My Computer]. A”Removable Disk” appears in the drive list. Double-click the “Removable Disk” icon to view its contents.
- Copy the files to the chosen directory in the computer.
Specification
| Product Name: | Fish camera |
| Image resolution: | 1280×960;640×480 |
| Video resolution: | 720×480/30fps ;640×480/30fps |
| Lens: | EFL=2.3mm; F/NO=1.8;FOV160° |
| Auto power-off: | 1min / 3min / 5min / OFF |
| File format: | JPG/AVI |
| Power supply: | DC5V2A |
| Storage: | Supports up to 32G TF card/64M storage |
| Fish line: | The fishing line is 20 meters long, waterproof above 25 meters and the fishing line lifting weight is 50 kg |
| Fill light: | Two warm LED lights can illuminate a distance of 3 meters, can attract fish |
| Zoom in: | Digital zoom 4x |
| Power type : | 3.7V /4000mah lithium battery, support power bank supply |
| Waterproof level: | Host IP54 waterproof, camera 25m diving |
| Operating temperature : | -20℃ to +50℃ |



















