UH-X FHD IPS 400Nits Thin and Light Laptop
User Manual
Copyright
Fujitsu Client Computing Limited has made every effort to ensure the accuracy and completeness of this document. However, as ongoing development efforts are continually improving the capabilities of our products, we cannot guarantee the accuracy of the contents of this document. We disclaim liability for errors, omissions or future changes.
Microsoft, Windows, MS, Windows 10 are registered trademarks of the Microsoft Corporation of the United States in the United States and other countries.
Phoenix is a registered trademark of Phoenix Technologies Corporation of the United States.
Copyright© Microsoft Corporation 2020. All rights reserved.
Copyright© Phoenix Technologies, Ltd. 2020.
All rights reserved.
Other product names are trademarks or registered trademarks of their respective companies.
Copyright Fujitsu Client Computing Limited 2020. No part of this publication may be copied, reproduced or translated, without the prior written consent of Fujitsu Client Computing Limited. No part of this publication may be stored or transmitted in any electronic form without the written consent of Fujitsu Client Computing Limited.
This device complies with Part 15 of the FCC rules.
Operations are subject to the following two conditions:
- This device may not be allowed to cause harmful interference.
- This device must accept any interference received, including interference that may cause undesired
The terms HDMI and HDMI High-Definition Multimedia Interface, and the HDMI Logo are trademarks or registered trademarks of HDMI Licensing, LLC in the United States and other countries.
IMPORTANT SAFETY INSTRUCTIONS
- Read these instructions carefully. Save these instructions for future reference.
- Follow all warnings and instructions marked on the product.
- Unplug this product from the wall outlet before cleaning. Do not use liquid cleaners or aerosol cleaners. Use a damp cloth for cleaning.
- Do not use this product near water.
- Do not place this product on an unstable cart, stand or table. The product may drop, causing serious damage to the product.
- Slots and openings in the cabinet and the back or bottom are provided for ventilation; to ensure reliable operation of the product and to protect it from overheating, these openings must not be blocked or covered. The openings should never be blocked by placing the product on a bed, sofa, rug or other similar surface. This product should never be placed near or over a radiator or heat register or in a built-in installation unless proper ventilation is provided.
- This product should be operated from the type of power indicated on the marking label. If you are not sure of the type of power available, consult your dealer or local power company.
- Do not allow anything to rest on the power cord. Do not locate this product where persons will walk on the cord.
- If an extension cord is used with this product, make sure that the total ampere rating of the equipment plugged into the extension cord does not exceed the extension cord ampere rating. Also make sure that the total rating of all products plugged into the wall outlet does not exceed 15 amperes.
- Never push objects of any kind into this product through cabinet slots as they may touch dangerous voltage points that could result in a fire or electric shock. Never spill liquid of any kind on the product.
- Do not attempt to service this product yourself, as opening or removing covers may expose you to dangerous voltage points or other risks. Refer all servicing to qualified service personnel.
- Unplug this product from the wall outlet and refer servicing to qualified service personnel under the following conditions:
a. When the power cord or plug is damaged or frayed.
b. If liquid has been spilled into the product.
c. If the product has been exposed to rain or water.
d. If the product dose not operate normally when the operating instructions are followed. Adjust only those controls that are covered by the operating instructions since improper adjustment of other controls may result in damage and will often require extensive work by a qualified technician to restore the product to normal condition.
e. If the product has been dropped or the cabinet has been damaged.
f. If the product exhibits a distinct change in performance, indicating a need for service. - CAUTION: When replacing the battery, be sure to install it with the polarities in the correct position. There is a danger of explosion if the battery is replaced with an incorrect type or is mistreated. Do not recharge, disassemble or dispose of in fire. Replace only with the same or equivalent type recommended by the manufacturer. Dispose of the used battery according to the manufacturer’s instructions.
- Use only the proper type of power cord set (provided in the accessories box) for this unit. It should be detachable type and with respective certification.
POINT
The point icon highlights information that will enhance your understanding of the subject material.
CAUTION
The caution icon highlights information that is important to the safe operation of your computer, or to the integrity of your files. Please read all caution information carefully.
WARNING
The warning icon highlights information that can be hazardous to either you, your computer, or your files. Please read all warning information carefully.
Proper Disposal of Battery
Under federal, state or local law, it may be illegal to dispose of batteries by putting them in the rubbish bin or trash cans. Please take care of our environment and dispose of batteries properly.
CAUTION
Check with your local government authority for details regarding recycling or disposing of unwanted batteries.
Changes or modifications not expressly approved by Fujitsu could void this user’s authority to operate the equipment.
CAUTION
- For safety, users should ensure that the electrical ground of the power utility, the telephone lines and the metallic water pipes are connected together. Users should NOT attempt to make such connections themselves but should contact the appropriate electric inspection authority or electrician. This may be particularly important in rural areas.
This unit requires an AC adapter to operate. Use only UL Listed adapter, output rating 19VDC, 3.42A*. Refer to the illustration below for the correct AC Adapter output polarity: * Please check with local distributor for actual bundling.![]()
CAUTION
To reduce the risk of fire, use only #26 AWG or larger telecommunications line cord. For Authorized Repair Technicians Only
CAUTION
For continued protection against risk of fire, replace only with the same type and rating fuse.
WARNING
Danger of explosion if Lithium (CMOS) battery is incorrectly replaced. Replace only with the same or equivalent type recommended by the manufacturer. Dispose of used batteries according to the manufacturer’s instruction.
Proper Disposal of Battery
Under federal, state or local law, it may be illegal to dispose of batteries by putting them in the rubbish bins or trash cans. Please take care of our environment and dispose of batteries properly for details regarding recycling or disposing of unwanted batteries.
NOTE ON USE REQUIRED HIGH SAFETY
Notice to Users of Radios and Television Notice to Users of Radios and Television
This product is designed and manufactured for general use, household use and ordinary industrial use.
This product is not designed for or intended for use under dangerous (fatal) conditions, unless extreme safety precautions are implemented.
Do not use this product without implementing highevel safety precautions. Failure to follow this warning may result in death.
Personal injury severs physical damage or other loss, if used in or near any or more of the following:
- Nuclear reaction control system in a nuclear facility
- Automatic flight control system in an airplane or other flight control system
- Mass transport control system
- Medical instruments for life support system
- Missile launching control for weapon system
Operation Temperature: 35°C
NOTE ON BACKUP DATA
Please make a backup of the Operating System, any software programs, and created files (and update regularly).
If you send this product to Fujitsu Client Computing LIMITED, or any of its affiliates, suppliers, service providers or resellers for repair, Fujitsu Client Computing Limited does not guarantee the data integrity. It is your responsibility to back data up beforehand.
Fujitsu Client Computing Limited dose not assume any obligation for compensation for damages, data integrity, or restoration, etc., if your data is lost for any reason, except as written in the warranty.
NAMES OF THE PARTS AND THEIR FUNCTIONS
(This picture is for illustration purpose only and may look different from the actual unit)
Front Features of UH-X
- FHD IR Camera
The location of the FHD IR camera. For face recognition. - Display Panel
The display screen of the notebook. - Status Indicator LED
This indicator displays operating status symbols that corresponded to specific components of your notebook. - Power and Suspend/Resume Button
This button allows you to power on or off the notebook. You can use also this button to suspend notebook activity without turning off the power to it and to resume the notebook from suspend mode. - Keyboard
A full-function keyboard with dedicated
Windows Keys. - Status Indicator LED
This indicator displays operating status symbols that corresponded to specific components of your notebook. - Touch Pad
It allows you to control the display cursor (Mouse pointer).
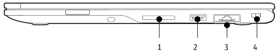
Side Features of UH-X
■Right
(This picture is for illustration purpose only and may look different from the actual unit)
- SD Card Slot
The Secure Digital (SD)/SDXC card slot allows you to install a flash memory card for data storage. Flash memory cards allow you to transfer data to and from a variety of different digital devices. - USB 3.2 (Gen1)Connector
The USB 3.2 connector allows you to connect Universal Serial Bus devices and is backward compatible with USB 2.0 devices. - LAN Connector
This connector allows you to connect to a LAN (local area network) using an optional LAN cable. - Kensington lock
It allows you to attach an optional physical lock down device.
■LEFT
(This picture is for illustration purpose only and may look different from the actual unit)
- DC-in
- USB 3.2(Gen2) Type-C™ Connector
The USB 3.2 (Gen 2) Type-C™ connector is for a small 24-pin reversible-plug connector for USB devices and USB cabling.
USB 3.2 (Gen 2) Type-C™ connector has power output of 5V/1.5A, charging input function and DisplayPort Alt Mode function. - USB 3.2 (Gen1) Type-C™ Connector
The USB 3.1 (Gen 1) Type-C™ connector is for a small 24-pin reversible-plug connector for USB devices and USB cabling.
USB 3.2 (Gen 1) Type-C™ connector has power output of 5V/1.5A. - HDMI Connector
You can use it connect to a TV with HDMIOut port for high quality video output. The HDMI-Out port supports both video and audio output. - USB 3.2 (Gen1)Connector
The USB 3.2 connector with anytime charging functionality allows you to connect Universal Serial Bus devices and is backward compatible with USB 2.0 devices. - Microphone and Headphone
Combo Jack
Bottom Features of UH-X
- Air Vents
The air vents are used to cool the system to prevent overheating. - OFF Button
If operating system stop responses and pressing Power button for 10 seconds does not make any responses as well, this OFF button will cut off the battery for hard reset. You may power on by pressing the Power button.
STATUS INDICATOR LED
(This picture is for illustration purpose only and may look different from the actual unit)
- Power Indicator (
)
This indicator turns on when there is power to the notebook. It turns off when the notebook is powered off. This indicator will blink if the notebook is put in suspend mode - Battery Status Indicator (
)
This indicator lights amber while the builtin battery is charging. Turns off when charging is complete. - Function Lock Indicator (
)
This indicator turns on when the function key are locked. (You can press
+[F1F12] to activate the multimedia controls.) Press
+
, and it locks it for that session. When the computer reboots, this is reset back to the default. - Num Lock Indicator (
)
The keyboard is locked in Num Lock mode. (You can use the keyboard as a numeric keypad when the Num Lock mode is turned on).
You can enter numbers by holding down the
key and pressing the target key. Toggle the Num Lock mode by using the
key. - Caps Lock Indicator (
)
Toggle the Caps Lock mode by using the [CapsLock] key. - Scroll Lock Indicator (
)
This indicator turns on when the lock mode is turned on. You can toggle the Scroll Lock button by using the [ScrLk] key while holding down the
key.
RUNNING UH-X ON ITS BATTERY
Recharging the Battery
- Connect the AC adapter to your notebook
The moment you connect an AC adapter to your notebook, the notebook begins to charge the battery pack. - When the Battery status indicator turns off after the battery is completely charged, (while the notebook is in off mode) disconnect the AC adapter from the notebook.
POINT
- Before using the supplied battery pack for the very first time after purchase, remember to charge it fully. If a charged battery has not been recharged for more than a month, charge it fully before using it.
- When the battery is fully charged while the notebook is in power off mode, the Battery status Indicator turns off.
POINT
- When the battery is 90% or more charged, it cannot be recharged even if the AC adapter is connected. The battery can be recharged when its power level (i.e. remaining battery life) is 89% or less.
- When a notebook is turned off, the Battery s status indicator goes off immediately if the battery is completely charged.
- The chargeability of the battery degrades when it is used in an extremely hot or cold place.
POINT
- When the battery is very hot, for example, immediately after long usage of the notebook, the battery protection feature may be activated to prevent the battery from being recharged. When the temperature decreases, the notebook automatically begins to charge the battery.
Battery status Indicator (
)
Indicates charging status of battery when AC adaptor is connected to PC.
- Amber lamp is lit
Charging - Red lamp flashes
Charging stopped
(Due to battery temperature alarm, etc.) - OFF
Charging completed
POINT
- When the power is turned off, the status display LEDs are all OFF except for during battery charging.
Running UH-X on its Battery
This section describes the steps to run the notebook on its internal standard battery.
Disconnect the AC adapter from your notebook and press the power button.
(This picture is for illustration purpose only and may look different from the actual unit)
POINT
- The power level of the battery decreases faster when it is used in cold place.
- The chargeability of the battery decreases after it has been used over a long period of time. If the battery runs down very fast, replace it with a new battery..
Checking the Power Level of the Battery
When the notebook is turned on or when the battery is being charged, the Battery status Indicatorsturns
on with different color to show the power level of the battery.
Different power level of the battery
- OFF
Remaining battery level: 100% – 21% - Red lamp is lit
Remaining battery level: 20% or below - Red lamp flashes
Abnormal battery condition.
POINT
- Due to certain characteristics of battery, the Battery Status Indicators may not correctly show the remaining power of the battery, especially under extreme temperature
conditions. - When the battery is 90% or more charged, it cannot be recharged even if the AC adapter is connected to the notebook. The battery can be recharged when its remaining is 89% or less
Low Battery Condition
The battery level indicator on the status indicator LED
turns red. If it turns red, connect the AC adapter to your notebook immediately to recharge the battery.
POINT
- The use of a weak battery may result in lost of data you are currently working on. When the battery runs low, connect the AC adapter to your notebook as soon as an external power source is available or immediately save the data you are working on, exit all applications and turn off the notebook.
- Accessing data on the storage drive consumes a lot of power. Therefore when the battery is weak, connect an AC adapter to the notebook before accessing data on the storage drive.
- If a battery is weak and there is no system activity, the notebook may go into standby (i.e. suspend) mode. However, if there is system activity, the notebook will go into standby mode only after the system activity has completed its processing.
- When the battery capacity reaches 3%, the notebook goes into standby mode. This is the default setting of the notebook.
NOTE 1:
Battery temperature alarm is to stop charging with battery protection function when temperature of battery pack unit becomes too high or too low due to battery heat or cooling down of the battery.
POWER MANAGEMENT
Your UH-X has many options and features for conserving battery power. Some of these features are automatic and need no user intervention. However, others depend on the parameters you set to best suit your operating conditions, such as those for the display brightness. Internal power managements for your notebook may be controlled from settings made in your operating system, pre-bundled power management application, or from settings made in BIOS setup utility.
Besides the options available for conserving battery power, there are also some things that you can do to prevent your battery from running down as quickly. For example you can create as appropriate power saving profile, put your notebook into Suspend mode when it is not performing as operation, and you can limit the use of high power devices. As with all mobile, battery power computers, there is a trade-off between performance and power savings.
Power/Suspend/Resume Button
When you UH-X is active, the Power/Suspend/Resume button can be used to manually out your notebook into Suspend mode. Push the Power/Suspend/Resume button when your notebook is active, but not actively accessing anything, and immediately release the button. You will hear two short beeps* and your system will enter Suspend mode.
If your UH-X is suspended, pushing the Power/Suspend/Resume button returns your notebook to active operation. You can tell whether the system is Suspended by looking at the Power indicator. If the indicator is visible and not flashing, your notebook is fully operational. If the indicator is visible and flashing, your notebook is in Suspend mode. If the indicator is not visible, the power is off or your notebook is in Hibernation mode. (See Hibernation Feature)
* Only applicable for some models
Suspend Mode
Suspend or Standby mode in Windows saves the contents of your notebook’s system memory during periods of inactivity by maintaining power to critical parts. This mode will turn off the CPU, the display, the storage drive, and all of the other internal components except those necessary to maintain system memory and allow for restarting. Your notebook can be put in Suspend mode by:
- Pressing the Power/Suspend/Resume button when your system is turned on.
- Selecting Standby from the Windows Shut Down menu.
- Timing out from lack of activity.
- Allowing the battery to reach the Dead Battery warning condition.
Your notebook’s system memory typically stores the file on which you are working you are working, open application information, and any other data required to support operation from Suspend mode, your notebook will return to the point where it left off. You must see the Power. Suspend/Resume button to resume operation, and there must be as adequate power source available, or your notebook will not resume.
POINT
- If you are running your UH-X on battery power, be aware that the battery continues to discharge while your notebook is in Suspend mode, though not as fast as when fully operational.
- The main advantage of using the Hibernation (Save-to-Disk) function is that power is not required to maintain your data. This is particularly important if you will be leaving your UH-X notebook in a suspended state for a prolonged period of time. The drawback of using Hibernation mode is that it lengthensthe power down and power up sequences and resets peripheral devices.
Hibernation (Save-To-Disk) Feature
The Hibernation feature saves the contents of your UHX notebook’s system memory to the storage drive as a part of the Suspend/ Resume mode. You can enable or disable this feature.
Enable or Disable the Hibernation Feature Windows 10:
- Visit Control Panel.
- Select “System and Security” and then select “Power Options”
- Select “Change what power button do”, and click “Change settings that are currently unavailable”.
- Under “Shutdown Setting”, select the Hibernate tab. Select the box to enable or disable this feature and click “Save changes” to apply.
Windows Power Management
The Power Options icon located in the Windows Control Panel allows you to configure some of the power management settings. For example, you can use the Power Options to set the timeout values for turning off the display and storage drive whether you are running the notebook on battery power or one of the adapters.
Restarting the System
If your system is on and you need to restart it, be sure that you use the following procedure.
Windows 10
- Click the Windows icon
- Click the Power, and select Restarting from the list.
IMPORTANT
- Turning off your notebook without exiting Windows or turning on your notebook within 10 seconds of the notebook being shut off may cause an error when you start the next time.
Power Off
To ensure that your notebook shuts down without error, use the Windows shut down procedure.
CAUTION
Be sure to close all files, exit all applications, and shut down your operating system prior to turning off the power. If files are open when you turn the power off, you will lose any changes that have not been saved, and may cause storage drive errors.
Using the correct procedure to shut down from Windows allows your notebook to complete its operations and turn off power in the proper sequence to avoid errors.
The proper sequence is:
Windows 10
- Click the Windows icon
- Click the Power, and select Shut down from the list.
If you are going to store your notebook for a month or more see Care and Maintenance Section.
POWER SOURCES
(This picture is for illustration purpose only and may look different from the actual unit)
Connecting the AC Adapter
The AC adapter provides power for operating your notebook and charging the batteries.
Connecting the AC Adapter
- Plug the DC output cable into the DC-in of your notebook.
- Plug the AC adapter into an AC electrical outlet. (Above figure)
The AC adapter provides power for operating your notebook and charging the batteries.
Connecting the AC Adapter
- Plug the DC output cable into the DC-in of your notebook.
- Plug the AC adapter into an AC electrical outlet. (Above figure)
POINT
- The battery is not charged at the point of purchase. Remember to connect an AC adapter to your notebook to charge it when you use it for the first time.
Power on
Power/Suspend/Resume button
You can use the Power/Suspend/Resume button to turn on your notebook. Once you have connected an AC adapter to the notebook or charged the battery, you can power on your notebook.
POINT
When you turn on your notebook, be sure you have a power source connected to it. This means that at least battery is installed and charged or that the AC adapter is connected and has power.
You can press the Power/Suspend/Resume button to turn off the notebook. After you have finished working on the notebook, you can either leave it in Standby (i.e. suspend) mode or turn it off.
CAUTION
Do not carry the notebook around when it is still powered on. Do not subject the notebook to shocks and vibrations. Failure to do so may damage the notebook.
When you power on your notebook, it will perform a Power On Self Test (POST) to check the internal parts and configuration for normal functionality. If an error isfound, your notebook will emit an audio warning and/or show an error message.
After satisfactory completion of the Power On Self Test (POST), your notebook will load your operating system.
Power off
To power off the notebook, always shut down the notebook properly using the Windows shutdown procedure.
CAUTION
Remember to close all files, exit all applications and shut down the operating system prior to turning off the power using the power button. If documents are opened when the notebook is turned off, data may be lost and this may result in storage drive errors.
Remember to use the correct procedure to shut down the notebook. The proper procedure is:
Windows 10
- Click the Windows icon
- Click the Power, and select Shut down from the list.
Warranty Registering for Your UH-X
How do I register?
You can register your UH-X by going to our website: http://www.oidi.com.hk/warranty-registration
Troubleshooting
Your UH-X is sturdy and subject to few problems in the field. However, you may encounter simple setup or operating problems that you can solve on the spot, or problems with peripheral devices, that you can solve by replacing the device. The information in this section helps you isolate and resolve some of these straightforward problems and identify failures that require service.
Identifying the Problem
If you encounter a problem that you are having difficulty in solving, go through the following procedure before pursuing further troubleshooting.
- Turn off your notebook.
- Make sure the AC adapter is plugged into your notebook and to an active AC power source.
- Make sure that any devices connected to the external connectors are plugged in properly. You can also disconnect such devices, thus eliminating them as possible causes of failure.
- Turn on your notebook. Make sure it has been off at least 10 seconds before you turn it on.
- Go through the boot sequence.
POINT
- If you keep notes about what you have tried, your support representative may be able to help you more quickly by giving additional suggestions over the phone.
- Do not return a failed notebook to your supplier until you have talked to a support representative.
Before you place the call, you should have the following information ready so that the customer support representative can provide you with the fastest possible solution:
- Product name
- Product serial number
- Purchase date
- Conditions under which the problem occurred
- Any error messages that have occurred
- Hardware configuration
- Type of device connected, if any
See the Label on the bottom of your notebook for Product name and serial number.
Support is available only in the country/region where the product is sold.



















