P0804459-00 2 In 1 String Trimmer and Edger
User Guide
Quick Start Guide
2 IN 1
STRING TRIMMER & EDGER
P0804459-00 2 In 1 String Trimmer and Edger
Depending on the model purchased, packaging will contain different accessories and parts.
Refer to the package for more details.
KNOW YOUR MACHINE
- Rear handle
- Trigger
- Lock-out button
- Speed button
- Rear handle rotate button
- Upper shaft
- Auxiliary handle
- Coupler
- Lower shaft
- Cut-off blade
- Flower guard
- Trimmer head
- Support wheel
- Guard
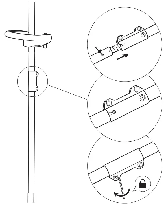
INSTALLATION
Attach the guard
Attach the wheel
Assemble the shaft
Attach the auxiliary handle
Install the battery
OPERATION
Start the machine/Adjust the speed
Operation tips
Change to the edging mode
MAINTENANCE
Install the cutting line


Europe: www.greenworkstools.eu
USA : www.greenworkstools.com
Canada: www.greenworkstools.ca
P0804459-00 Rev B

















