18 Button
Remote Control
user guide
REMOTE CONTROL FUNCTION

NOTE
REMOTE CONTROL REQUIRES (3) AAA SIZE BATTERIES. TO CONSERVE BATTERY LIFE, THEN THE TRANSMITTER TURNS OFF ALL FUNCTIONS WHEN ANY BUTTON IS PRESSED FOR MORE THAN 50 SECONDS.
ZG, Snore, and Memory buttons:
To clear programmed settings and revert back to factory settings, simultaneously press and hold the HEAD DOWN button and FLAT button until an audible sound is heard, then release buttons.
REMOTE CONTROL PROGRAMMING – 1 REMOTE TO OPERATE 1 BASE
STEP 1
Plug base into a power outlet.

STEP 2
Simultaneously press and hold both the HEAD DOWN and FOOT UP buttons on the remote control (FIGURE 1). While holding these buttons, press and hold the LEARN button on the control box (FIGURE 2) or the PAIR button on the in-line switch (FIGURE 3), as equipped. Hold until you hear an audible sound, then release all buttons.
![]() | ![]() |

Note: Your base may be equipped with an in-line switch (pair button) as part of the electrical power cord located near the end of the power cord. This can be used in lieu of the learn button on the control box.
STEP 3
Operate the remote control to verify the base functions correctly.
REMOTE CONTROL PROGRAMMING – 1 OR 2 REMOTES TO OPERATE 2 BASES
STEP 1
Plug both bases into a power outlet. Operate each base with its respective remote control to verify the base functions properly.
Lower both bases to the flat position.
STEP 2
UNPLUG both bases.
STEP 3
Place both bases on their sides close to each other.
CAUTION: DUE TO THE RISK OF INJURY, TWO ADULTS ARE REQUIRED TO HANDLE AND MOVE THE ADJUSTABLE BASES.
STEP 4
Locate the sync cable (FIGURE 4).

STEP 5
Plug one end of the sync cable into the sync port (on the control box) of base 1. Plug the other end of the sync cable into the sync port (on the control box) of base 2 (FIGURE 5).
![]() | ![]() |
STEP 6
Turn both bases over onto their legs.
CAUTION: MAKE SURE THE SYNC CABLE IS NOT CAUGHT IN BASE OR PINCH POINTS.
STEP 7
Plug both bases back into a power outlet.
STEP 8
Operate the remote control(s) to verify both bases function correctly. If using only one remote control to operate both bases, store the second remote for use as a spare.
Note: To revert back to 1-to-1 programming, remove sync cable from control boxes.
POWER DOWN OPERATION
Use this procedure to lower the base to flat during a power outage. Do NOT put batteries in the power down device until necessary for use.
Note: The power down device uses 9-volt alkaline batteries, which are not included.
STEP 1
Insert (2) 9-volt alkaline batteries into the power brick (FIGURE 6).

STEP 2
Press the FLAT BUTTON on the remote control or in-line switch (if equipped) (FIGURE 7) to adjust the base to the level position.

STEP 3
Remove batteries from power brick and discard.
Note: Batteries are good for only one use.
When power is restored from an outage, the base is ready to resume normal operation.
TROU BLESHOOTING
If the adjustable base fails to operate, investigate the symptoms and possible solutions provided in the chart below:
SYMPTOM | SOLUTION |
| No features of the base will activate. |
|
| The remote control backlight does not illuminate. |
|
| The Head or foot section will elevate, but will not return to the horizontal (flat) position. |
|
| Excessive motor noise. |
|
| Remote control synced to multiple bases. |
|
DE-SYNCING YOUR REMOTE – REPROGRAM 1 REMOTE TO 1 BASE
STEP 1
Remove the batteries from the remote control.
STEP 2
Simultaneously press and hold both the HEAD DOWN and FOOT UP buttons on the remote control for 2 minutes (FIGURE 8).
STEP 3
Place batteries back in the remote control.
STEP 4
Simultaneously press and hold both the HEAD DOWN and FOOT UP buttons on the remote control until the backlight on the remote control turns off (FIGURE 8).

STEP 5
Simultaneously press and hold both the HEAD DOWN and FOOT UP buttons on the remote control again (FIGURE 8).
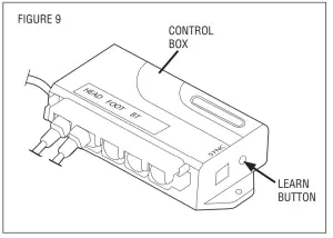
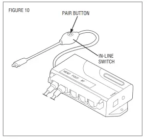
While holding these buttons, press and hold the LEARN button on the control box (FIGURE 9) or the PAIR button on the in-line switch (FIGURE 10), as equipped. Hold until you hear an audible sound, then release all buttons.
![]() | ![]() |
Note: Your base may be equipped with an in-line switch (pair button) (FIGURE 10) as part of the electrical power cord located near the end of the power cord. This can be used in lieu of the learn button on the control box.
ADVISORY
IMPORTANT INFORMATION
READ THE FOLLOWING INFORMATION CAREFULLY BEFORE USING THIS PRODUCT
WARNING
FOR OPTIMUM ADJUSTABLE BASE OPERATION, USE A GROUNDED, ELECTRICAL SURGE PROTECTION DEVICE (NOT INCLUDED). FAILURE TO USE A SURGE PROTECTION DEVICE COULD COMPROMISE SAFETY OR CAUSE PRODUCT MALFUNCTION.
ELECTRICAL RATING
| Input: | 100-240VAC, 50/60Hz, 1.6A. |
| Output: | 29VDC, 1.8A. |
ELECTRICAL GROUNDING
This product is equipped with a polarized or grounded electrical power cord. The power cord will only fit into a grounded, electrical surge protection device (not included) or a grounded electrical outlet.
WARRANTY WARNING
Do not open any control boxes, motors, or remote control devices (with the exception of the remote control and power down box battery compartments). The product warranty will be void if these components are tampered with. Do not attempt to alter component wiring or adjust or modify the structure of the product in any way or the warranty will be void. Any repair or replacement of base parts must be performed by authorized personnel.
LUBRICATION
This product is designed to be maintenance-free. The lift motors are permanently lubricated and sealed—no additional lubrication is required. Do not apply lubricant to lift motor lead screws or any nylon nuts or the base may inadvertently creep down from the elevated position.
LOCATION ENVIRONMENT
The level of sound experienced during operation is directly related to the location environment.
SERVICE REQUIREMENTS
Service technicians are not responsible for moving furniture, removing headboards and footboards, or any items required to perform maintenance on the base. In the event the technician is unable to perform service due to lack of accessibility, the service call will be billed to the purchaser and the service will have to be rescheduled.
PRODUCT RATINGS
The base lift motors are not designed for continuous use.
Reliable operation and full life expectancy will be realized as long as the lift motor operation does not exceed two (2) minutes over a twenty (20) minute period, or approximately 10% duty cycle.
Note: Massage-equipped bases are not designed for continuous, extended massage operation. Massage systems are rated for a maximum of 2 hours of use within any 6 hour period. Any attempt to circumvent or exceed product ratings will shorten the life expectancy of the product and may void the warranty.
The recommended maximum weight (including mattress) is 850 lb (385 kg) distributed evenly across the base. This product is not designed to support or lift this amount in the head or foot sections alone. Note: Exceeding the recommended weight restrictions could damage the base and void the warranty.
For best performance, consumers should enter and exit the adjustable base with the base in the flat (horizontal) position.
Avoid placing the entire weight on the head or foot section of the base, including when in the raised position. DO NOT STAND ON BASE
AT ANY TIME.
UL (Underwriters Laboratories) recognized components.
CFR 1633 approved for use with most mattresses.
SMALL CHILDREN / PETS WARNING
After the base is unboxed, immediately dispose of packaging material as it can smother small children and pets. To avoid injury, children or pets should not be allowed to play under or on the base. Children should not operate this base without adult supervision.
HOSPITAL USE DISCLAIMER
This base is designed for in-home use only. It is not approved for hospital use and does not comply with hospital standards.
Do not use this base with tent-type oxygen therapy equipment, or use near explosive gases. The manufacturer makes no representation or warranty that the adjustable base constitutes a medical device or is suitable for medical or therapeutic use.
PACEMAKER WARNING
This product produces a vibrating sensation. It is possible that individuals with heart-assist pacemakers may experience a sensation similar to exercise. Consult a physician for complete information.
MASSAGE OPERATION
The massage feature will emit a minimal tone during operation.
This is normal. When the massage level is increased, motor resonance will intensify accordingly.
LIFTING/LOWERING MECHANISMS
The lift/lower feature will emit a minimal humming sound during operation. This is normal. If excessive noise or vibration is experienced, reverse the movement action (up or down) of the base with the remote control. This should realign the base’s activating mechanisms to the proper operational position.
FCC COMPLIANCE
The equipment has been tested and found to comply with the limits for a Class B digital device, pursuant to Part 15 of the FCC Rules. These limits are designed to provide reasonable protection against harmful interference when the equipment is operated in a residential environment. This equipment generates, uses, and can radiate radio frequency energy and, if not installed and used in accordance with the instruction manual, may cause harmful interference to radio communications. However, there is no guarantee that interference will not occur in a particular installation. If this equipment does cause harmful interference to radio or television reception, which can be determined by turning the equipment off and on, the user is encouraged to try to correct the interference by one or more of the following measures:
- Reorient or relocate the receiving antenna.
- Increase the separation between the equipment and receiver.
- Connect the equipment into an outlet on a circuit different from that to which the receiver is connected.
- Consult the dealer or an experienced radio/TV technician for help.
This device complies with Part 15 of the FCC rules.
Operation is subject to the following conditions:
- This device may not cause harmful interference, and
- this device must accept any interference received, including interference that may cause undesired operation.
FCC Caution: Any changes or modifications not expressly approved by the party responsible for compliance could void the user’s authority to operate this equipment.
Radio Frequency = 2.4GHz.
CUSTOMER SERVICE toll free: (800) 888-3078
SERVICIO AL CLIENTE sin costo: (800) 888-3078
SERVICE À LA CLIENTÈLE sans frais : (877) 452-2665
292-0034-C EDR 16029 4/21
© 2021 Leggett & Platt, Inc.
Adjustable Bed Group

























