anGELS HORn HP-H002 Turntable Hi-Fi System

Introduction
Thank you for purchasing this AngelsHorn Turntable Hi-fi System. Read through this user manual before using the product to ensure its correct use. This instruction manual contains important information about safety, usage, and disposal. Use the product as described and keep this manual for future reference. This product can be used only in countries where the product is sold. Make sure that the operating voltage and the plug of AC the adapter of the product are correct for the country you live in.
Package contents
Make sure that you have all the included items listed below before using this product. If some items are missing or damaged, please contact our official customer service email: [email protected]


- Adaptor with the US-plug-end
- Cartridge Alignment Protractor
- Counterweight
- Instruction Manual
- Turntable Belt
- Anti-skating Weight
After purchase, we suggest that you save all packaging materials for possible future storage, moving, or shipping. This turntable is supplied with a factory-fitted and adjusted cartridge. The following instructions for adjusting the cartridge are provided in case the cartridge is replaced by a different model at a later date.
Precautions Before Use
Keep these instructions in mind
- Do not use in wet or moist areas such as bathrooms, steamy kitchens or near swimming pools.
- Do not cover or block any venlaon openings. When placing the device on a shelf, leave 5 cm (2”) free space around the whole device.
- Install in accordance with the supplied user manual.
- 4.*Don’t step on or pinch the power adaptor. Be very careful, particularly near the plugs and the cable’s exit point. Do not place heavy items on the power adaptor, which may damage it. Keep the entire device out of children’s reach! When playing with the power cable, they can seriously injure themselves.
- Unplug this device during lightning storms or when unused for a long period.
- Keep the device away from heat sources such as radiators, heaters, stoves, candles and other heat-generating products or naked flame.
- Avoid using the device near strong magnetic fields.
- Electrostatic discharge can disturb the normal usage of this device. If so, simply reset and restart the device following the instruction manual. During file transmis sion, please handle with care and operate in a stay free environment.
- Warning! Never insert an object into the product through the vents or openings. High voltage flows through the product and inserting an object can cause electric shock and/or short circuit internal parts. For the same reason, do not spill water or liquid on the product.
- Although this device is manufactured with the utmost care and checked several times before leaving the factory, it is still possible that problems may occur, as with all electrical appliances. If you notice smoke, an excessive build-up of heat or any other unexpected phenomena, you should disconnect the plug from the mains power socket immediately.
- This device must operate on a power source as specified on the specification label. If you are not sure of the type of power supply used in your home, consult your dealer or local power company.
- The socket-outlet must be installed near the equipment and must be easily accessible.
- Do not overload ac outlets or extension cords. Overloading can cause fire or electric shock.
Keep these instructions in mind - Devices with class 1 construction should be connected to a mains socket outlet with a protective earthed connection.
- Devices with class 2 construction do not require an earthed connection.
- Keep away from rodents. Rodents enjoy bing on power cords.
- Always hold the plug when pulling it out of the mains supply socket. Do not pull the power cord. This can cause a short circuit.
- Avoid placing the device on any surfaces that may be subject to vibrations or shocks.
- To clean the device, use a so dry cloth. Do not use solvents or petrol-based fluids. To remove severe stains, you may use a damp cloth with diluted detergent.
- The supplier is not responsible for damage or lost data caused by malfunction, misuse, modification of the device or battery replacement.
- Do not interrupt the connection when the device is forming or transferring files. Otherwise, data may be corrupted or lost.
- To completely disconnect the power input, the mains plug of the apparatus shall be disconnected from the mains, as the disconnect device is the mains plug of apparatus.
- The apparatus can only be used in moderate extremely cold or climates warm environments should be avoided.
- The rang label has been marked on the boom or back panel of the apparatus.
- This device is not intended for use by people (including children) with physical, sensory or mental disabilities, or a lack of experience and knowledge unless they’re under supervision or have received instructions about the correct use of the device by the person who is responsible for their safety.
- This product is intended for non-professional use only and not for commercial or industrial use.
- Make sure the unit is adjusted to a stable position. Damage caused by using this product in an unstable position or by failure to follow any other warning or precaution contained within this user manual will not be covered by warranty.
- Never remove the casing of this apparatus.
- Never place this apparatus on other electrical equipment.
- Do not use or store this product in a place where it is subject to direct sunlight, heat, excessive dust or vibration.
- Do not allow children access to plastic bags.
- Only use attachments/accessories specified by the manufacturer.
- Refer all servicing to qualified service personnel. Servicing is required when the apparatus has been damaged in any way, such as the power supply cord or the plug, when the liquid has been spilled or objects have fallen into the apparatus, when the apparatus has been exposed to rain or moisture, does not operate normally, or has been dropped.
- Do not use a damaged power cord or plug or a loose outlet. Doing so may result in fire or electric shock.
- Prolonged exposure to loud sounds from personal music players may lead to temporary or permanent hearing loss.
CAUTION
Usage of controls or adjustments or performance of procedures other than those specified herein may result in hazardous radiation exposure. This unit should not be adjusted or repaired by anyone except qualified service personnel.
Product Description
Part names and functions
- Counterweight
- Anti-Skating Stub
- Turntable Platter
- Tonearm Lift Lever
- Tonearm Rest
- Tonearm
- Cartridge
- 33/45 Selector
- Lid
- Lid Hinge
- Ground Connector
- PHONO & Line Out Jacks
- PHONO & Line Out Switch
- Anti-Skating Weight
- Power Rocker Switch
- AC-DC Power Jack
Technical Specifications


Installation
- Unpack all parts and remove protective material.
- Do not connect the unit to the mains before checking the mains voltage and before all other connections have been made.
- Those instructions are related only to products using power cable or AC power adaptor.
1-Installing the Lid
Install the Lid carefully over the hinge prongs
2-Turntable platter and belt setup
- Insert the sub-platter into the turntable spindle located in the middle of the turntable.
- Loop the drive belt around the sub-platter and motor pulley.
- Carefully place the main platter onto the sub-platter (Figure 1).
- Place the slip mat on top of the platter (Figure 2)

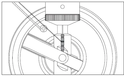
Cartridge tracking force adjustment
The counterweight supplied is suitable for cartridges weighing between 3.0-6.0g
- Gently push and turn the Counterweight onto the rear of the tonearm (with the scale facing toward the front of the turntable).
- Remove the cartridge protection cap.
- Lower the tonearm lift and position the cartridge in the space between tonearm rest and platter.

Carefully rotate the Counterweight until the tonearm balances out. The tonearm should return to the balanced position if it is moved up or down. This adjustment must be done carefully.
Once the tonearm is correctly balanced return it to its’ rest. Hold the Counterweight without moving it, and gently rotate the Down force Scale ring until the zero is in line with black line on the rear of the tonearm. Check whether the arm still balances out. 
- Rotate the counterweight counter clockwise (seen from the front) to adjust the down force according to the cartridge manufacturer’s recommendations.One mark on the scale represents 0.05g of down force.
Note: The recommended down force for the factory fitted cartridge is 3.5±0.5g.
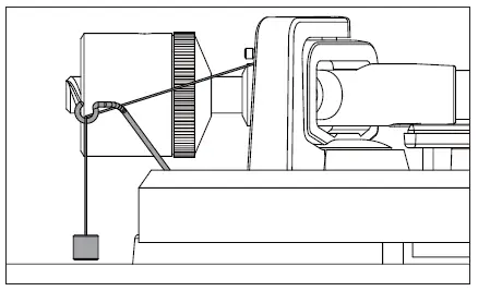
Anti-skating force adjustment
The anti-skating force must be adjusted corresponding to the tracking force as follows:
- Slip the loop of the anti-skating weight’s thread over the 3rd groove of the stub to set the correct anti-skating force for the factory-fitted cartridge.

- Feed the thread through the loop of the wire support.

Connection to the Amplifier
This turntable uses a moving magnetic cartridge. Set the PHONO & Line Out Switch on PHONO mode. Connect the phono out cables to the phono input on your amplifier of the pre-ampli-fier (phono stage). Line inputs such as CD, Tuner, Tape, or Video are not suitable for phono inputs. Make sure the amplification of the selected input matches the type of cartridge being used.
The factory-installed cartridge is 47k ohms/MM-input.
NOTE: If your amplifier does not have an input suitable for phono cartridges, you will need to purchase a separate phono amplifier for moving magnetic cartridges. This separate phono amplifier will then connect between your turntable and your amplifier.
Stereo System Connection
Set the PHONO & Line Out Switch on LINE mode. The RCA PHONO & Line Out Jacks output analog line-level signals and could be connected directly with a par of active/powered speakers of the appropriate input of your stereo system. The Red plug connects with the Right channel and the White plug connects with the Left channel.
NOTE: The RCA Jacks are not designed to be connected directly to the passive/unpowered speakers on LINE mode. If connected to the passive speakers, there is no sound
Main Power Connection
The power adaptor is in the foam packing material. Unpack the power adaptor and plug the small end into the DC power jack located at the back side of the turntable. Plug the power adaptor into your power outlet.
Operation
Turntable Operation
- Connect the included power adapter to the unit and press the power rocker switch to be “ON” position.
- Remove the needle cover from the cartridge.

- Place the slipmat on the platter and place a record on the slipmat. If using 45 RPM records, but the 45 RPM adapter on the center spindle before placing the record on the platter.
- Set the 33/45 RPM Selector according to the type of record.
- Unlock the arm clip and set the Lift Lever to the up position.
- Position the tonearm over the desired location (groove) on the record. The platter will begin spinning.
- Move the tonearm lift lever to the down position to move the tonearm toward the record. Alternatively, place the needle over the desired location on the record.
- Carefully lower the tonearm on the record.
- When you are finished playing the record, raise the tonearm, return it to rest on the arm clip.
Maintenance and Cleaning
Your turntable requires little of no regular maintenance. Remove dust with a slightly damp antistatic cloth. Never use a dry cloth, this will create static electricity and attract more dust! Antistatic cleaning agents are available at specialist stores, but must be applied sparingly to avoid damage to rubber parts. It is recommended to install the needle cover before cleaning or maintenance is carried out to avoid damage. If the turntable is not used over a long period of time, the drive belt should be removed to prevent unequal stretching.
NOTE: If your amplifier does not have an input suitable for phono cartridges, you will need to purchase a separate phono amplifier for moving magnetic cartridges. This separate phono amplifier will then connect between your turntable and your amplifier.
Useful Tips:
The turntable should be positioned on a low-resonance surface such as wood or multiple layer ply board to avoid structural vibrations disturbing playback.
Cartridge Replacement
- Before replacement, put the stylus protector back on the stylus to prevent damage to the stylus during the replacement process.
- Carefully remove the wire leads from the original cartridge.
- Loosen the two screws on the headshell that are securing the cartridge and then remove the original cartridge.
- Mount the new cartridge to the headshell and tighten it lightly. Do not completely tighten the screws at this moment.
- Connect the wire leads to the new cartridge’s terminals. The wire lead color codes are as below:
- White Left channel positive (L+)
- Black Left channel negative (L–)
- Red Right channel positive (R+)
- Black Right channel negative (R-)
- Adjust the cartridge’s position to make sure it is precisely aligned on the headshell so that the stylus will be tracking the grooves in parallel perfectly. To achieve this, place the included paper cartridge alignment protractor over theturntable spindle, carefully lift the tone arm and place the tip of the stylus on the points marked 130mm and 250mm respectively. Fine tune the cartridge’s position on the headshell until the cartridge is perfectly in parallel with the reference lines at both points.
- Tighten the screws completely once the perfect alignment is achieved.
If you are unfamiliar or uncomfortable with completing this procedure, we recommend consulting with a professional to perform the installation.
Troubleshooting
Potential Incorrect Use and Fault Conditions:
These turntables are manufactured to the highest standards and undergo strict quality controls before leaving the factory. Faults that may possibly occur are not necessarily due to material or production faults but can sometimes be caused by incorrect use or unfortunate circumstances. Therefore the following list of common fault symptoms is included.
Angels Horn Corporation
- 44 W JEFRYN BLVD, SUITE V, DEER PARK, NY,11729 U.S.A
- Email: [email protected]
- Website:www.angelshorn.com
- ©2019 Angels Horn Corporation






















